Запчасти Case IH WD1203 (09.03[1]) - DRAPER LINKAGE (09) - HEADER LIFT LINKAGE

Схема запчастей Case IH WD1203 - (09.03[1]) - DRAPER LINKAGE (09) - HEADER LIFT LINKAGE
14
27
12.01
09.04
22
23
21
8
15
20
2
12
24
25
4
22
28
26
5
13
3
7
16
10
18
19
6
26
1
11
29
9
09.01(2)
17
FIT
1:1
100%

Артикул

Название

Примечание

Количество

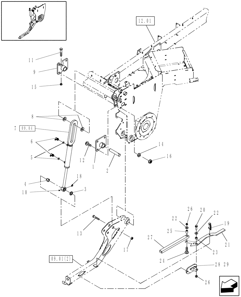
1

87052976

PLATE ASSY.

2шт.

2

87044412

HEADLESS PIN

2шт.

3

87044432

SPACER

2шт.

4

87044431

SPACER

2шт.

5

705914

ORIFICE

2шт.

6

218-5105

ELBOW,90 Degree Elbow, 9/16" - 18 Male JIC x 9/16" - 18 Male ORB

Includes: O-Ring p/n 9617873

4шт.

237-6006

O-RING,0.078" Thk x 0.468" ID, -906, Cl 6, 90 Duro

4шт.

7

87052733

CYLINDER ASSY.

Cut Height

2шт.

8

191823

WASHER

8шт.

9

87052974

PLATE ASSY.

2шт.

10

219-93

LUBE NIPPLE,90 Degree Elbow, 1/4" - 28 NPTF

2шт.

11

413-540

BOLT,Hex, 5/16" - 18 x 2-1/2", Gr 5

2шт.

12

86521619

BOLT,Hex, 5/8" - 11 x 1 1/2", Gr 5

16шт.

13

86631897

BOLT

Cap, HH, G5, 1-1/8"-7 x 5"

2шт.

14

140048

BELLEVILLE WASHER,M16 Bolt Size x 32mm OD x 2.8mm Thk

16шт.

15

232-4145

LOCK NUT,5/16"-18, GC

2шт.

16

86521608

FLANGE NUT,Flg, 5/8"-11, G5

16шт.

17

86538215

NUT,1 1/8"-7, GB

2шт.

18

87415

LUBE NIPPLE,90 Degree, 1/4" NPT x 3/4" L, Drive

2шт.

19

86837801

PIN,7.93mm OD x 44.45mm L

2шт.

20

280523

BOLT,Hex, 3/8" - 16 x 1 1/4", Gr 5

2шт.

21

87569777

HANDLE

2шт.

22

9827956

WASHER,10.3mm ID x 25.4mm OD x 2.67mm Thk

4шт.

23

646056

SPACER,13/32” ID x .750” OD x .338” Tk.

2шт.

24

86508775

CARRIAGE BOLT,Sq Nk, 3/8" - 16 x 1 3/4", Gr 5

2шт.

25

87042679

SPACER

2шт.

26

86521606

FLANGE NUT,Hex, 3/8" - 16, Gr 5

4шт.

27

87011324

LOCK PIN

2шт.

28

87011329

PLATE ASSY.

Left Hand

1шт.

29

87034769

PLATE ASSY.

Right Hand

1шт.

Выбрано товаров: 30