Качественные детали и логистика
Оригинальные и аналоговые запчасти с доставкой по России, Казахстану и Беларуси
©2022 PartSell ООО "Система" ИНН 2463123282 ОГРН 1212400004838
Центральный офис: г. Красноярск, Академика Киренского, д.87, пом.4
Телефон: 8 (800) 777-65-74 Email: zakaz@partsell.ru
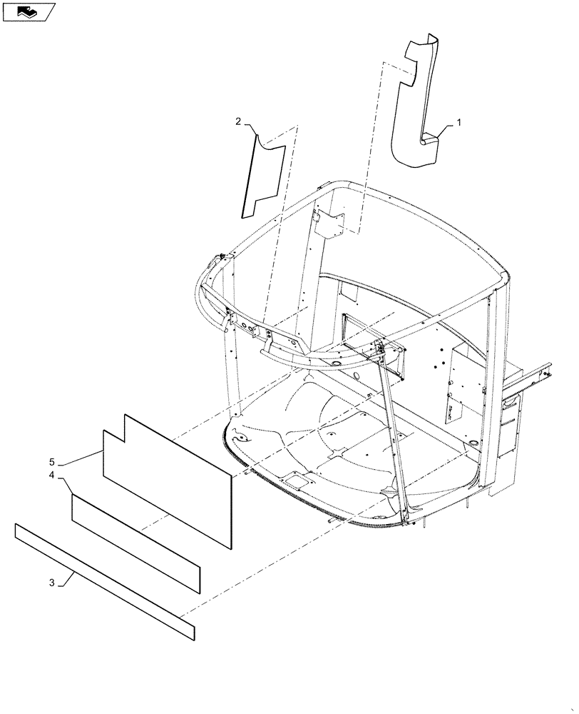
(90.105.CU) - NOISE PROTECTION, CAB
№
Артикул
Название
Примечание
Количество
1
84349402
LINING
RH Rear Upper
1шт.
2
84331706
RH Rear Lower
3
84329304
Lower Rear Bottom Strip
4
84329303
Rear Middle
5
84329302
Rear Upper
Выбрано товаров: 0