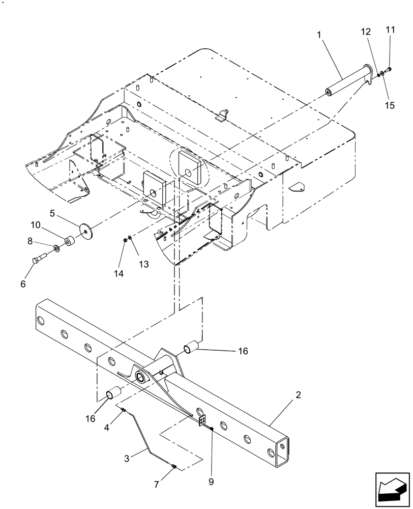
Запчасти Case IH WD1203 (27.550.AV) - REAR AXLE ASSY (27) - REAR AXLE SYSTEM

Схема запчастей Case IH WD1203 - (27.550.AV) - REAR AXLE ASSY (27) - REAR AXLE SYSTEM
7
16
10
11
9
6
4
3
1
14
16
13
15
2
12
8
5
FIT
1:1
100%

Артикул

Название

Примечание

Количество

1

84274597

SHAFT

1шт.

2

86595968

AXLE

1шт.

3

86596659

TUBE,4.76 mm OD x 335, 163.2 mm L

Grease Line

1шт.

4

11787

FITTING,3/8"-24 Fem x 1/8" NPT

1шт.

5

86502976

WASHER

1шт.

6

87337

BOLT,Hex, 3/4" - 10 x 3", Gr 5

Apply Loctite 277

1шт.

7

646429

HYD CONNECTOR

1шт.

8

322359

BELLEVILLE WASHER,M20 Bolt Size x 40mm OD x 3.2mm Thk

1шт.

9

80717

LUBE NIPPLE,45 Degree, 1/8" NPT x 7/8" lg

1шт.

10

84276867

SPACER

1шт.

11

280523

BOLT,Hex, 3/8" - 16 x 1 1/4", Gr 5

1шт.

12

694371

SPACER,9.77mm ID x 15.87mm OD x 5.03mm Thk

2шт.

13

140045

BELLEVILLE WASHER,M10 Bolt Size x 22mm OD x 1.6mm Thk

1шт.

14

86521609

FLANGE NUT,Flg, 3/8"-16

1шт.

15

80702

WASHER,0.44" ID x 1" OD x 0.08" Thk

1шт.

16

87650300

BUSHING,44.68mm ID x 50.93mm OD x 63.5mm L

2шт.

Выбрано товаров: 16