Запчасти Case IH WD1204 (88.100.58[09]) - DIA KIT, HEADER QUICK LATCH (88) - ACCESSORIES

Схема запчастей Case IH WD1204 - (88.100.58[09]) - DIA KIT, HEADER QUICK LATCH (88) - ACCESSORIES
4
3
8
10
2
9
10
home
6
12
11
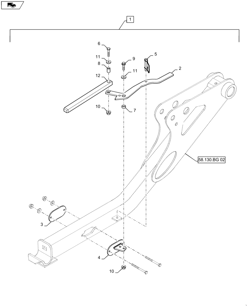
1
11
5
7
FIT
1:1
100%

Артикул

Название

Примечание

Количество

1

87560864

KIT

DIA, Header Quick Latch, Incl 2 - 12

1шт.

2

87569777

HANDLE

2шт.

3

87034769

PLATE ASSY.

RH

1шт.

4

87011329

PLATE ASSY.

LH

1шт.

5

86837801

PIN,7.93mm OD x 44.45mm L

2шт.

6

87042679

SPACER

2шт.

7

646056

SPACER,13/32” ID x .750” OD x .338” Tk.

2шт.

8

9706689

BOLT,Hex, 3/8" - 16 x 1 3/4", Gr 5

2шт.

9

280523

BOLT,Hex, 3/8" - 16 x 1 1/4", Gr 5

2шт.

10

86521609

FLANGE NUT,Flg, 3/8"-16

4шт.

11

9827956

WASHER,10.3mm ID x 25.4mm OD x 2.67mm Thk

4шт.

12

87011324

LOCK PIN

2шт.

Выбрано товаров: 12