Запчасти Case IH WD1204 (90.105.CU) - NOISE PROTECTION, CAB (90) - PLATFORM, CAB, BODYWORK AND DECALS

Схема запчастей Case IH WD1204 - (90.105.CU) - NOISE PROTECTION, CAB (90) - PLATFORM, CAB, BODYWORK AND DECALS
1
2
3
5
4
FIT
1:1
100%

Артикул

Название

Примечание

Количество

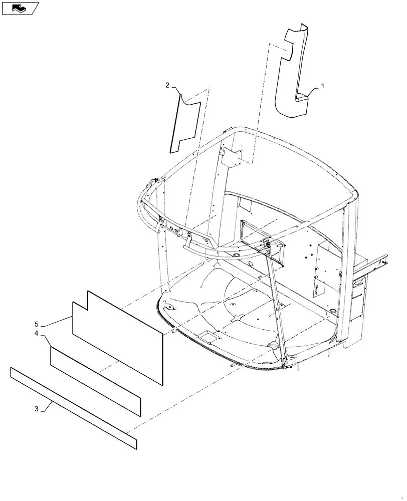
1

84349402

LINING

RH Rear Upper

1шт.

2

84331706

LINING

RH Rear Lower

1шт.

3

84329304

LINING

Lower Rear Bottom Strip

1шт.

4

84329303

LINING

Rear Middle

1шт.

5

47539386

LINING

Rear Upper

1шт.

Выбрано товаров: 5