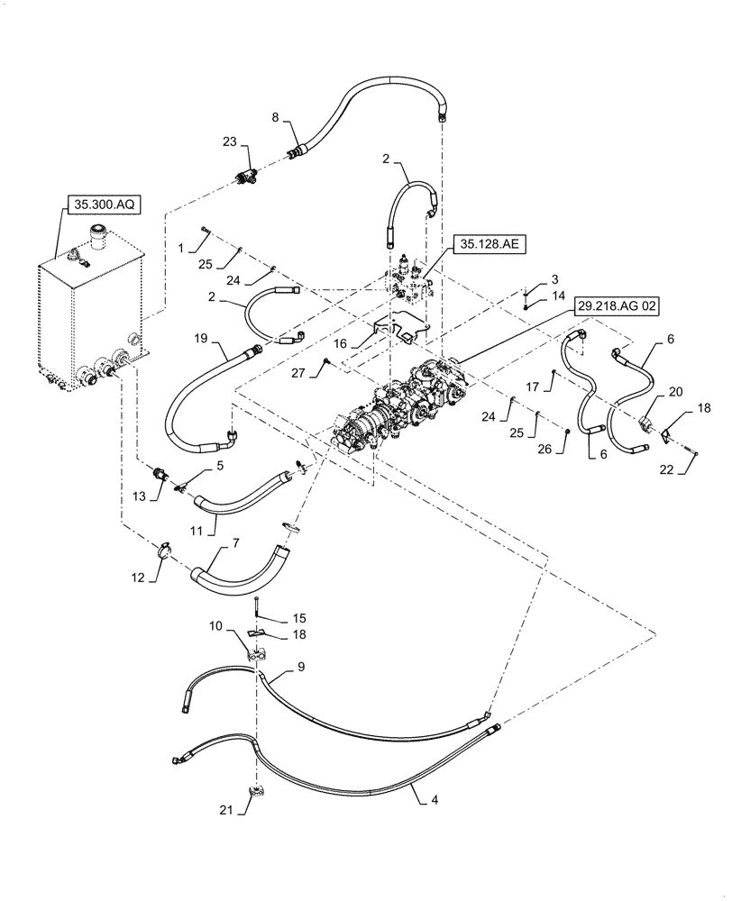
Запчасти Case IH WD1504 (35.105.AC[02]) - HYDRAULIC NON-DRAPER, CHARGE CIRCUIT, 4 CYLINDER, ASN YGG677501 (35) - HYDRAULIC SYSTEMS

Схема запчастей Case IH WD1504 - (35.105.AC[02]) - HYDRAULIC NON-DRAPER, CHARGE CIRCUIT, 4 CYLINDER, ASN YGG677501 (35) - HYDRAULIC SYSTEMS
35.128.ae
2
2
24
1
14
26
25
15
20
27
17
19
18
6
23
6
24
7
18
25
13
12
5
9
3
16
11
10
8
22
4
21
35.300.aq
29.218.ag 02
FIT
1:1
100%

Артикул

Название

Примечание

Количество

1

88044

BOLT,Hex, 3/8" - 16 x 1-1/2", Gr 5

2шт.

2

47571022

HYDRAULIC HOSE

Charge Manifold

2шт.

3

322358

BELLEVILLE WASHER,M8 Bolt Size x 18mm OD x 1.4mm Thk

2шт.

4

47475255

HYDRAULIC HOSE

1шт.

5

86536660

HOSE CLAMP,25mm - 44mm

2шт.

6

47566289

HYDRAULIC HOSE

Prop Cylinder And AutoGuidance

2шт.

7

47983075

HYDRAULIC HOSE

Suction

1шт.

8

47434640

HYDRAULIC HOSE

Ground Drive

1шт.

9

84597016

HYDRAULIC HOSE

RH Lift Pump

1шт.

10

2186769

CLAMP

1шт.

11

47983063

HYDRAULIC HOSE

Suction

1шт.

12

86050202

HOSE CLAMP,1.59” - 2.5”, Worm Gear

2шт.

13

47503592

FITTING

1шт.

14

120103

BOLT,M8 x 1.25 x 16mm, Cl 8.8

4шт.

15

86507008

BOLT,Hex, 5/16" - 18 x 3 1/2", Gr 5

1шт.

16

84602640

BRACKET

1шт.

17

86521605

FLANGE NUT,5/16"-18, Cl 5

1шт.

18

87000230

PLATE

Cover

2шт.

19

47435160

HYDRAULIC HOSE

In Charge Manifold Non-Draper

1шт.

20

6560407

CLAMP,2 Hole, 18mm ID

1шт.

21

87705202

CLAMP,12.7mm OD Tube x 12.7mm OD Tube

1шт.

22

88346

BOLT,Hex, 5/16" - 18 x 2 1/2", Gr 5

1шт.

23

86624131

TEE,37 Degree, 1 1/16"-12, 1 5/16"-12 O-Ring Run, 1 1/16"-12

1шт.

24

80702

WASHER,0.44" ID x 1" OD x 0.08" Thk

3шт.

25

140045

BELLEVILLE WASHER,M10 Bolt Size x 22mm OD x 1.6mm Thk

3шт.

26

86521606

FLANGE NUT,Hex, 3/8" - 16, Gr 5

1шт.

27

88682

CARRIAGE BOLT,Short Nk, 3/8"-16 x 1", Gr 5

1шт.

Выбрано товаров: 27