Запчасти Case IH WD1504 (90.124.AE[03]) - SEAT, KITS (90) - PLATFORM, CAB, BODYWORK AND DECALS

Схема запчастей Case IH WD1504 - (90.124.AE[03]) - SEAT, KITS (90) - PLATFORM, CAB, BODYWORK AND DECALS
7
13
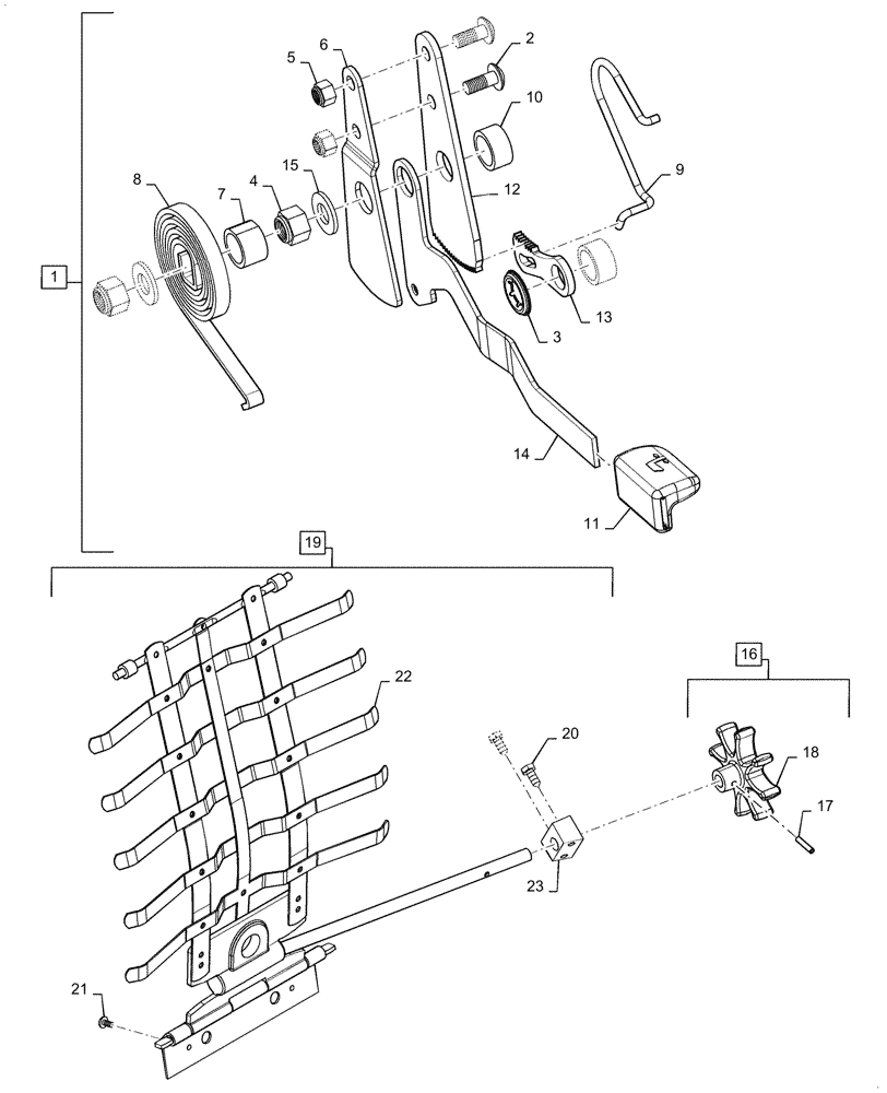
1
10
21
6
18
20
15
23
3
8
4
12
2
9
22
5
11
19
14
17
16
FIT
1:1
100%

Артикул

Название

Примечание

Количество

1

86994165

SEAT ACCESSORY

Kit, Incl 2 - 15

1шт.

2

NSS

NOT SOLD SEPARAT

M8 x 1.25 x 20 Torx Drive

2шт.

3

NSS

NOT SOLD SEPARAT

Pushnut Fastner

1шт.

4

NSS

NOT SOLD SEPARAT

Locknut, Nylon M12 x 1.75

2шт.

5

NSS

NOT SOLD SEPARAT

Locknut, Nylon M8 x 1.25

2шт.

6

NSS

NOT SOLD SEPARAT

Cover

1шт.

7

NSS

NOT SOLD SEPARAT

Spacer

1шт.

8

NSS

NOT SOLD SEPARAT

Spring, Back Tilt

1шт.

9

NSS

NOT SOLD SEPARAT

Spring, Release Lever

1шт.

10

NSS

NOT SOLD SEPARAT

Spacer

2шт.

11

NSS

NOT SOLD SEPARAT

Knob, Recliner

1шт.

12

NSS

NOT SOLD SEPARAT

Sector, Recliner

1шт.

13

NSS

NOT SOLD SEPARAT

Latch, Recliner

1шт.

14

NSS

NOT SOLD SEPARAT

WMNT, Reliner, Lever

1шт.

15

NSS

NOT SOLD SEPARAT

Flat Washer, 531 ID x 1.062 OD x 0.16 THK

2шт.

16

87037462

SEAT BACK ADJUST DEV

Kit, Incl 17, 18

1шт.

17

NSS

NOT SOLD SEPARAT

Roll Pin, 1/8 x 5/8

1шт.

18

NSS

NOT SOLD SEPARAT

Lumbar Knob

1шт.

19

87308130

SEAT BACK ADJUST DEV

Kit, Incl 20 - 23

1шт.

20

NSS

NOT SOLD SEPARAT

#10 x .38 Hex Head Flange

2шт.

21

NSS

NOT SOLD SEPARAT

.125 Pop Rivet

2шт.

22

NSS

NOT SOLD SEPARAT

Back Support

1шт.

23

NSS

NOT SOLD SEPARAT

Lumbar Yoke Shaft

1шт.

Выбрано товаров: 23