Запчасти Case IH WDX1101 (018) - FNR HANDLE (33) - BRAKES & CONTROLS

Схема запчастей Case IH WDX1101 - (018) - FNR HANDLE (33) - BRAKES & CONTROLS
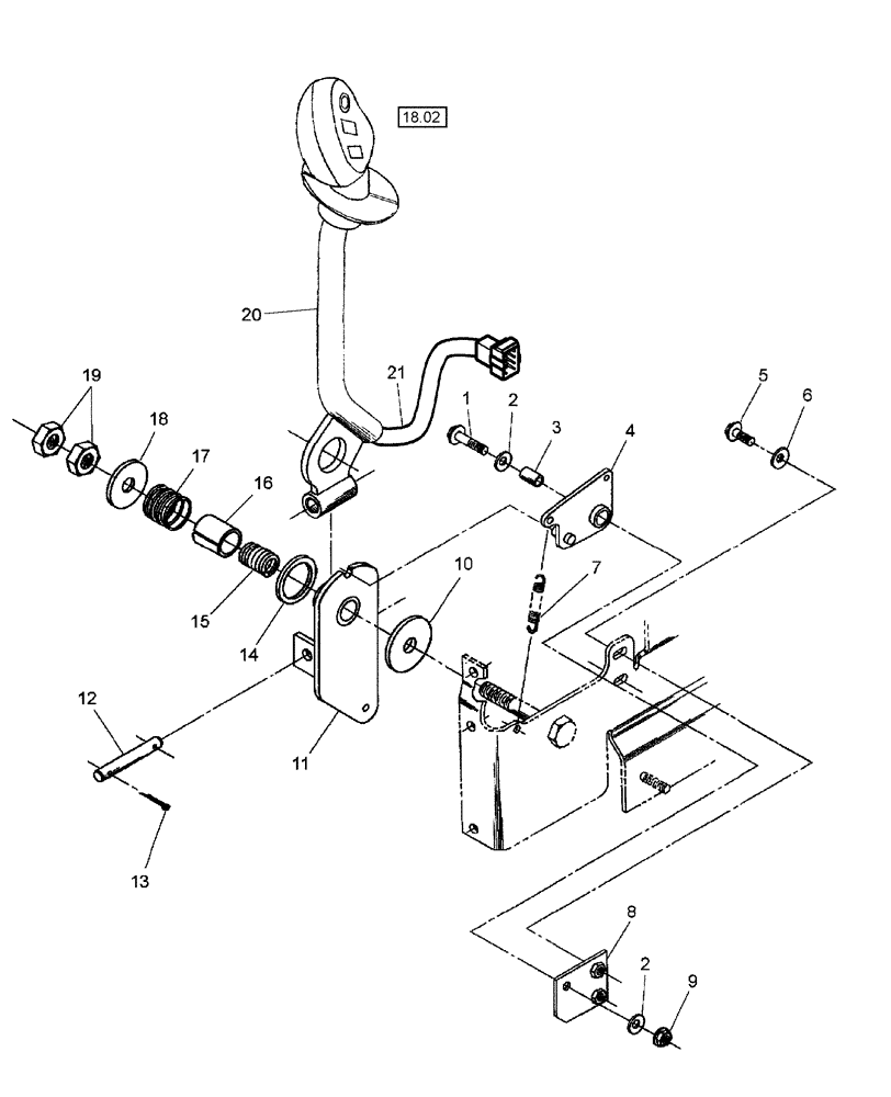
21
9
4
5
16
19
2
8
11
1
15
12
18
14
7
17
13
10
3
2
20
6
FIT
1:1
100%

Артикул

Название

Примечание

Количество

1

413-624

BOLT,Hex, 3/8" - 16 x 1-1/2", Gr 5

1шт.

2

495-21044

WASHER,3/8"

2шт.

3

36335

BUSHING

3/8" ID x 1/2" OD

1шт.

4

86544472

PIVOT

1шт.

5

458-512

BOLT,Hex, 5/16" - 18 x 3/4", Gr 5

2шт.

6

322358

BELLEVILLE WASHER,M8 Bolt Size x 18mm OD x 1.4mm Thk

2шт.

7

12255

SPRING

3шт.

8

86544470

PLATE

1шт.

9

232-4146

NUT,3/8"-16, GC

1шт.

10

144134

DISC

Friction, 5/8" ID x 2-9/32" OD

1шт.

11

86544484

PIVOT

1шт.

12

86541526

PIN

1/2" O.D. x 3-5/32" Long

1шт.

13

432-812

COTTER PIN,3/4" OAL x 1/8" W

2шт.

14

136065

WASHER

3-5/16"

1шт.

15

46841

SPRING

1-9/16" Long

1шт.

16

86544467

SPACER

1-1/8" ID x 1-1/4" OD x 1-3/8" Long

1шт.

17

48176

SPRING

1-27/32" Long

1шт.

18

495-21019

WASHER,#8

5/8"

1шт.

19

425-1410

JAM NUT,Jam, 5/8"-11, G5

2шт.

20

86624523

LEVER ASSY.

FNR

1шт.

21

86618787

WIRE HARNESS

FNR Handle

1шт.

Выбрано товаров: 21