Запчасти Case IH WDX1701 (016) - CONSOLE RH (90) - PLATFORM, CAB, BODYWORK AND DECALS

Схема запчастей Case IH WDX1701 - (016) - CONSOLE RH (90) - PLATFORM, CAB, BODYWORK AND DECALS
9
4
7
10
13
17
10
30
1
21
10
31
9
14
2
22
17
7
6
29
27
20
26
23
8
9
11
24
3
5
28
11
11
17
18
12
11
22
29
19
16
18
15
8
8
25
11
FIT
1:1
100%

Артикул

Название

Примечание

Количество

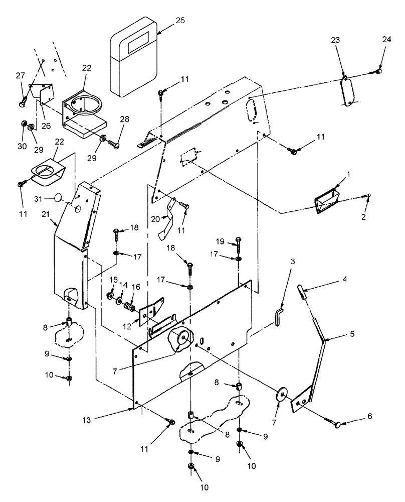
1

249546

ASH TRAY

1шт.

2

280154

SELF-TAP SCREW,Cross Rd Hd, #6 x 1/2"

2шт.

3

617215

MOLDING

6 Ft. Length, Serial Range: Cut-Fit

1шт.

4

9842393

HANDLE GRIP

1шт.

5

86534321

LEVER

1шт.

6

433-848

CARRIAGE BOLT,Sq Nk, 1/2" - 13 x 3", Gr 5

1шт.

7

144134

DISC

Friction

2шт.

8

86620629

SPACER

4шт.

9

322358

BELLEVILLE WASHER,M8 Bolt Size x 18mm OD x 1.4mm Thk

3шт.

10

425-285

FLANGE NUT,Flg, 5/16"-18, G5

3шт.

11

570821

SELF-TAP SCREW,Hex Flng, 5/16" - 18 x 5/8"

Flg, USR, 5/16"-18 x 5/8"

11шт.

12

9820618

CONNECTING LINK

1шт.

13

86545473

PANEL

Front

1шт.

14

495-21056

WASHER,1/2"

1шт.

15

231-5348

FLANGE NUT,Flg, 1/2"-13

1шт.

16

46841

SPRING

1шт.

17

495-21038

WASHER,5/16"

4шт.

18

413-524

BOLT,Hex, 5/16" - 18 x 1-1/2", Gr 5

2шт.

19

413-532

BOLT,Hex, 5/16" - 18 x 2", Gr 5

1шт.

20

86581834

BRACKET

1шт.

21

86545471

SPARE PART

1шт.

22

86620959

HOLDER

Cup

1шт.

23

9822350

COVER

1шт.

24

273890

THUMB SCREW,#10 - 32 x 3/4"

2шт.

25

86595866

BOX

Manual

1шт.

26

86624233

BRACKET

Cup Holder

1шт.

27

275-5478

SELF-TAP SCREW,Hex Hd, 1/4" x 1/2"

3шт.

28

840-1416

SCREW,Pan, M4 x 16mm, Cl 4.8

4шт.

29

322355

BELLEVILLE WASHER,M4 Bolt Size x 10mm OD x 0.9mm Thk

8шт.

30

825-1404

NUT,M4, Cl 8

4шт.

31

86625129

PLUG,Dome, 1" Hole, Nylon

1шт.

Выбрано товаров: 31