Запчасти Case IH WDX1701 (017) - CONSOLE (90) - PLATFORM, CAB, BODYWORK AND DECALS

Схема запчастей Case IH WDX1701 - (017) - CONSOLE (90) - PLATFORM, CAB, BODYWORK AND DECALS
2
36
13
9
21
32
4
14
5
2
18
5
22
2
3
15
10
22
28
24
19
33
6
2
20
26
27
7
34
2
33
1
15
8
29
30
2
17
11
15
7
6
6
7
35
5
12
5
31
2
16
7
13
FIT
1:1
100%

Артикул

Название

Примечание

Количество

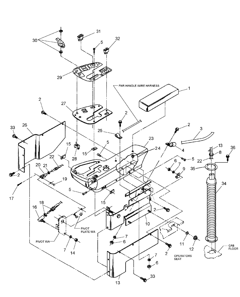
1

86544267

ARMREST

1шт.

2

458-412

BOLT,Hex, 1/4" - 20 x 3/4", Gr 5

9шт.

3

86626487

WIRE HARNESS

Console

1шт.

4

9706732

CLAMP,19mm ID, 8.7mm Bolt Hole, P Type

1шт.

5

143-106

SCREW,Cross Rec Flat Hd, 1/4" - 20 x 3/4"

7шт.

6

425-104

NUT,1/4"-20, Cl 5

3шт.

7

492-11025

LOCK WASHER,1/4"

4шт.

8

263117

CABLE TIE,292.1mm L, Nylon, Black

CABLE STRAP

1шт.

9

237980

WIRE CLAMP,11.11mm, Coat, 7.14mm Bolt Hole, P Type

7/16" x 1/4" Bolt

1шт.

10

86551045

SUPPORT

1шт.

11

140045

BELLEVILLE WASHER,M10 Bolt Size x 22mm OD x 1.6mm Thk

2шт.

12

425-286

FLANGE NUT,Flg, 3/8"-16, G5

2шт.

13

86618070

SHIELD

LH

1шт.

14

425-114

NUT,1/4"-28, G5

1шт.

15

639083

NUT

Speed, 1/4"-20

6шт.

16

103557

BALL JOINT

1шт.

17

432-48

COTTER PIN,1/16" x 1/2"

1шт.

18

86544469

FLEXIBLE CABLE

Push/Pull, Includes: Nut, Servo Control, 84" Long

1шт.

19

27-3058

CLEVIS PIN,3/16" x .580"

1шт.

20

213-113

ADJUSTABLE CLEVIS,#10-32

Yoke, Adjusting End

1шт.

21

225-14210

NUT,#10-32

1шт.

22

86544468

FLEXIBLE CABLE

Neutral Lock, 72" Long

1шт.

23

86618075

CONSOLE

Top

1шт.

24

425-285

FLANGE NUT,Flg, 5/16"-18, G5

2шт.

25

515-23143

CLAMP,9/16", Insul, 3/8" Bolt

1шт.

26

86618072

SHIELD

RH

1шт.

27

86544500

PLATE

Switch

1шт.

28

86536110

TOGGLE SWITCH

1шт.

29

86546217

DECAL

Switch Plate

1шт.

30

9845112

COVER

Guard, Switch PTO, Includes: Nut & Washer

1шт.

31

445632

SWITCH

Rocker DPDT

1шт.

32

682360

SWITCH

Rocker

1шт.

33

458-48

BOLT,Hex, 1/4" - 20 x 1/2", Gr 5

2шт.

34

86624308

BOOT

1шт.

35

86629731

BASE PLATE

1шт.

36

86627785

SELF-TAP SCREW

HH, #10-16 x 1-1/2"

3шт.

Выбрано товаров: 36