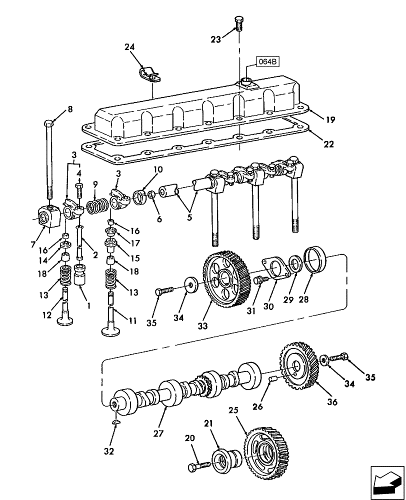
Запчасти Case IH WDX1701 (065) - ENGINE, CAMSHAFT, ROCKER ARM, VALVES & RELATED PARTS (10) - ENGINE

Схема запчастей Case IH WDX1701 - (065) - ENGINE, CAMSHAFT, ROCKER ARM, VALVES & RELATED PARTS (10) - ENGINE
32
15
2
1
7
34
35
13
22
28
12
24
35
16
34
6
18
25
31
27
11
20
21
36
4
3
3
18
13
14
9
19
33
30
26
5
17
29
10
23
16
8
FIT
1:1
100%

Артикул

Название

Примечание

Количество

1

E4HN6500AA

TAPPET

Valve

12шт.

2

81877890

ROD

Push

12шт.

3

83956710

ROCKER ARM

Intake

6шт.

3

81804316

ROCKER ARM

Exhaust

6шт.

4

87801302

ADJUSTMENT SCREW

Adjusting, Rocker Arm, 7/16"-20 x 1-3/16"

12шт.

5

D5NN6563A

SHAFT,OAL 32-1/2"

Rocker Arm

1шт.

6

83417040

PLUG

Cup, .755

2шт.

7

83903589

SUPPORT

Rocker Arm Shaft

7шт.

8

87801690

BOLT,Cyl Hd, 9/16" - 12 x 203.50mm

Cap, Flg Hd, G8, 9/16"-12 x 8"

7шт.

9

81804341

SPRING

6шт.

10

81818731

SPACER

(6) required-optional

1шт.

1.010", 1.004" (25.654, 25.502mm) ID - .445", 435" (11.303, 11.049mm) Long - .156" (3.962mm) Wall

1шт.

10

82953789

SPACER

(6) required-optional

1шт.

Same dimensions as 81818731 Spacer, but split

1шт.

11

87802147

STD EXHAUST VALVE

STD ENGINE EXHAUST VALVE Standard

6шт.

11

82850521

VALVE, EXHAUST, OVER

.015" (.38mm) O/S

1шт.

11

82850522

VALVE, EXHAUST, OVER

.030" (.76mm) O/S

1шт.

12

82850530

STD INLET VALVE

STD ENGINE INLET VALVE Standard

6шт.

12

82850528

OVERSIZE INLET VALVE

STD ENGINE INLET VALVE .38mm O/S

1шт.

12

82850529

OVERSIZE INLET VALVE

.030" (.76mm) O/S

1шт.

13

83999742

SPRING

Valve

12шт.

14

83958102

COTTERS PLATE

Intake

6шт.

15

83952336

RETAINER

Exhaust

6шт.

16

81876796

KEY

Spring Retainer

24шт.

17

83952337

SLEEVE

Valve Spring Retainer, Exhaust

6шт.

18

87840154

SEAL

Valve Stem

12шт.

19

87800922

COVER

Valve

1шт.

20

82852337

BOLT,Hex, 5/8" - 11 x 2 1/4", Gr 8

Cap, HH, G8, 5/8"-11 x 2-1/4", Drive Gear Adapter

1шт.

21

87800624

ADAPTER

Camshaft Drive Gear

1шт.

22

E5HN6584AD

GASKET

Valve Cover

1шт.

23

83949109

BOLT,Flng, 5/16" x 5/8", Gr 5

Flange, 5/16"-18 x 5/8"

14шт.

24

F0NN14N202AB

CLIP

Harness

2шт.

25

E9HN6A253AB

GEAR

Camshaft Drive

1шт.

26

81877662

DOWEL

Camshaft Gear

1шт.

27

87802140

CAMSHAFT BEARING

1шт.

28

87800499

CAMSHAFT BEARING

Camshaft

7шт.

29

81804020

SPACER

Camshaft Gear

1шт.

30

83957730

PLATE

Camshaft Thrust

1шт.

31

86500692

BOLT,Hex, 3/8" - 16 x 3/4", Gr 8, Full Thd

2шт.

32

126-16

WOODRUFF KEY,#9, 3/16" x 3/4"

1шт.

33

83995066

GEAR

Camshaft

1шт.

34

81804024

WASHER

Camshaft Gear

2шт.

35

413-720

BOLT,Hex, 7/16" - 14 x 1-1/4", Gr 5

2шт.

36

87802906

GEAR

Hydraulic Pump Drive Includes: Ref. 37

1шт.

Выбрано товаров: 44