Запчасти Case IH WDX901 (105) - ENGINE, OIL PUMP & OIL PAN (10) - ENGINE

Схема запчастей Case IH WDX901 - (105) - ENGINE, OIL PUMP & OIL PAN (10) - ENGINE
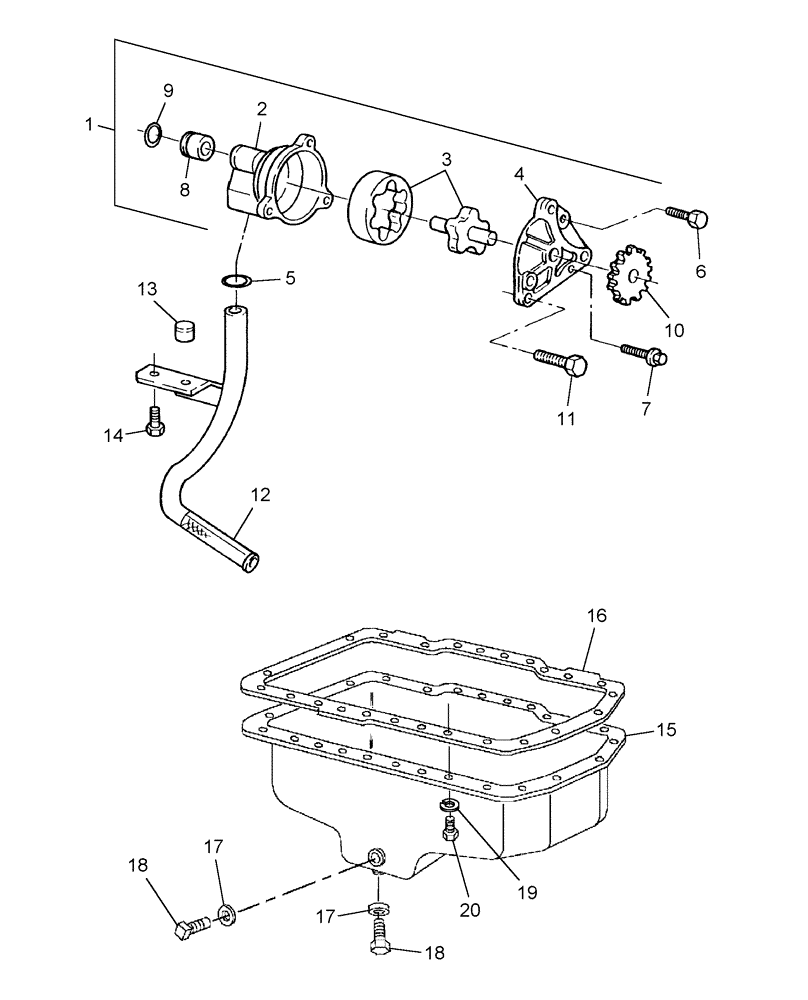
1
10
18
5
3
15
17
14
16
13
19
11
17
2
7
9
12
20
18
6
4
8
FIT
1:1
100%

Артикул

Название

Примечание

Количество

1

81868537

ENGINE OIL PUMP

1шт.

81868537R

REMAN-ENG OIL PUMP

WDX901 CASE IH SELF PROPELLED WINDROWER TRACTOR (12/01-11/04)

1шт.

81868537C

CORE-ENGINE OIL PUMP

Return Number

1шт.

2

NSS

NOT SOLD SEPARAT

Body

1шт.

3

83999692

SHAFT

& Rotor Assy.

1шт.

4

83999691

COVER

1шт.

5

14463481

O-RING,1.109" ID x 0.139" Width

1.35" I.D. x .135"

1шт.

6

81868721

SCREW

Button Hd., M8 x 1-1/4"

1шт.

7

81868718

SCREW

Hex, M8 x 1-1/4"

2шт.

8

83999696

SLEEVE

Outlet

1шт.

9

14463081

O-RING,0.859" ID x 0.139" Width

1шт.

10

83999693

GEAR

Oil Pump Drive

1шт.

11

413-520

BOLT,Hex, 5/16" - 18 x 1-1/4", Gr 5

3шт.

12

83980619

TUBE

& Tube

1шт.

13

217-436

PLUG,Hex Soc, 3/8" - 18 NPTF

1шт.

14

413-612

BOLT,Hex, 3/8" - 16 x 3/4", Gr 5

1шт.

15

87840431

ENGINE OIL PAN

1шт.

16

89832923

OIL PAN GASKET SET,2.79mm Thk

1шт.

17

82853724

OIL PAN GASKET SET

Drain Plug

1шт.

18

82854702

PLUG

Oil Drain

1шт.

19

492-11038

LOCK WASHER,3/8"

24шт.

20

413-620

BOLT,Hex, 3/8" - 16 x 1-1/4", Gr 5

24шт.

Выбрано товаров: 22