Запчасти Case IH WDX901 (026) - REAR FRAME WORKLAMPS (55) - ELECTRICAL SYSTEMS

Схема запчастей Case IH WDX901 - (026) - REAR FRAME WORKLAMPS (55) - ELECTRICAL SYSTEMS
13
12
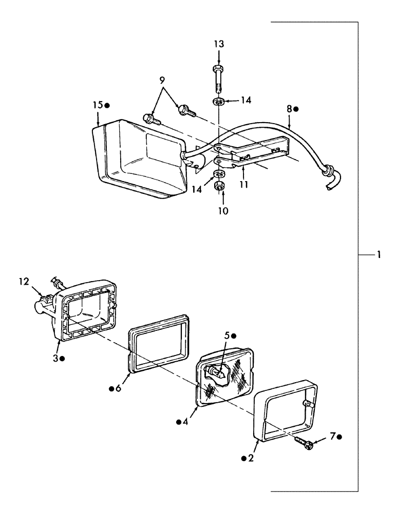
1
14
11
8
4
5
9
14
15
6
7
3
10
2
FIT
1:1
100%

Артикул

Название

Примечание

Количество

1

9820966

LAMP

RH

1шт.

1

9820965

LAMP

LH

1шт.

2

1864827

RIM

WHEEL Bezel

1шт.

3

NSS

NOT SOLD SEPARAT

Housing

1шт.

4

1864836

LENS

1шт.

5

NSS

NOT SOLD SEPARAT

Bulb

1шт.

6

1864808

GASKET

1шт.

7

1864804

SCREW

2шт.

8

1868930

HARNESS

1шт.

9

458-512

BOLT,Hex, 5/16" - 18 x 3/4", Gr 5

2шт.

10

825-1408

NUT,M8, Cl 8

1шт.

11

1864861

BRACKET

1шт.

12

1864854

CLAMP

1шт.

13

814-8050

BOLT,Hex, M8 x 1.25 x 50mm, Cl 8.8

1шт.

14

492-11031

LOCK WASHER,5/16"

2шт.

15

1868925

LAMP

Work, LH

1шт.

15

1868590

LAMP

Work, RH

1шт.

Выбрано товаров: 17