Запчасти Case IH WDX1202S (05.01) - REAR AXLE (05) - REAR AXLE

Схема запчастей Case IH WDX1202S - (05.01) - REAR AXLE (05) - REAR AXLE
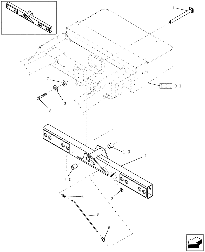
4
10
8
9
1
12.01
10
7
6
2
5
3
FIT
1:1
100%

Артикул

Название

Примечание

Количество

1

87031554

SHAFT ASSY.

1шт.

2

219-36

LUBE NIPPLE,45 Degree Elbow, 1/8" - 27 NPTF

1шт.

3

322359

BELLEVILLE WASHER,M20 Bolt Size x 40mm OD x 3.2mm Thk

1шт.

4

86626614

AXLE

1шт.

5

86596659

TUBE,4.76 mm OD x 335, 163.2 mm L

1шт.

6

11787

FITTING,3/8"-24 Fem x 1/8" NPT

Includes: 13362 Sleeve & 13367 Nut

1шт.

7

86502976

WASHER

.78" ID x 3.75" OD x .25"

1шт.

8

84172532

LOCK BOLT

1шт.

9

646429

HYD CONNECTOR

1шт.

10

86631543

BUSHING

2шт.

Выбрано товаров: 10