Запчасти Case IH WDX1902 (10.12[4]) - AIR CONDITIONER CONTROL, ATC (10) - OPERATORS PLATFORM/CAB

Схема запчастей Case IH WDX1902 - (10.12[4]) - AIR CONDITIONER CONTROL, ATC (10) - OPERATORS PLATFORM/CAB
6
5
9
4
10
2
7
1
3
8
FIT
1:1
100%

Артикул

Название

Примечание

Количество

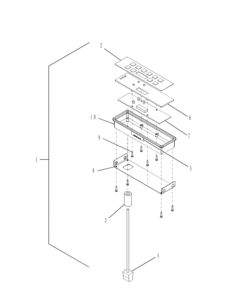
1

87042413

CONTROL PANEL

Controller

1шт.

2

NSS

NOT SOLD SEPARAT

Keypad

1шт.

3

87350106

FILTER

Ferrite

1шт.

4

87053991

WIRE HARNESS

1шт.

5

NSS

NOT SOLD SEPARAT

Label

1шт.

6

NSS

NOT SOLD SEPARAT

Panel, Light Pipe

1шт.

7

NSS

NOT SOLD SEPARAT

Panel, PCB

1шт.

8

NSS

NOT SOLD SEPARAT

Plate, Back

1шт.

9

PL

PROCURE LOCALLY

Screw, Phillips Hd, 5/16"

8шт.

10

NSS

NOT SOLD SEPARAT

Box, Control

1шт.

Выбрано товаров: 10