Запчасти Case IH 1150 (104) - FUEL TANK, DIESEL ENGINE (10) - ENGINE

Схема запчастей Case IH 1150 - (104) - FUEL TANK, DIESEL ENGINE (10) - ENGINE
FIT
1:1
100%

Артикул

Название

Примечание

Количество

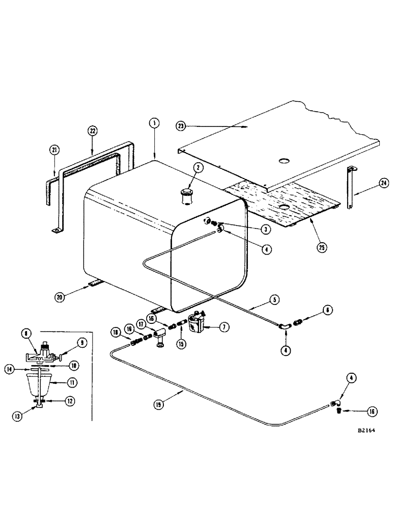
1

FH750604

TANK - fuel

1шт.

2

FHO45088

CAP

1шт.

3

221-52

BUSHING,Hex, 3/8" x 1/8" NPT

- 3/8" x 1/8" NPTF

1шт.

4

FHO46011

ELBOW - 1/4" O.D. x 1/8" P.T.

3шт.

5

FH292938

LINE - return

1шт.

6

222-13

FITTING,1/2"-20 Inv Fl x 1/8" NPT Fem

COUPLING - 5/16" O.D. x 1/8" NPTF 66FL

1шт.

7

A30049

STRAINER ELEMENT

STRAINER - fuel

1шт.

8

A11214

HEAD

1шт.

9

A11205

VALVE

- needle

1шт.

10

A11211

FILTER SCREEN

SCREEN

1шт.

11

A11209

BOWL

- glass

1шт.

12

A11210

ADJUSTER

CUP AND NUT

1шт.

13

A11212

BAIL

1шт.

14

A11208

GASKET

1шт.

15

221-101

PIPE,Nipple, 1/8" NPT x 3/4"

NIPPLE - pipe 1/8" P.T. x 3/4" close type

1шт.

16

221-51

SUN VISOR,Hex, 1/4" x 1/8" NPT

BUSHING - reducing pipe 1/4" x 1/8" NPTF

3шт.

17

A23865

PUMP

- hand primer

1шт.

18

FHO46029

X

UNION - 1/4" O.D. x 1/8" P.T. half union

1шт.

19

FH293043

X

LINE - fuel

1шт.

20

FHO44396

LINER

2шт.

21

FHO45856

LINER

2шт.

22

FH291427

STRAP

2шт.

23

FH291781

COVER

1шт.

24

FH293035

STRAP

1шт.

25

FH293050

SUPPORT

1шт.

Выбрано товаров: 25