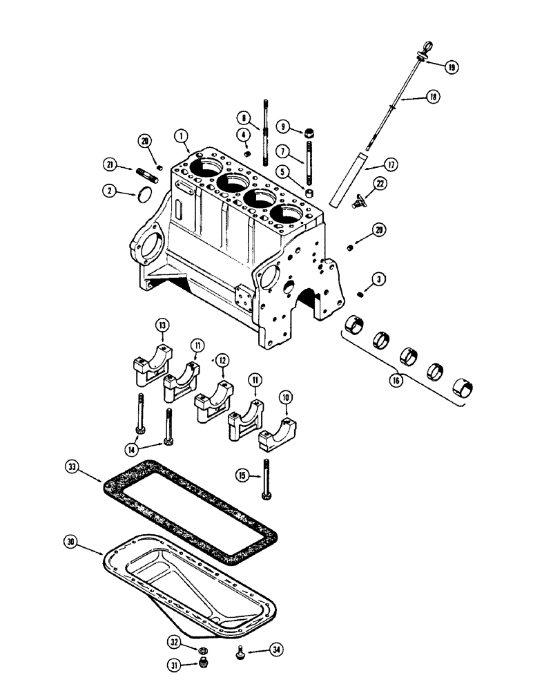
Запчасти Case IH 1150 (120) - CYLINDER BLOCK ASSY, 188 DIESEL ENGINE, FOR WIDE FLANGED SLEEVES, USED ENG. S.N. 2610997 THRU 261482 (10) - ENGINE

Схема запчастей Case IH 1150 - (120) - CYLINDER BLOCK ASSY, 188 DIESEL ENGINE, FOR WIDE FLANGED SLEEVES, USED ENG. S.N. 2610997 THRU 261482 (10) - ENGINE
FIT
1:1
100%

Артикул

Название

Примечание

Количество

NS

NOT SERVICED

BLOCK ASSY. - short (Casting no. A37770) Order A40817 from page 118 (Includes stripped block, crankshaft and brgs., camshaft & gear, piston, sleeves, conn. rods and oil pump assy.)

1шт.

1

NS

NOT SERVICED

BLOCK ASSY. - (Casting no. A37770) Order A40818 from page 118

1шт.

2

A39241

PLUG,Exp, 2.12" dia

- camshaft opening (2-1/8" dia.)

1шт.

3

G49070

PLUG

- drilled, oil gallery

1шт.

4

221-32

PLUG,Sq Soc, 3/8"-18 NPTF

- heater plug opening (3/8" P.T. sckt. hd.)

1шт.

5

G49608

RING

DOWEL -, Serial Range: head-block

2шт.

7

A36904

STUD

- head to block (1/2" N.C. x 4")

4шт.

7

A36902

STUD

- head to block (1/2" N.C. x 5-5/8")

11шт.

7

A36905

STUD

- head to block (1/2" N.C. x 6")

2шт.

8

A36903

STUD

- head and cover

2шт.

9

A37030

FLANGE NUT

- head stud (1/2" N.C. flanged)

19шт.

10

G2126

CAP

- front crankshaft brg.

1шт.

11

G2128

CAP

- intermediate crankshaft brg.

2шт.

12

G2127

CAP

- center crankshaft brg.

1шт.

13

G2129

CAP

- rear crankshaft brg.

1шт.

14

G49078

BOLT - bearing cap (1/2 x 4-1/2" N.C. spec.)

8шт.

15

G49077

BOLT

- front brg. cap (1/2 x 5-1/8" N.C. spec.)

2шт.

16

A41232

KIT

BUSHING SET - camshaft (Pre-sized)

1шт.

17

A37149

TUBE

- oil filler & dipstick

1шт.

18

A37148

DIPSTICK

- oil level

1шт.

19

F62075

O-RING,0.139" Thk x 0.734" ID, -210, Cl 5, 75 Duro

"O" RING - dipstick seal (3/4 x 1 x 1/8")

2шт.

20

217-433

PLUG,Hex Soc, 1/4" - 18 NPTF

Oil gallery Hex Soc, 1/4"-18 NPTF

2шт.

21

A29365

STUD - engine mounting (5/8" N.C. x 2-1/2")

2шт.

22

217-103

COCK, DRAIN

COCK - drain, cyl. block (1/4" P.T.)

1шт.

30

A36717

PAN

ASSY. - oil OIL PAN

1шт.

31

A14280

PLUG

- drain OIL PAN

1шт.

32

A27927

OIL PAN GASKET SET

- drain plug (3/4 x 1 x 1/16" copper) OIL PAN

1шт.

33

NSS

NOT SOLD SEPARAT

GASKET - oil pan (Order A40712 from page 130) OIL PAN

1шт.

34

193-514

SCREW,SEMS, Hex Hd, 5/16"-18 x 3/4"

BOLT ASSY. - oil pan

18шт.

Выбрано товаров: 29