Запчасти Case IH 1150 (050[A]) - LIGHTING ATTACHMENT (55) - ELECTRICAL SYSTEMS

Схема запчастей Case IH 1150 - (050[A]) - LIGHTING ATTACHMENT (55) - ELECTRICAL SYSTEMS
FIT
1:1
100%

Артикул

Название

Примечание

Количество

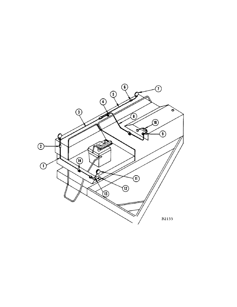
1

FH720102

WIRE - (70" black) L.H. head lamp to tail lamp wire

1шт.

2

FHO41681

CONNECTOR - (3 way) Wire

3шт.

3

FH720722

WIRE - (55" orange) 3 way connector to L.H. head lamp

1шт.

4

FH237131

CLIP - for FH720730 wire

2шт.

5

FHO41749

WIRE - (44" green) R.H. head lamp to 3 way connector

1шт.

6

FHO41145

CONNECTOR - (2 way) Wire

2шт.

7

FHO41624

LAMP - head

2шт.

A24572

LAMP

- sealed unit

1шт.

BOLT - 3/8" x 1-1/2" N.C. hex. (113-209) Nut (129-103) and L.W. (192-21)

2шт.

8

FH720730

WIRE - (76" yellow) Lamp, Serial Range: wires-switch

1шт.

9

FHO41137

SWITCH

- light

1шт.

10

FH720243

WIRE - (7-1/4") Light switch - amm. (Includes SFE10 fuse)

1шт.

11

FH720292

LAMP - (K-D #859-12) Combination flood and tail

1шт.

12

A8170

SOCKET

- electrical outlet

1шт.

SCREW - #10-24 x 1/2" rhd. mach. (173-212) Nut (129-17) and L.W. (192-18)

2шт.

13

FH720748

WIRE - (16" red) Tail lamp to L.H. head lamp wire

1шт.

14

FHO41152

CLIP - wire

3шт.

A8179

SOCKET

BRACKET - used only for A11066M warning lamp attachment as desired

1шт.

BOLT - 5/16" x 3/4" rhd. sq. nk. (111-202) Nut (129-102) and L.W. (192-20)

2шт.

FH315978

MOUNTING

1шт.

Выбрано товаров: 20