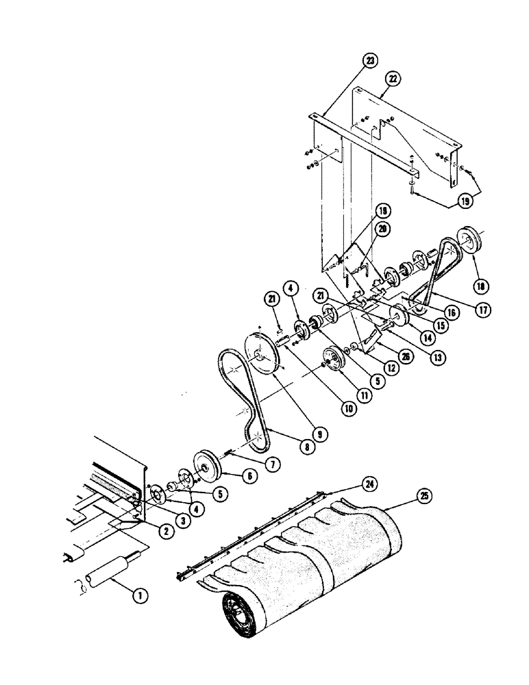
Запчасти Case IH 1255 (135C) - DOUBLE WINDROW ATTACHMENT 14 FT. (CONTD), DRAPER AND DRIVE (58) - ATTACHMENTS/HEADERS

Схема запчастей Case IH 1255 - (135C) - DOUBLE WINDROW ATTACHMENT 14 FT. (CONTD), DRAPER AND DRIVE (58) - ATTACHMENTS/HEADERS
FIT
1:1
100%

Артикул

Название

Примечание

Количество

1

F36220

JAM NUT

ROLLER - drive (Less bearing FHO50377)

1шт.

2

11-512

SCREW,Short Nk, 5/16" - 18 x 3/4", Gr 2

BOLT, CARRIAGE, Short NK, 5/16"-18 x 3/4", G2

3шт.

3

13-412

BOLT,Hex, 1/4" - 20 x 3/4", Gr 5, Full Thd

7шт.

4

FHO50567

FLANGE

6шт.

5

3074CSA

BALL BEARING

3шт.

6

F36232

SHEAVE

1шт.

7

O2227CH

KEY

- straight, 1/4" x 1/4" x 1-3/4"

1шт.

8

F36221

BELT

1шт.

9

F36231

SHEAVE

1шт.

10

F36245

JACKSHAFT

1шт.

11

F36215

FRONT IDLER

IDLER

1шт.

12

FH159657

SPACER

1шт.

13

11-836

BOLT

- carriage, 1/2" x 2-1/4" N.C.

1шт.

14

F36000

SHEAVE

1шт.

15

11-512

SCREW,Short Nk, 5/16" - 18 x 3/4", Gr 2

BOLT, CARRIAGE, Short NK, 5/16"-18 x 3/4", G2

6шт.

16

83-56

SET SCREW,Hex Soc, 5/16"-18 x 3/8"

SCREW - socket, head 5/16" x 3/8"

1шт.

17

F36216

JAM NUT

V-BELT

1шт.

18

F36224

JAM NUT

SHEAVE

1шт.

19

13-616

BOLT,Hex, 3/8" - 16 x 1", Gr 5, Full Thd

6шт.

20

11-616

CARRIAGE BOLT,Short NK, 3/8"-16 x 1", G2

BOLT, CARRIAGE, Short NK, 3/8"-16 x 1", G2

2шт.

21

X3295

X

KEY - straight, 1/4" x 1/4" x 1"

2шт.

22

F36080

SUPPORT - rear jackshaft

1шт.

23

F36225

SUPPORT - front jackshaft

1шт.

24

F36357

COUPLER

1шт.

25

F36235

DRAPER - (With coupler F36357)

1шт.

26

F36716

SUPPORT - jackshaft

1шт.

Выбрано товаров: 26