Запчасти Case IH 201 (A-042[A]) - WIRING DIAGRAM, DIESEL (55) - ELECTRICAL SYSTEMS

Схема запчастей Case IH 201 - (A-042[A]) - WIRING DIAGRAM, DIESEL (55) - ELECTRICAL SYSTEMS
FIT
1:1
100%

Артикул

Название

Примечание

Количество

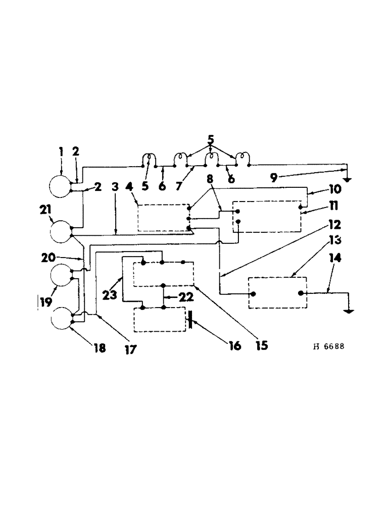
1

INDICATOR, glow plug (refer to "glow plug indicator")

1шт.

2

614117R12

CABLE, glow plug indicator to glow plug switch & glow plugs

2шт.

3

614118R11

CABLE, glow plug, Serial Range: switch-starter

1шт.

4

105327H

SWITCH

starter solenoid

1шт.

BOLT W/NUT, 1/4 x 5/8" mach

2шт.

LK-WASHER, 1/4"

2шт.

5

710348R1

GLOW PLUG

PLUG, engine glow

4шт.

3047624R1

NUT

plug terminal

1шт.

710474R1

ISOLATOR

INSULATOR, glow plug

4шт.

6

708127R2

ELECTRICAL WIRE

WIRE, 1 to 2 & 3 to 4 glow plug connecting

2шт.

7

708128R2

ELECTRICAL WIRE

WIRE, 2 to 3 glow plug connecting

1шт.

8

614119R11

CABLE, solenoid, Serial Range: switch-starter

1шт.

9

3065070R1

ELECTRICAL WIRE

CABLE, glow, Serial Range: plug-ground

1шт.

10

614725R11

CABLE, Serial Range: started-solenoid

1шт.

11

STARTER (refer to "starting motor")

1шт.

12

614726R11

CABLE, battery to starter solenoid

1шт.

13

262139D

BATTERY, dry-charged prestolite (12V)

1шт.

14

613496R91

CABLE

, Serial Range: battery-ground

1шт.

BOLT W/NUT, 3/8 x 3/4" cd-pltd mach

1шт.

LK-WASHER, 3/8" cd-pltd

1шт.

15

REGULATOR, Serial Range: (refer-"regulator")

1шт.

16

GENERATOR, Serial Range: (refer-"generator")

1шт.

17

618881R11

CABLE, ammeter to regulator "B" terminal

1шт.

18

AMMETER ("instrument panel")

1шт.

19

SWITCH, shut-off (refer to "key switch")

1шт.

20

618878R11

CABLE, glow plug, Serial Range: switch-ammeter

1шт.

21

SWITCH, glow ("glow plug switch")

1шт.

22

1914185

CABLE, generator to regulator (delco remy)

1шт.

23

1917571

CABLE, generator to regulator (delco remy)

1шт.

Выбрано товаров: 29