Запчасти Case IH 201 (A-042) - WIRING DIAGRAM, CARBURETED, NOT WISCONSIN ENGINE (55) - ELECTRICAL SYSTEMS

Схема запчастей Case IH 201 - (A-042) - WIRING DIAGRAM, CARBURETED, NOT WISCONSIN ENGINE (55) - ELECTRICAL SYSTEMS
FIT
1:1
100%

Артикул

Название

Примечание

Количество

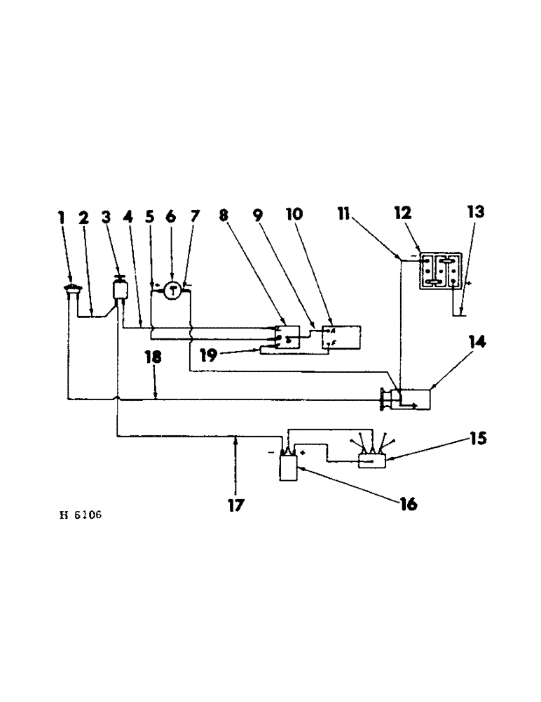
1

BUTTON, starter ("instrument panel")

1шт.

2

618877R11

CABLE, starter button to ignition switch

1шт.

3

SWITCH, ignition ("instrument panel")

1шт.

4

612316R11

CABLE, switch to regulator L terminal

1шт.

5

612316R11

CABLE, ammeter to regulator B terminal

1шт.

6

AMMETER ("instrument panel")

1шт.

7

618885R11

CABLE, Serial Range: ammeter-solenoid

1шт.

8

REGULATOR, voltage ("voltage regulator")

1шт.

9

272404R91

CABLE, regulator "G" to "A" terminal

1шт.

10

GENERATOR, Serial Range: (refer-"generator")

1шт.

11

611993R91

CABLE, Serial Range: battery-solenoid

1шт.

105249

CLIP, no. 8 cable

1шт.

BOLT W/NUT, 1/4 x 3/4" mach

1шт.

LK-WASHER, 1/4"

1шт.

12

1MS

BATTERY, dry-charged autolite (6V)

1шт.

13

613496R91

CABLE

battery ground

1шт.

BOLT W/NUT, 3/8 x 3/4" mach

1шт.

LK-WASHER, 3/8"

1шт.

14

MOTOR, starting ("starting motor")

1шт.

15

DISTRIBUTOR, Serial Range: (refer-"distributor")

1шт.

16

396546R91

PACKAGE

COIL, ignition

1шт.

17

618880R11

CABLE, ignition, Serial Range: switch-coil

1шт.

18

612315R11

CABLE, starter button to starter motor

1шт.

19

272404R91

CABLE, regulator "F" to generator "F"

1шт.

Выбрано товаров: 24