Запчасти Case IH 210 (G-02) - ELECTRICAL SYSTEM, WIRING DIAGRAM, PRIOR TO SERIAL NUMBER 3700 (06) - ELECTRICAL SYSTEMS

Схема запчастей Case IH 210 - (G-02) - ELECTRICAL SYSTEM, WIRING DIAGRAM, PRIOR TO SERIAL NUMBER 3700 (06) - ELECTRICAL SYSTEMS
FIT
1:1
100%

Артикул

Название

Примечание

Количество

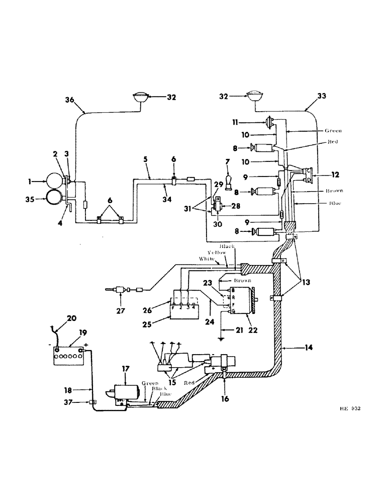
1

LIGHT, flashing safety (For service parts refer to "SAFETY FLASHING LIGHT")

1шт.

2

394262R1

WASHER

GASKET, light

1шт.

3

25-158

JAM NUT,Jam, 1/2"-20, G5

1/2" jam

1шт.

4

599288R1

SUPPORT, flashing light & tail light

1шт.

5

599291R1

CABLE, Serial Range: flasher-light

1шт.

6

121506R1

CLIP

cable

3шт.

7

394473R91

CABLE, light jumper

1шт.

8

62801DC

SWITCH

lights & ignition

3шт.

21053R1

WASHER

19/32 x 1-1/4 x 11 ga

3шт.

9

618891R91

CABLE, fuse holder, Serial Range: switch-ammeter

2шт.

9426333

FUSE,15 Amp, Type 3AG

15 amp

2шт.

10

599945R1

CABLE, (switch to button), Serial Range: (ammeter-switch)

2шт.

11

366317R93

SWITCH

BUTTON, starter (For service parts refer to "INSTRUMENT PANEL" Section M)

1шт.

11

366317R93GV

CONTROL

Value, Control Switch

1шт.

12

269467R92

INDICATOR

AMMETER

1шт.

13

299402C1

CLAMP

harness cable

3шт.

14

599289R2

HARNESS

electrical wiring

1шт.

15

IGNITION UNIT, electrical (For service parts refer to "PARTS CATALOG ENG-1")

1шт.

16

102869

CLAMP, cable at coil

1шт.

17

1107344

MOTOR, starting 387086R92 (For service parts refer to "STARTING MOTOR")

1шт.

18

825193C1

CABLE, Serial Range: battery-solenoid

1шт.

19

BATTERY, 12 volt dry (For service parts refer to "BATTERY AND TRAY")

1шт.

20

860304R91

CABLE

, Serial Range: battery-ground

1шт.

598809R1

CARRIAGE BOLT,Sht Sq Nk, 3/8" - 16 x 3/4", Gr 5

BOLT, 3/8 x 3/4" crg

1шт.

120377

NUT,3/8" - 16, Gr 5

1шт.

120382

LOCK WASHER,Helical Spring, 3/8"

WASHER, LOCK, 3/8"

1шт.

21

595496R11

CABLE, generator ground

1шт.

22

1100805

GENERATOR

ALTERNATOR, 12 volt (702337C91) (For service parts, Serial Range: refer-"ALTERNATOR")

1шт.

191163

BOLT,Hex, 3/8" - 16 x 4", Gr 5

3/8 x 4"

1шт.

20803R1

WASHER

13/32 x 1 x 11 ga

1шт.

120377

NUT,3/8" - 16, Gr 5

1шт.

23

969541R1

CONNECTOR, ELEC

CONNECTOR, alternator

1шт.

24

595497R11

CABLE, voltage regulator F terminal to alternator F terminal

1шт.

25

1119513

VOLTAGE REGULATOR

REGULATOR, 12V voltage (336410R91)

1шт.

26

969325R1

ELEC CONNECTOR,Female

CONNECTOR, regulator terminal

1шт.

27

SOLENOID, carburetor fuel shut-off (For service parts refer to ("PARTS CATALOG ENG-1")

1шт.

28

394132R91

FLASHER UNIT

FLASHER, 12 volt

1шт.

29

394134R1

SEAL

HOSE, flasher absorber

1шт.

30

394133R1

FASTENER

CLAMP, flasher

1шт.

31

599290R1

CABLE, light, Serial Range: switch-junction

1шт.

32

LIGHT, 12 volt head (For service parts refer to "HEAD LIGHT AND TAIL LIGHT")

2шт.

33

592188R11

CABLE, switch to RH headlight

1шт.

34

614437R11

CABLE, switch to tail light

1шт.

35

599287R91

LAMP, rear and stop (For service parts refer to "HEADLIGHT AND TAIL LIGHT")

1шт.

36

618882R11

CABLE, LH head light to tail light

1шт.

37

102869

CLAMP, cable

1шт.

180077

BOLT,Hex, 5/16" - 18 x 3/4", Gr 5

5/16 x 3/4"

1шт.

120376

NUT,5/16"-18, G5

1шт.

80681

LOCK WASHER,5/16"

WASHER, LOCK, 5/16"

1шт.

Выбрано товаров: 49