Запчасти Case IH 210 (G-04) - ELECTRICAL SYSTEM, ELECTRICAL SYSTEM, SERIAL NUMBER 3700 AND SINCE (06) - ELECTRICAL SYSTEMS

Схема запчастей Case IH 210 - (G-04) - ELECTRICAL SYSTEM, ELECTRICAL SYSTEM, SERIAL NUMBER 3700 AND SINCE (06) - ELECTRICAL SYSTEMS
FIT
1:1
100%

Артикул

Название

Примечание

Количество

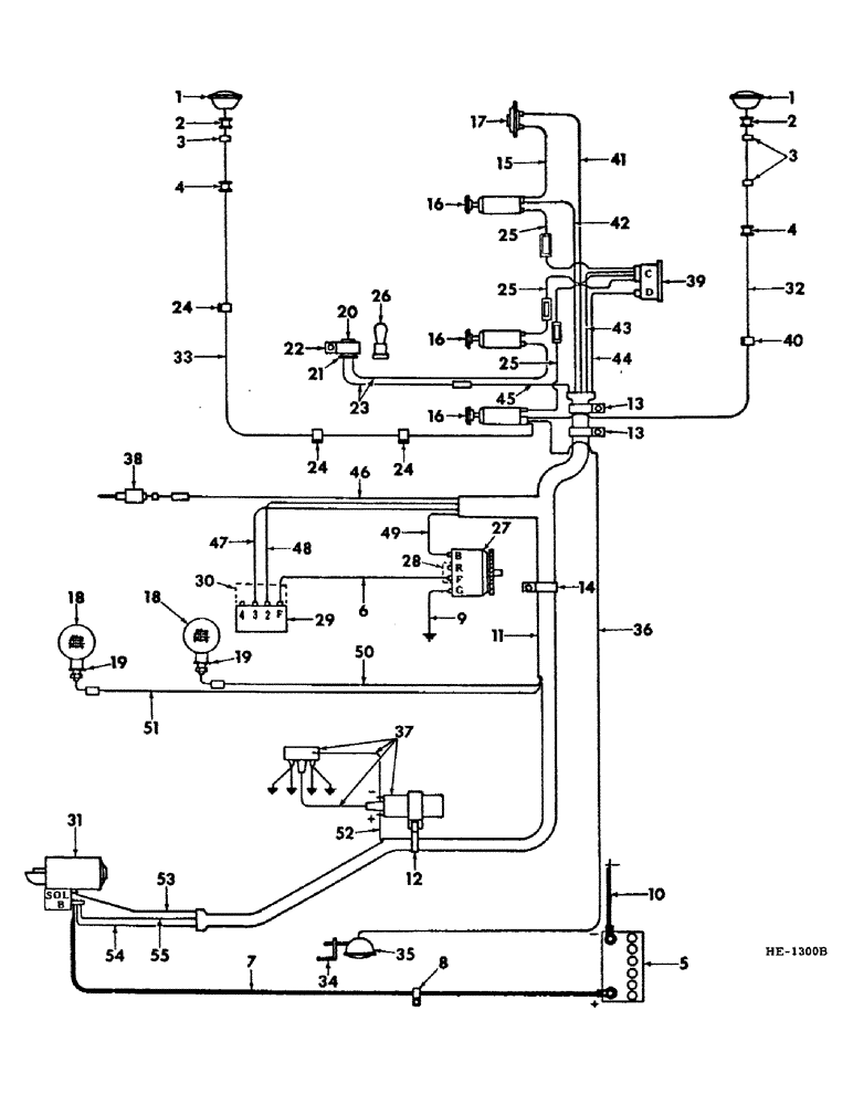
1

LIGHT, 12 volt head (For service parts refer to "HEAD LIGHT AND TAIL LIGHT")

2шт.

2

140711

GROMMET,1/4" ID x 5/8" x .188", Str Cut

No. 2 diagonal cut (For use w/Canopy)

2шт.

3

119702

SWIVEL CONNECTION

CLIP, headlight cable LH and RH (For use w/Canopy)

3шт.

4

140711

GROMMET,1/4" ID x 5/8" x .188", Str Cut

No. 2 diagonal cut at platform

2шт.

5

BATTERY, 12 volt dry (For service parts refer to "BATTERY AND TRAY")

1шт.

6

595497R11

CABLE, voltage regulator "F" terminal to alternator "F" terminal

1шт.

7

825193C1

CABLE, Serial Range: battery-solenoid

1шт.

8

299402C1

CLAMP

battery cable

1шт.

9

595496R11

CABLE, alternator ground

1шт.

10

860304R91

CABLE

battery ground

1шт.

598809R1

CARRIAGE BOLT,Sht Sq Nk, 3/8" - 16 x 3/4", Gr 5

BOLT, 3/8 x 3/4" crg

1шт.

120377

NUT,3/8" - 16, Gr 5

1шт.

120382

LOCK WASHER,Helical Spring, 3/8"

WASHER, LOCK, 3/8"

1шт.

11

826277C2

HARNESS, electrical wiring

1шт.

12

299404C1

CLAMP

cable

1шт.

13

299406C1

CLAMP,7/16", Insul, 3/8" Bolt

cable

2шт.

113-206

BOLT,Hex, 3/8" - 16 x 3/4", Gr 5, Full Thd

3/8 x 3/4"

2шт.

619856R1

WASHER

13/32 x 1 x 16 ga

2шт.

120377

NUT,3/8" - 16, Gr 5

2шт.

120382

LOCK WASHER,Helical Spring, 3/8"

WASHER, LOCK, 3/8"

2шт.

14

129083R1

CLAMP

cable

1шт.

15

599945R1

CABLE, starter switch button

1шт.

16

62801DC

SWITCH

ignition and lights

3шт.

21053R1

WASHER

19/32 x 1-1/4 x 11 ga

6шт.

169-133

SCREW,Sl Fil Hd, #8 - 32 x 3/8"

#8-32 x 3/8" fil-hd sltd (For headlights and tail light switch)

1шт.

17

366317R93

SWITCH

BUTTON, starter (For service parts refer to "INSTRUMENT PANEL" Section M)

1шт.

17

366317R93GV

CONTROL

Value, Control Switch

1шт.

18

LIGHT, flashing safety LH and RH (For service parts refer to "SAFETY FLASHING LIGHT")

2шт.

124934

HOSE

1/2" jam

2шт.

19

394262R1

WASHER

GASKET, flashing safety

2шт.

20

394132R91

FLASHER UNIT

FLASHER, 12 volt

1шт.

21

394134R1

SEAL

HOSE, flasher absorber

1шт.

22

394133R1

FASTENER

CLAMP, flasher

1шт.

23

599290R1

CABLE, light, Serial Range: switch-junction

1шт.

24

121506R1

CLIP

cable

3шт.

25

618891R91

HOLDER W/CABLE, starting, headlight and safety flashing light switches to "C" terminal on ammeter

3шт.

432644

FUSE,20 Amp, Type SFE

20 amp

3шт.

26

394473R91

CABLE, light jumper

1шт.

27

1100805

GENERATOR

ALTERNATOR, 12 volt (702337C91) (For service parts, Serial Range: refer-"ALTERNATOR")

1шт.

121743

CHAIN,#12 - 24

#12-24

1шт.

120614

NUT,Hex, #10 - 32

NUT, #10-32

1шт.

121744

ANGLE

Washer, Lock, #12

1шт.

120217

LOCK WASHER,#10

WASHER, LOCK, #10

1шт.

28

969541R1

CONNECTOR, ELEC

CONNECTOR, alternator

1шт.

29

1119513

VOLTAGE REGULATOR

REGULATOR, voltage (336410R91)

1шт.

180016

SPRING

1/4 x 1/2"

2шт.

492-11025

LOCK WASHER,1/4"

WASHER, LOCK, 1/4"

2шт.

30

969325R1

ELEC CONNECTOR,Female

CONNECTOR, terminal

1шт.

31

1107344

MOTOR ASSY, 12 volt starting (387086R92) (For service parts refer to "STARTING MOTOR")

1шт.

120622

NUT,#8-32

1шт.

121841

LOCK WASHER,#8

WASHER, LOCK, #8

1шт.

32

592188R11

CABLE, switch to RH headlight

1шт.

33

614437R11

CABLE, switch to LH headlight

1шт.

34

826275C1

SUPPORT, tail light

1шт.

180145

BOLT,Hex, 7/16" - 14 x 1", Gr 5

1/2 x 1"

1шт.

120378

NUT,Hex, 1/2" - 13, Gr 5

NUT, 1/2"-13, G5

1шт.

120384

WASHER,1/2"

LOCK, 1/2"

1шт.

35

599287R91

LIGHT ASSY, rear and stop (For service parts refer to "HEADLIGHT AND TAIL LIGHT")

1шт.

36

618882R11

CABLE, switch to tail light

1шт.

37

IGNITION UNIT, electrical (For service parts refer to "PARTS CATALOG ENG-1")

1шт.

38

SOLENOID, carburetor fuel shut-off (For service parts refer to "PARTS CATALOG ENG-1")

1шт.

39

269467R92

INDICATOR

GAUGE, ammeter

1шт.

40

119702

SWIVEL CONNECTION

CLIP, cable

1шт.

41

CABLE, -(green) starter button to wiring harness (order 1-826277C2) HARNESS)

1шт.

42

CABLE, -(red) ignition switch to wiring harness (order 1-926277C2 HARNESS)

1шт.

43

CABLE, -(brown) "C" terminal on ammeter to wiring harness (order 1-826277C2 HARNESS)

1шт.

44

CABLE, -(blue) "D" terminal on ammeter to wiring harness (order 1-826277C2 HARNESS)

1шт.

45

CABLE, -(orange) junction to wiring harness (order 1-826277C2 HARNESS)

1шт.

46

CABLE, -(white) solenoid shut-off to wiring harness (order 1-826277C2 HARNESS)

1шт.

47

CABLE, -(black) No. 3 terminal on regulator to wiring harness (order 1-826277C2 HARNESS)

1шт.

48

CABLE, - (yellow) No. 2 terminal on regulator to wiring harness (order 1-826277C2 HARNESS)

1шт.

49

CABLE, -(brown) "B" terminal on alternator to wiring harness (order 1-826277C2 HARNESS)

1шт.

50

CABLE, -(orange) safety flashing light RH to wiring harness (order 1-826277C2 HARNESS)

1шт.

51

CABLE, -(orange) safety flashing light LH to wiring harness (order 1-826277C2 HARNESS)

1шт.

52

CABLE, -(red) positive terminal on coil to wiring harness (order 1-826277C2 HARNESS)

1шт.

53

CABLE, -(green) starting motor "SOL" terminal to wiring harness (order 1-826277C2 HARNESS)

1шт.

54

CABLE, -(blue) starting motor "B" terminal to wiring harness (order 1-826277C2 HARNESS)

1шт.

55

CABLE, -(black) starting motor "B" terminal to wiring harness (order 1-826277C2 HARNESS)

1шт.

Выбрано товаров: 78