Запчасти Case IH 210 (F-04) - HYDRAULICS SYSTEM, CHASSIS, SERIAL NUMBER 3700 AND SINCE (07) - HYDRAULIC SYSTEM

Схема запчастей Case IH 210 - (F-04) - HYDRAULICS SYSTEM, CHASSIS, SERIAL NUMBER 3700 AND SINCE (07) - HYDRAULIC SYSTEM
FIT
1:1
100%

Артикул

Название

Примечание

Количество

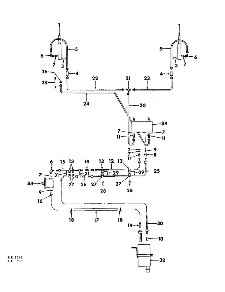
1

591989R91

CYLINDER ASSY, platform lift (For service parts refer to "PLATFORM LIFT HYDRAULIC CYLINDER")

2шт.

271777

KNOB,Hex, 3/4" - 10 x 3 1/2", Gr 5

3/4 x 3-1/2"

2шт.

280954

NUT,3/4"-10, G5

2шт.

2

674516R1

PORT

PLATE, valve orifice

1шт.

3

592186R1

SPACER, platform cylinder rear

2шт.

4

613697R1

BLOCK, pipe elbow

2шт.

113-233

BOLT,Hex, 3/8" - 16 x 1-3/4", Gr 5

2шт.

120377

NUT,3/8" - 16, Gr 5

2шт.

20803R1

WASHER

13/32 x 1 x 11 ga

2шт.

120382

LOCK WASHER,Helical Spring, 3/8"

WASHER, LOCK, 3/8"

2шт.

5

611119R91

HOSE, platform lift cylinder

2шт.

6

9410976

ELBOW,90 Degree, 9/16"-18, 37 Degree x 9/16"-18, O-Ring

hydraulic 90º, 9/16"-18, 37º x 9/16"-18, O-Ring

3шт.

7

364839R1

O-RING,0.078" Thk x 0.468" ID, -906, Cl 6, 90 Duro

6-1, 90 Duro, .468" ID x .078" Thk

6шт.

8

9410203

HYD CONNECTOR,3/4"-16, 37 Degree x 3/4"-16, O-Ring

UNION, return tube

1шт.

9

570828R1

O-RING,0.087" Thk x 0.644" ID, -908, Cl 6, 90 Duro

"O"RING, 1/2" OD tube

2шт.

10

9402709

HYD CONNECTOR,3/4"-16, 37 Degree x 3/8"-18, NPTF

CONNECTOR, reservoir return

1шт.

11

9410202

HYD CONNECTOR,9/16"-18, 37 Degree x 9/16"-18, O-Ring

UNION, 3/8" short swivel

3шт.

12

824995C11

TUBE, pressure, Serial Range: valve-union

1шт.

13

595432R1

CLAMP

pressure tube front

4шт.

180018

CONNECTING LINK

1/4 x 5/8"

2шт.

120375

NUT,Hex, 1/4" - 20, Gr 5

2шт.

492-11025

LOCK WASHER,1/4"

WASHER, LOCK, 1/4"

2шт.

14

9402786

UNION,9/16"-18, 37 Degree x 9/16"-18, 37 Degree

between front and rear pressure tube

1шт.

15

824996C11

TUBE, pressure, Serial Range: union-pump

1шт.

16

614328R1

CONNECTOR, ELEC

CONNECTOR, short swivel

1шт.

17

825780C1

HOSE, suction

1шт.

18

628091R1

CLAMP, hose

2шт.

19

591977R1

PIPE, hose

1шт.

20

599226R11

TUBE, valve to tee platform lift 0.375" OD, 16.5, 3.2" Length

1шт.

21

9402981

SHAFT

platform lift tube

1шт.

22

825131C11

TUBE, platform lift LH

1шт.

23

825132C11

TUBE, platform lift RH

1шт.

24

825133C11

TUBE, valve to reel lift jumper hose

1шт.

25

825635C11

TUBE, return, Serial Range: valve-union

1шт.

26

9402787

UNION,3/4"-16, 37 Degree x 3/4"-16, 37 Degree

1/2" tube

1шт.

27

826157C1

CLAMP, hydraulic tube

4шт.

180122

BOLT,Hex, 3/8" - 16 x 1", Gr 5

3/8 x 1"

2шт.

180130

BOLT,Hex, 3/8" - 16 x 2", Gr 5

3/8 x 2"

2шт.

120377

NUT,3/8" - 16, Gr 5

4шт.

120382

LOCK WASHER,Helical Spring, 3/8"

WASHER, LOCK, 3/8"

4шт.

28

26241H

SPACER,3/8" X-Strng Pipe x 3/4"

3/8 x 3/4" extra strong pipe

2шт.

29

598489R1

ANGLE

tube clamp support

2шт.

180122

BOLT,Hex, 3/8" - 16 x 1", Gr 5

3/8 x 1"

2шт.

120377

NUT,3/8" - 16, Gr 5

2шт.

120382

LOCK WASHER,Helical Spring, 3/8"

WASHER, LOCK, 3/8"

2шт.

30

825790C11

TUBE, return 1" OD, 18.9, 15.9" Length

1шт.

31

825382C1

ANGLE, hydraulic tube

2шт.

180122

BOLT,Hex, 3/8" - 16 x 1", Gr 5

3/8 x 1"

1шт.

180124

BOLT,Hex, 3/8" - 16 x 1 1/4", Gr 5

3/8 x 1-1/4"

1шт.

120377

NUT,3/8" - 16, Gr 5

2шт.

120382

LOCK WASHER,Helical Spring, 3/8"

WASHER, LOCK, 3/8"

2шт.

32

597436R91

RESERVOIR, hydraulic oil (For service parts refer to "HYDRAULIC OIL RESERVOIR")

1шт.

33

PUMP ASSY, hydraulic (For service parts refer to "HYDRAULIC PUMP")

1шт.

180122

BOLT,Hex, 3/8" - 16 x 1", Gr 5

3/8 x 1" (For use w/591979R91 pump)

1шт.

Not part of Assembly.

1шт.

180124

BOLT,Hex, 3/8" - 16 x 1 1/4", Gr 5

3/8 x 1-1/4" (For use w/591980R91 PUMP)

2шт.

Not part of Assembly.

1шт.

120377

NUT,3/8" - 16, Gr 5

(1 per bolt) 3/8"-16, G5

1шт.

Not part of Assembly.

1шт.

120382

LOCK WASHER,Helical Spring, 3/8"

WASHER, LOCK, , 1 per bolt 3/8"

1шт.

Not part of Assembly.

1шт.

34

825326C92

VALVE

ASSY, hydraulic control (For service parts refer to "HYDRAULIC CONTROL VALVE")

1шт.

180042

BOLT,Hex, 1/4" - 20 x 1 3/4", Gr 5

BOLT, 1/4 x 1-3/4"

2шт.

Not part of Assembly.

1шт.

120375

NUT,Hex, 1/4" - 20, Gr 5

2шт.

Not part of Assembly.

1шт.

492-11025

LOCK WASHER,1/4"

WASHER, LOCK, 1/4"

2шт.

Not part of Assembly.

1шт.

35

611937R91

HOSE ASSY.

HOSE, platform jumper

1шт.

36

9403371

CAP,37 Degree, 9/16"-18

PLUG, hose (For use when platform is disconnected)

1шт.

Выбрано товаров: 70