Запчасти Case IH 210 (F-06) - HYDRAULICS SYSTEM, REEL LIFT LINES, PRIOR TO SERIAL NUMBER 3700 / HYDRAULIC FLUID (07) - HYDRAULIC SYSTEM

Схема запчастей Case IH 210 - (F-06) - HYDRAULICS SYSTEM, REEL LIFT LINES, PRIOR TO SERIAL NUMBER 3700 / HYDRAULIC FLUID (07) - HYDRAULIC SYSTEM
FIT
1:1
100%

Артикул

Название

Примечание

Количество

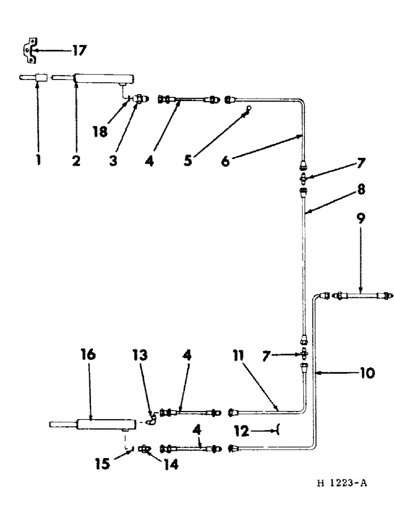
1

591740R91

EXTENSION, reel lift slave cylinder

1шт.

PG144

PIN, 1/2 x 1-11/16" std-hd-dld

1шт.

6749

PIN

1/2 x 3-5/16" std-hd-dld

1шт.

432-1216

COTTER PIN,3/16" x 1"

Pin, Split (Cotter), 3/16" x 1"

2шт.

2

CYLINDER ASSY, reel lift slave w/pipe thread inlet port (For service order 1-825295C91, CYLINDER, 1-9410202, UNION, and 1-364839R1, "O" RING)

1шт.

2

825295C91

CYLINDER

ASSY, reel lift slave w/straight thread inlet port (For service parts refer to "REEL LIFT SLAVE CYLINDER")

1шт.

21958R1

HEADED PIN,1/2" x 2 3/4"

PIN, 1/2 x 2-3/4" std-hd-dld

1шт.

Not part of Cylinder.

1шт.

432-1216

COTTER PIN,3/16" x 1"

Pin, Split (Cotter), 3/16" x 1"

1шт.

Not part of Cylinder.

1шт.

3

9402708

HYD CONNECTOR,9/16"-18, 37 Degree x 1/4"-18, NPTF

CONNECTOR, slave cyl inlet hose (For use on cylinder w/pipe thread inlet port)

1шт.

3

9410202

HYD CONNECTOR,9/16"-18, 37 Degree x 9/16"-18, O-Ring

UNION, slave cyl inlet port (For use on cylinder w/straight inlet port)

1шт.

4

611937R91

HOSE ASSY.

HOSE, hyd cylinder

3шт.

5

595432R1

CLAMP

CLIP, hyd inlet pipe

1шт.

180077

BOLT,Hex, 5/16" - 18 x 3/4", Gr 5

5/16 x 3/4"

1шт.

120376

NUT,5/16"-18, G5

1шт.

80681

LOCK WASHER,5/16"

WASHER, LOCK, 5/16"

1шт.

6

592171R11

PIPE, slave cyl inlet

1шт.

7

9402786

UNION,9/16"-18, 37 Degree x 9/16"-18, 37 Degree

extension pipe

2шт.

8

593260R11

TUBE, 10-1/2 ft master to slave extension

1шт.

8

593261R11

TUBE, 13-1/2 ft master to slave extension

1шт.

8

592170R11

TUBE, 16-1/2 ft master to slave extension 0.375" OD, 137" Length

1шт.

8

593262R11

TUBE, 19-1/2 ft master to slave extension

1шт.

9

610980R91

HOSE, master, Serial Range: cyl-slave

1шт.

9403371

CAP,37 Degree, 9/16"-18

hose (For use when platform is disconnected)

1шт.

10

593257R11

TUBE, 10-1/2 ft master cyl inlet

1шт.

593258R11

TUBE, 13-1/2 ft master cyl inlet

1шт.

592168R11

TUBE, 16-1/2 ft master cyl inlet

1шт.

593259R11

TUBE, 19-1/2 ft master cyl inlet

1шт.

11

592169R11

TUBE, master cyl outlet

1шт.

12

614323R2

CLAMP

cyl inlet & outlet hose

1шт.

87716

BOLT,1/4"-20 x 1-1/4", Cl 5

1шт.

21801R1

WASHER

9/32 x 3/4 x 16 ga

1шт.

120375

NUT,Hex, 1/4" - 20, Gr 5

1шт.

492-11025

LOCK WASHER,1/4"

WASHER, LOCK, 1/4"

1шт.

13

585694R1

ELBOW,90 Degree, 9/16"-18, 37 Degree x 3/8"-18, NPTF

90deg. master cyl outlet hose

1шт.

14

9410202

HYD CONNECTOR,9/16"-18, 37 Degree x 9/16"-18, O-Ring

CONNECTOR, master cyl inlet hose

1шт.

15

364839R1

O-RING,0.078" Thk x 0.468" ID, -906, Cl 6, 90 Duro

6-1, 90 Duro, .468" ID x .078" Thk, inlet pipe connector

1шт.

16

632457R91

CYLINDER

ASSY, reel lift master (For service parts refer to "REEL LIFT MASTER CYLINDER")

1шт.

21814R1

HEADED PIN,1/2" x 3"

PIN, 1/2 x 3" std-hd dld

1шт.

Not part of Cylinder.

1шт.

R303M

PIN, 1/2 x 3-9/16" std-hd dld

1шт.

Not part of Cylinder.

1шт.

432-1216

COTTER PIN,3/16" x 1"

Pin, Split (Cotter), 3/16" x 1"

2шт.

17

591743R1

CLAMP, right hyd cyl extension upper

1шт.

495967R1

CARRIAGE BOLT,Short NK, 3/8"-16 x 1", G5, Full Thd

BOLT, 3/8 x 1" crg

2шт.

120377

NUT,3/8" - 16, Gr 5

2шт.

120382

LOCK WASHER,Helical Spring, 3/8"

WASHER, LOCK, 3/8"

2шт.

18

364839R1

O-RING,0.078" Thk x 0.468" ID, -906, Cl 6, 90 Duro

6-1, 90 Duro, .468" ID x .078" Thk, union (for use on cylinder w/straight thread inlet port)

1шт.

372703R5

HY-TRAN FLUID, 1 qt U.S. measure

1шт.

372704R5

FLUID

HY-TRAN FLUID, 1 gal U.S. measure

1шт.

372705R5

FLUID

HY-TRAN FLUID, 5 gal U.S. measure

1шт.

997495R5

HY-TRAN FLUID, 1 qt imperial measure

1шт.

997497R5

HY-TRAN FLUID, 5 gal imperial measure

1шт.

407024R5

HY-TRAN FLUID, 15 gal U.S. measure

1шт.

999024R5

HY-TRAN FLUID, 30 gal U.S. measure

1шт.

999655R5

FLUID

HY-TRAN FLUID, 55 gal U.S. measure

1шт.

Выбрано товаров: 57