Запчасти Case IH 210 (F-16) - HYDRAULICS SYSTEM, REEL LIFT MASTER HYDRAULIC CYLINDER, PRIOR TO SERIAL NUMBER 3700 (07) - HYDRAULIC SYSTEM

Схема запчастей Case IH 210 - (F-16) - HYDRAULICS SYSTEM, REEL LIFT MASTER HYDRAULIC CYLINDER, PRIOR TO SERIAL NUMBER 3700 (07) - HYDRAULIC SYSTEM
FIT
1:1
100%

Артикул

Название

Примечание

Количество

632457R91

CYLINDER

reel lift hyd (composed of parts listed below, unless otherwise noted)

1шт.

21814R1

HEADED PIN,1/2" x 3"

PIN, 1/2 x 3" std-hd dld

1шт.

Not part of Cylinder Assembly.

1шт.

R303M

PIN, 1/2 x 3-9/16" std-hd dld

1шт.

Not part of Cylinder Assembly.

1шт.

432-1216

COTTER PIN,3/16" x 1"

Pin, Split (Cotter), 3/16" x 1"

2шт.

Not part of Cylinder Assembly.

1шт.

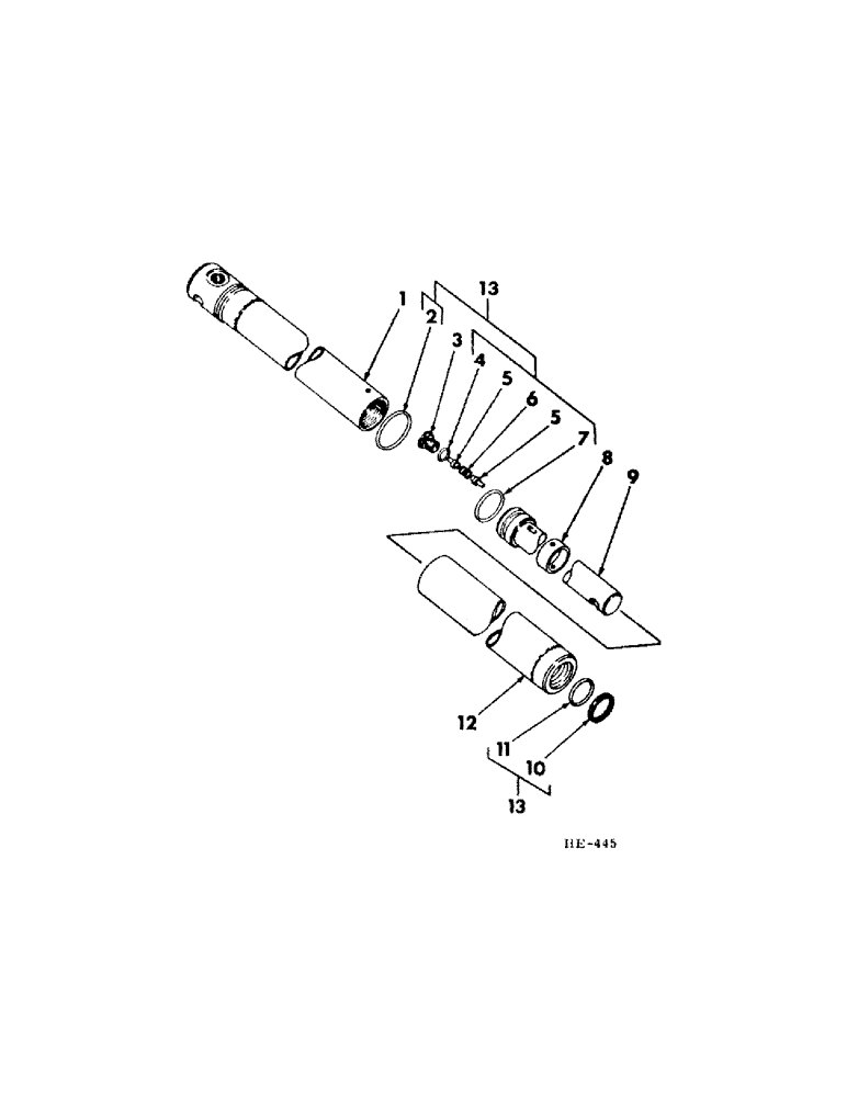
1

632463R91

HEAD, hyd cyl

1шт.

2

22278R1

O-RING,0.103" Thk x 1.674" ID, -131, Cl 5, 75 Duro

"O" RING, cyl head

1шт.

3

632458R1

PLUG, piston rod seat

1шт.

5

632460R91

POPPET, piston rod

2шт.

6

632459R1

VALVE SPRING

SPRING, piston rod

1шт.

7

252483R1

O-RING,-218, 70 Duro, 1.234" ID x .139" Thk

"O" RING, piston rod

1шт.

8

632461R1

COLLAR, piston rod

1шт.

17045R1

LOCK PIN,5/32" x 1 3/8", Slotted

PIN, 5/32" x 1 3/8", Slotted

1шт.

9

632464R91

ROD, piston

1шт.

10

356005R1

O-RING,1.109" ID x 0.139" Width

"O" RING, hyd cyl head

1шт.

11

564808R91

WIPER

OIL SEAL, piston rod

1шт.

12

632462R91

BEARING, piston barrel

1шт.

13

159836C91

KIT

hyd cyl seal repair

1шт.

158749C91

CYLINDER

reel lift master (Includes all parts listed below unless otherwise noted)

1шт.

21958R1

HEADED PIN,1/2" x 2 3/4"

PIN, 1/2 x 2-3/4" std-hd-dld

1шт.

Not part of Cylinder Assembly.

1шт.

432-1216

COTTER PIN,3/16" x 1"

Pin, Split (Cotter), 3/16" x 1"

1шт.

Not part of Cylinder Assembly.

1шт.

4

369384R1

O-RING,0.072" Thk x 0.414" ID, -905, Cl 6, 90 Duro

5-1, 90 Duro, .414" ID x .072" Thk, Seat plug

1шт.

Выбрано товаров: 26