Запчасти Case IH 210 (H-02) - CONTROLS, PLATFORM DRIVE CONTROL Controls

Схема запчастей Case IH 210 - (H-02) - CONTROLS, PLATFORM DRIVE CONTROL Controls
FIT
1:1
100%

Артикул

Название

Примечание

Количество

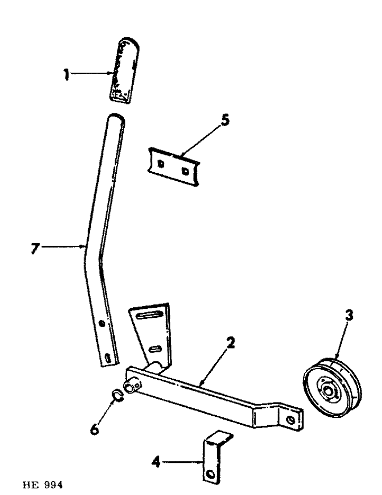
1

938885R1

GRIP

control lever handle

1шт.

2

825117C1

ROCKSHAFT, platform drive

1шт.

271293

PULLEY

FITTING, 5/16" lub

1шт.

3

662959R91

PULLEY ASSY.

PULLEY, platform drive idler

1шт.

413-1032

BOLT,Hex, 5/8" - 11 x 2", Gr 5

5/8 x 2"

1шт.

280374

NUT,Hex, 5/8" - 11, Gr 5

5/8"

1шт.

4

592060R1

ANGLE, platform drive belt retainer

1шт.

271723

SNAP RING,Hex, 5/8" - 11 x 2", Gr 5

5/8 x 2"

1шт.

280374

NUT,Hex, 5/8" - 11, Gr 5

5/8"

1шт.

5

599139R1

BAR, platform lever stop

1шт.

598802R1

CARRIAGE BOLT,Short NK, 5/16"-18 x 3/4", G5, Full Thd

BOLT, 5/16 x 3/4" crg

2шт.

120376

NUT,5/16"-18, G5

2шт.

80681

LOCK WASHER,5/16"

WASHER, LOCK, 5/16"

2шт.

6

461049R1

OIL SEAL

SPACER, rockshaft

1шт.

7

825120C1

LEVER, platform drive control

1шт.

619856R1

WASHER

13/32 x 1 x 16 ga

2шт.

120377

NUT,3/8" - 16, Gr 5

2шт.

120382

LOCK WASHER,Helical Spring, 3/8"

WASHER, LOCK, 3/8"

2шт.

Выбрано товаров: 18