Запчасти Case IH 230 (10-02) - HYDRAULICS, HYDRAULIC SYSTEM (07) - HYDRAULICS

Схема запчастей Case IH 230 - (10-02) - HYDRAULICS, HYDRAULIC SYSTEM (07) - HYDRAULICS
FIT
1:1
100%

Артикул

Название

Примечание

Количество

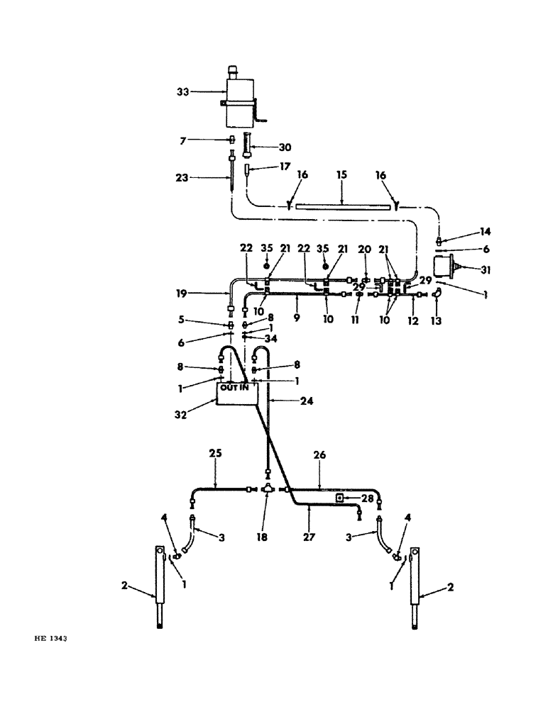
1

364839R1

O-RING,0.078" Thk x 0.468" ID, -906, Cl 6, 90 Duro

6-1, 90 Duro, .468" ID x .078" Thk, 3/8 OD tube

6шт.

2

825621C91

CYLINDER ASSY, platform lift (for service parts refer to "Cylinder-Platform Lift")

2шт.

3

611937R91

HOSE ASSY.

HOSE, platform lift cylinder

2шт.

4

9411104

ELBOW,45 Degree, 9/16"-18, 37 Degree x 9/16"-18, O-Ring

platform lift cylinder

2шт.

5

9410203

HYD CONNECTOR,3/4"-16, 37 Degree x 3/4"-16, O-Ring

UNION, return tube

1шт.

6

570828R1

O-RING,0.087" Thk x 0.644" ID, -908, Cl 6, 90 Duro

"O"-RING, 1/2" OD tube

2шт.

7

9402709

HYD CONNECTOR,3/4"-16, 37 Degree x 3/8"-18, NPTF

CONNECTOR, reservoir return

1шт.

8

9410202

HYD CONNECTOR,9/16"-18, 37 Degree x 9/16"-18, O-Ring

UNION, 3/8" short swivel

3шт.

9

824995C11

TUBE, valve to union pressure

1шт.

10

595432R1

CLAMP

pressure tube front

4шт.

180018

CONNECTING LINK

1/4 x 5/8"

4шт.

120375

NUT,Hex, 1/4" - 20, Gr 5

4шт.

492-11025

LOCK WASHER,1/4"

WASHER, LOCK, 1/4"

4шт.

11

9402786

UNION,9/16"-18, 37 Degree x 9/16"-18, 37 Degree

front and rear pressure tube

1шт.

12

824996C11

TUBE, pressure, Serial Range: union-pump

1шт.

13

9410976

ELBOW,90 Degree, 9/16"-18, 37 Degree x 9/16"-18, O-Ring

pump to pressure tube 90º, 9/16"-18, 37º x 9/16"-18, O-Ring

1шт.

14

614328R1

CONNECTOR, ELEC

CONNECTOR, short swivel

1шт.

15

825780C1

HOSE, suction

1шт.

16

628091R1

CLAMP, hose

2шт.

17

591977R1

PIPE, hose

1шт.

18

76355

TEE,9/16" - 18 JIC x 9/16" - 18 JIC x 9/16" - 18 JIC

platform lift

1шт.

19

825635C11

TUBE, return

1шт.

20

9402787

UNION,3/4"-16, 37 Degree x 3/4"-16, 37 Degree

1/2" tube

1шт.

21

826157C1

CLAMP, tube

4шт.

180130

BOLT,Hex, 3/8" - 16 x 2", Gr 5

3/8 x 2"

4шт.

120377

NUT,3/8" - 16, Gr 5

4шт.

120382

LOCK WASHER,Helical Spring, 3/8"

WASHER, LOCK, 3/8"

4шт.

22

598489R1

ANGLE

tube clamp support

2шт.

23

825790C11

TUBE, return 1" OD, 18.9, 15.9" Length

1шт.

24

826115C11

TUBE, valve to tee platform lift 0.375" OD, 13.3, 3.2" Length

1шт.

25

825601C11

TUBE, platform lift RH

1шт.

26

825602C11

TUBE, platform lift LH

1шт.

27

825636C11

TUBE, reel lift

1шт.

28

614323R2

CLAMP

CLIP, tube

1шт.

9635884

BOLT,Hex, 5/16" - 18 1", Full Thd, Gr 5

5/16 x 1"

1шт.

120376

NUT,5/16"-18, G5

1шт.

80681

LOCK WASHER,5/16"

WASHER, LOCK, 5/16"

1шт.

29

825382C1

ANGLE, tube support

2шт.

180122

BOLT,Hex, 3/8" - 16 x 1", Gr 5

3/8 x 1"

2шт.

120377

NUT,3/8" - 16, Gr 5

2шт.

120382

LOCK WASHER,Helical Spring, 3/8"

WASHER, LOCK, 3/8"

2шт.

30

619037R91

STRAINER ASSY.

STRAINER, oil reservoir

1шт.

31

PUMP ASSY, hydraulic (for service parts refer to "Hydraulic Pump")

1шт.

180122

BOLT,Hex, 3/8" - 16 x 1", Gr 5

3/8 x 1" (For use w/591979R91, pump)

4шт.

Not part of valve.

1шт.

180124

BOLT,Hex, 3/8" - 16 x 1 1/4", Gr 5

3/8 x 1-1/4" (for use w/591980R91, pump)

2шт.

Not part of valve.

1шт.

120377

NUT,3/8" - 16, Gr 5

(1 per bolt) 3/8"-16, G5

1шт.

Not part of valve.

1шт.

120382

LOCK WASHER,Helical Spring, 3/8"

WASHER, LOCK, , 1 per bolt 3/8"

1шт.

Not part of valve.

1шт.

32

825326C92

VALVE

hydraulic control (for service parts refer to "Hydraulic Control Valve")

1шт.

180042

BOLT,Hex, 1/4" - 20 x 1 3/4", Gr 5

BOLT, 1/4 x 1-3/4"

2шт.

Not part of valve.

1шт.

120375

NUT,Hex, 1/4" - 20, Gr 5

2шт.

Not part of valve.

1шт.

492-11025

LOCK WASHER,1/4"

WASHER, LOCK, 1/4"

2шт.

33

597436R91

RESERVOIR ASSY, hydraulic oil (for service parts refer to "Hydraulic Reservoir")

1шт.

34

824544C1

PLATE

orifice

1шт.

Not part of valve.

1шт.

35

26241H

SPACER,3/8" X-Strng Pipe x 3/4"

hydraulic oil and engine oil pressure line connecting

2шт.

180130

BOLT,Hex, 3/8" - 16 x 2", Gr 5

3/8 x 2"

2шт.

120377

NUT,3/8" - 16, Gr 5

2шт.

120382

LOCK WASHER,Helical Spring, 3/8"

WASHER, LOCK, 3/8"

2шт.

Выбрано товаров: 64