Запчасти Case IH 275 (Q-31) - PLATFORMS, REEL DRIVE Platforms

Схема запчастей Case IH 275 - (Q-31) - PLATFORMS, REEL DRIVE Platforms
FIT
1:1
100%

Артикул

Название

Примечание

Количество

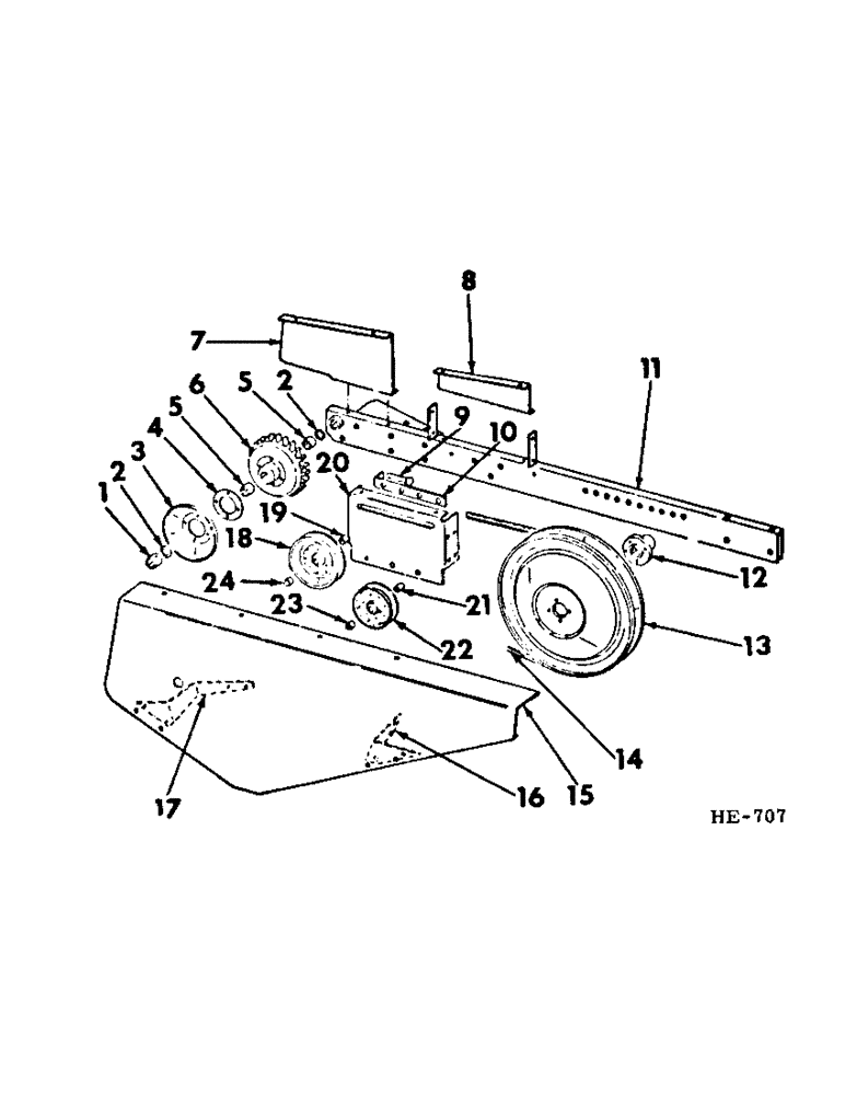
1

597950R1

COLLAR

reel support arm locking

1шт.

NLS

NO LONGER SERVICED

SCREW, 5/16 x 1/2" sq-hd cup-pt set

1шт.

2

608700R1

WASHER

1-9/32 x 2 x 16 ga pivot shaft

2шт.

3

609727R3

PULLEY

reel drive half

1шт.

634979R1

CARRIAGE BOLT,Sht Sq Nk, 3/8" - 16 x 1 1/2"

BOLT, 3/8 x 1-1/2" crg

4шт.

120377

NUT,3/8" - 16, Gr 5

4шт.

120382

LOCK WASHER,Helical Spring, 3/8"

WASHER, LOCK, 3/8"

4шт.

4

609776R1

RETAINER, reel drive pulley spacer

6шт.

5

597980R1

BUSHING,32.26mm ID x 38.2mm OD x 25.4mm L

reel drive gear

2шт.

6

597979R11

GEAR WHEEL

GEAR, reel drive (includes 2 - 597980R1, BUSHING)

1шт.

634979R1

CARRIAGE BOLT,Sht Sq Nk, 3/8" - 16 x 1 1/2"

BOLT, 3/8 x 1-1/2" crg

4шт.

120377

NUT,3/8" - 16, Gr 5

4шт.

120382

LOCK WASHER,Helical Spring, 3/8"

WASHER, LOCK, 3/8"

4шт.

7

597962R1

SUPPORT, reel shield upper rear mounting

1шт.

180075

BOLT,Hex, 5/16" - 18 x 5/8", Gr 5

5/16 x 5/8"

2шт.

80681

LOCK WASHER,5/16"

WASHER, LOCK, 5/16"

2шт.

8

597961R1

SUPPORT, reel shield centre mounting

1шт.

180075

BOLT,Hex, 5/16" - 18 x 5/8", Gr 5

5/16 x 5/8"

2шт.

120376

NUT,5/16"-18, G5

2шт.

80681

LOCK WASHER,5/16"

WASHER, LOCK, 5/16"

2шт.

9

609778R1

BOLT, 3/8 x 4-1/4" idler pulley tightener special crg

1шт.

120377

NUT,3/8" - 16, Gr 5

2шт.

10

609777R1

STRIP, reel drive idler pulley adjusting

1шт.

11

597942R1

ARM, reel support RH (for component parts of this assembly, refer to "REEL SUPPORT ARM RH" in section "Q" of this parts catalog)

1шт.

12

597986R1

HUB

reel driven pulley

1шт.

240

KEY,Gib, 3/8" Sq x 2 1/2"

3/8 x 2-1/2" gib-hd

1шт.

13

597985R2

PULLEY

reel driven

1шт.

454869

BOLT,Hex, 5/16" - 18 x 3/4", Gr 8

5/16 x 3/4" type 8

4шт.

80681

LOCK WASHER,5/16"

WASHER, LOCK, 5/16"

4шт.

14

560431R1

V-BELT

Reel drive

1шт.

15

597957R1

SHIELD, auger platform reel drive

1шт.

180075

BOLT,Hex, 5/16" - 18 x 5/8", Gr 5

5/16 x 5/8"

8шт.

120376

NUT,5/16"-18, G5

8шт.

80681

LOCK WASHER,5/16"

WASHER, LOCK, 5/16"

8шт.

16

597960R1

SUPPORT, reel shield front mounting

1шт.

180075

BOLT,Hex, 5/16" - 18 x 5/8", Gr 5

5/16 x 5/8"

2шт.

120376

NUT,5/16"-18, G5

2шт.

80681

LOCK WASHER,5/16"

WASHER, LOCK, 5/16"

2шт.

17

597963R1

SUPPORT, reel shield lower rear

1шт.

180173

BOLT,Hex, 1/2" - 13 x 1", Gr 5

1шт.

180183

BOLT,Hex, 1/2" - 13 x 2 1/4", Gr 5

1/2 x 2-1/4"

1шт.

120378

NUT,Hex, 1/2" - 13, Gr 5

NUT, 1/2"-13, G5

2шт.

120384

WASHER,1/2"

LOCK, 1/2"

2шт.

18

574097R91

PULLEY

upper idler

1шт.

271726

ROTOR,Hex, 5/8" - 11 x 2 3/4", Gr 5

5/8 x 2-3/4"

1шт.

464623R1

WASHER

21/32 x 1-1/2 x 11 ga

1шт.

280374

NUT,Hex, 5/8" - 11, Gr 5

5/8"

1шт.

492-11062

BEARING WASHER,5/8"

WASHER, LOCK, 5/8"

1шт.

19

597983R1

SPACER, pulley bracket

1шт.

271733

BODY,Hex, 5/8" - 11 x 4 1/2", Gr 5

5/8 x 4-1/2"

1шт.

280374

NUT,Hex, 5/8" - 11, Gr 5

5/8"

1шт.

492-11062

BEARING WASHER,5/8"

WASHER, LOCK, 5/8"

1шт.

20

597952R1

BRACKET, idler & tightener pulley

1шт.

180121

BOLT,Hex, 3/8" - 16 x 7/8", Gr 5

3/8 x 7/8"

4шт.

271733

BODY,Hex, 5/8" - 11 x 4 1/2", Gr 5

5/8 x 4-1/2"

1шт.

120377

NUT,3/8" - 16, Gr 5

1шт.

280374

NUT,Hex, 5/8" - 11, Gr 5

5/8"

1шт.

120382

LOCK WASHER,Helical Spring, 3/8"

WASHER, LOCK, 3/8"

4шт.

492-11062

BEARING WASHER,5/8"

WASHER, LOCK, 5/8"

1шт.

21

597983R1

SPACER, lower idler pulley inner

1шт.

22

564745R91

PULLEY

drive belt idler lower

1шт.

464623R1

WASHER

21/32 x 1-1/2 x 11 ga

1шт.

280374

NUT,Hex, 5/8" - 11, Gr 5

5/8"

1шт.

492-11062

BEARING WASHER,5/8"

WASHER, LOCK, 5/8"

1шт.

23

597984R1

SPACER, lower idler pulley outer

1шт.

24

597984R1

SPACER, upper idler pulley

1шт.

Выбрано товаров: 66