Запчасти Case IH 275 (C-09) - 6 CYLINDER, 232 CARBURETED ENGINE, OIL FILTER PAN AND PUMP (01) - ENGINE

Схема запчастей Case IH 275 - (C-09) - 6 CYLINDER, 232 CARBURETED ENGINE, OIL FILTER PAN AND PUMP (01) - ENGINE
FIT
1:1
100%

Артикул

Название

Примечание

Количество

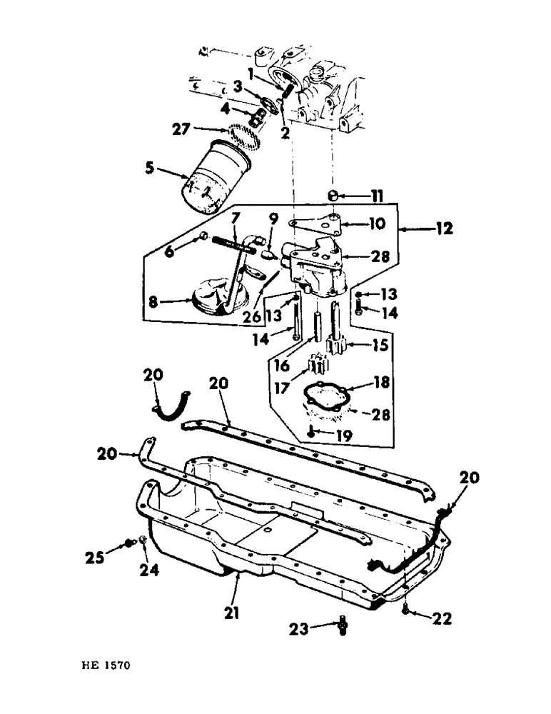
1

387062C1

SPRING

oil by-pass valve

1шт.

2

387061C1

VALVE

oil filter by-pass

1шт.

3

387063C1

RETAINER

oil filter by-pass valve spring

1шт.

4

387060C1

STUD

CONNECTOR, oil filter

1шт.

5

384843C1

FILTER

W/GASKET, oil

1шт.

6

387071C1

CAP, release valve spring

1шт.

7

387070C1

SPRING

release valve

1шт.

8

387076C2

FLOAT

oil pump

1шт.

9

387069C1

PLUNGER

oil pump release valve

1шт.

10

387080C1

GASKET

oil, Serial Range: pump-block

1шт.

11

387013C1

BUSHING, oil pump to block dowel

1шт.

12

387065C93

PUMP

1шт.

PUMP ASSY, oil, composed of, (1) shaft 387067C1, (NSS) (1) housing w/cover, (1) plunger 387069C1, (1) spring 387070C1, (1) cap 387071C1, (1) pin 108635, (1) gasket 387072C1, (4) bolt 387073C1, (1) gear 387074C1, (1) shaft w/gear 387075C91, (1) float 387076C2

1шт.

13

80681

LOCK WASHER,5/16"

WASHER, LOCK, 5/16"

2шт.

14

180078

BOLT,Hex, 5/16" - 18 x 7/8", Gr 5

5/16 - 18 x 7/8" pump connecting

1шт.

14

413-540

BOLT,Hex, 5/16" - 18 x 2-1/2", Gr 5

5/16 - 18 x 2-1/2" pump connecting

1шт.

80681

LOCK WASHER,5/16"

WASHER, LOCK, 5/16"

2шт.

15

387075C91

SHAFT, W/GEAR, oil pump drive

1шт.

16

387067C1

SHAFT, oil pump idler

1шт.

17

387074C1

GEAR, oil pump idler

1шт.

18

387072C1

GASKET, oil pump cover

1шт.

19

387073C1

BOLT, oil, Serial Range: pump-cover

4шт.

20

GASKET, oil pan (for service order 1 - 421230C91 SET)

1шт.

21

437859C91

PAN

ASSY, engine oil (includes 1 - 387087C91 PLUG w/GASKET)

1шт.

22

387090R1

SCREW W/WASHER, 9/16" long

22шт.

22

387091R1

SCREW W/WASHER, 3/4" long

4шт.

23

387089C1

STUD, oil pan mounting

2шт.

120367

NUT,Hex, 1/4" - 28, Gr 5

1/4 - 28

2шт.

492-11025

LOCK WASHER,1/4"

WASHER, LOCK, 1/4"

2шт.

24

387088C1

GASKET

oil pan drain plug

1шт.

25

387087C91

PLUG

W/GASKET, oil pan drain

1шт.

26

108635

PIN,1/8" x 1 1/8"

Split (Cotter), 1/8" x 1 1/8"

1шт.

27

GASKET, filter (NSS) (for service order 1 - 384843C1 FILTER w/GASKET)

1шт.

28

HOUSING W/COVER, oil pump (NSS) (for service order 1 - 387065C93 PUMP ASSY)

1шт.

421230C91

OIL PAN GASKET SET

SET, oil pan gasket

1шт.

Выбрано товаров: 35