Запчасти Case IH 275 (E-08) - FUEL SYSTEM, FUEL LINES (02) - FUEL SYSTEM

Схема запчастей Case IH 275 - (E-08) - FUEL SYSTEM, FUEL LINES (02) - FUEL SYSTEM
FIT
1:1
100%

Артикул

Название

Примечание

Количество

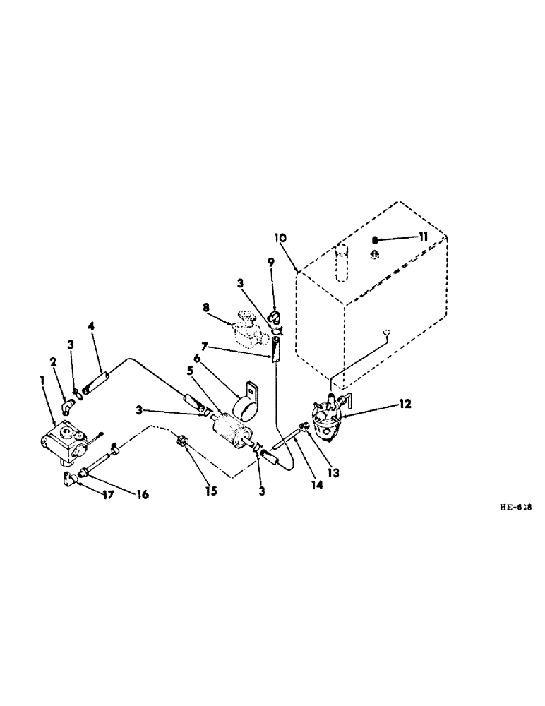
PUMP, 12 volt electric fuel (for service order 1 - 394327R92, PUMP)

1шт.

413-410

BOLT,Hex, 1/4" - 20 x 5/8", Gr 5

1/4 x 5/8"

2шт.

120375

NUT,Hex, 1/4" - 20, Gr 5

2шт.

492-11025

LOCK WASHER,1/4"

WASHER, LOCK, 1/4"

2шт.

2

676633R1

ELBOW, fuel pump to fuel filter hose

1шт.

3

215761R1

HOSE CLAMP,#9, 9/16", Spring

CLAMP, fuel hose

4шт.

4

598127R1

HOSE, fuel pump to fuel filter

1шт.

5

920175R91

FILTER

fuel

1шт.

6

394133R1

FASTENER

CLAMP, fuel filter

1шт.

7

598128R1

HOSE, filter to engine carburetor

1шт.

8

CARBURETOR, engine (for component parts of this assembly refer to the applicable carburetor in section "F" of the ENG-1 parts catalog)

1шт.

9

676633R1

ELBOW, carburetor for filter hose

1шт.

10

596448R1

TANK, engine fuel (for components parts of this assembly refer to "FUEL TANK" in section "E" of this parts catalog)

1шт.

11

9617020

PLUG,1/4" - 18 x 0.48"

1/4" sq-hd fuel tank pipe

1шт.

12

369988R91

FILTER CARTRIDGE

STRAINER, fuel (for component parts of this assembly refer to "FUEL STRAINER" in section "E" of this parts catalog)

1шт.

13

19985R1

TUBE NUT,1/2"-20

NUT, w/nylon insert, fuel strainer

1шт.

14

TUBE, 5/16" O.D. x 33-1/2" in length flexible nylon fuel strainer to fuel pump (dealer to cut & supply from bulk stock - 936761R1 is part number for 1 foot of tube)

1шт.

15

117960

GROMMET,5/16" ID x .719" x .188"

fuel strainer to fuel pump tube rubber

1шт.

16

222-503

TUBE NUT,1/2"-20

NUT, pump to strainer tube

1шт.

17

24847H

ELBOW,90 Degree x 1/8" NPT x 1/2"-20

fuel pump to fuel strainer tube

1шт.

Выбрано товаров: 20