Запчасти Case IH 275 (G-02) - ELECTRICAL SYSTEM, WIRING DIAGRAM (06) - ELECTRICAL SYSTEMS

Схема запчастей Case IH 275 - (G-02) - ELECTRICAL SYSTEM, WIRING DIAGRAM (06) - ELECTRICAL SYSTEMS
FIT
1:1
100%

Артикул

Название

Примечание

Количество

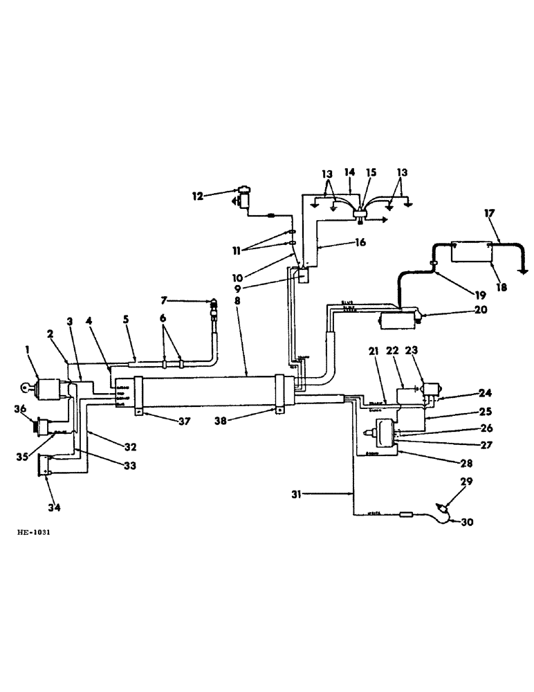
1

403562R2

SWITCH

key ignition (for component parts of this assembly, refer to "KEY IGNITION SWITCH" in section "G" of this parts catalog)

1шт.

2

CABLE, engine starter button to hydrostatic safety starting switch (NSS) (for use on 375 Windrower) (for service order 1 - 595500R91, electrical HARNESS)

1шт.

3

CABLE, key ignition switch to engine ignition coil (NSS) (for service order 1 - 595499R91, electrical HARNESS)

1шт.

4

CABLE, engine starter button to starting motor solenoid switch (for use on 275 Windrower (NSS) (for service order 1 - 595499R91, electrical HARNESS)

1шт.

4

CABLE, safety hydrostatic starting switch to engine starting motor solenoid switch (for use on 375 Windrower) (NSS) (for service order 1 - 595499R91, electrical HARNESS)

1шт.

5

595500R91

HARNESS, hydrostatic safety starting switch electrical wiring (for use on 375 Windrower)

1шт.

6

119702R1

CLIP

hydrostatic safety starting switch wiring harness (for use on 375 Windrower)

2шт.

7

382728R91

SWITCH

hydrostatic safety starting (for use on 375 Windrower)

1шт.

464623R1

WASHER

21/32 x 1-1/2 x 11 ga

1шт.

8

595499R91

HARNESS, electrical cable

1шт.

101981R1

CLIP

CLAMP, cable harness

1шт.

140571

CLIP

cable harness

1шт.

9

COIL, engine ignition (for component parts of this assembly refer to the C-153 engine in section "F" of the ENG-1 parts catalog)

1шт.

10

595518R11

CABLE, electric fuel pump to engine ignition coil

1шт.

119702R1

CLIP

fuel pump cable

2шт.

11

119702R1

CLIP

fuel pump to ignition coil cable

2шт.

12

394327R92

PUMP

electric fuel (for fuel line arrangement refer to the applicable "FUEL LINES" pages in section "E" of this parts catalog)

1шт.

413-410

BOLT,Hex, 1/4" - 20 x 5/8", Gr 5

1/4 x 5/8"

2шт.

120375

NUT,Hex, 1/4" - 20, Gr 5

2шт.

492-11025

LOCK WASHER,1/4"

WASHER, LOCK, 1/4"

2шт.

13

PACKAGE, spark plug & coil ignition cable service (for component parts of this assembly refer to the C-153 engine in section "F" of the ENG-1 parts catalog)

1шт.

14

CABLE, coil to distributor secondary (refer to the C-153 engine in section "F" of the ENG-1 parts catalog)

1шт.

15

DISTRIBUTOR, engine ignition (for component parts of this assembly refer to the C-153 engine in section "F" of the ENG-1 parts catalog)

1шт.

16

CABLE, coil to distributor primary (for service refer to the C-153 engine, in section "F" of the ENG-1 parts catalog)

1шт.

17

595490R91

CABLE, battery ground (for attaching parts refer to "BATTERY AND TRAY" in section "G" of this parts catalog)

1шт.

18

BATTERY, ignition (refer to the applicable "BATTERY AND TRAY" in section "G" of this parts catalog)

1шт.

19

595488R91

CABLE, battery to starting motor solenoid switch

1шт.

20

1107344

MOTOR, 12 volt engine starting (for component parts of this assembly refer to "STARTING MOTOR" in section "G" of this parts catalog)

1шт.

180175

BOLT,Hex, 1/2" - 13 x 1 1/4", Gr 5

1/2" x 1-1/4"

2шт.

120378

NUT,Hex, 1/2" - 13, Gr 5

NUT, 1/2"-13, G5

2шт.

120384

WASHER,1/2"

LOCK, 1/2"

2шт.

21

CABLE, voltage regulator No. 2 terminal to engine ignition coil (NSS) (for service order 1 - 595499R91, electrical HARNESS)

1шт.

22

595496R11

CABLE, alternator ground

1шт.

23

1119513

VOLTAGE REGULATOR

REGULATOR, voltage (for component parts of this assembly refer to "VOLTAGE REGULATOR" in section "G" of this parts catalog)

1шт.

413-48

BOLT,Hex, 1/4" - 20 x 1/2", Gr 5

1/4 x 1/2"

1шт.

492-11025

LOCK WASHER,1/4"

WASHER, LOCK, 1/4"

2шт.

24

969325R1

ELEC CONNECTOR,Female

CONNECTOR, voltage regulator terminal

1шт.

25

595497R11

CABLE, voltage regulator terminal to alternator terminal

1шт.

26

969541R1

CONNECTOR, ELEC

CONNECTOR, alternator terminal

1шт.

27

1100771

ALTERNATOR, 12 volt (for component parts of this assembly refer to "ALTERNATOR" in section "G" of this pars catalog)

1шт.

180077

BOLT,Hex, 5/16" - 18 x 3/4", Gr 5

5/16 x 3/4"

1шт.

134238R1

WASHER

11/32 x 3/4" x 16 ga

1шт.

80681

LOCK WASHER,5/16"

WASHER, LOCK, 5/16"

1шт.

28

CABLE, ammeter to "B" terminal on alternator (NSS) (for service order 1 - 595499R91, electrical HARNESS)

1шт.

29

SOLENOID, carburetor fuel shut-off (for component parts of this assembly refer to the C-153 section in the ENG-1 parts catalog)

1шт.

30

636370R91

CABLE, fuel shut-off solenoid to electrical harness

1шт.

31

CABLE, fuel shut-off solenoid to engine ignition coil (NSS) (for service order 1 - 595499R91, electrical HARNESS)

1шт.

32

CABLE, ammeter to engine starting motor solenoid (NSS) (for service order 1 - 595499R91, electrical HARNESS)

1шт.

33

595502R11

CABLE, ammeter to key ignition switch

1шт.

34

154818C91

GAUGE ASSY.

AMMETER, battery ignition

1шт.

35

CABLE, key ignition switch to engine starter button (NSS) (for service order 1 - 595499R91, electrical HARNESS)

1шт.

36

366317R93

SWITCH

BUTTON, engine starting (for attaching & componenet parts of this assembly refer to "ENGINE STARTER BUTTON" in section "G" of this parts catalog)

1шт.

36

366317R93GV

CONTROL

Value, Control Switch

1шт.

37

140571

CLIP

CLAMP, Serial Range: harness-radiator

1шт.

180077

BOLT,Hex, 5/16" - 18 x 3/4", Gr 5

5/16 x 3/4"

1шт.

120376

NUT,5/16"-18, G5

1шт.

80681

LOCK WASHER,5/16"

WASHER, LOCK, 5/16"

1шт.

38

101981R1

CLIP

CLAMP, harness to instrument panel

1шт.

180016

SPRING

1/4 x 1/2"

1шт.

120375

NUT,Hex, 1/4" - 20, Gr 5

1шт.

492-11025

LOCK WASHER,1/4"

WASHER, LOCK, 1/4"

1шт.

Выбрано товаров: 61