Запчасти Case IH 275 (G-16) - ELECTRICAL SYSTEM, WIRING DIAGRAM (06) - ELECTRICAL SYSTEMS

Схема запчастей Case IH 275 - (G-16) - ELECTRICAL SYSTEM, WIRING DIAGRAM (06) - ELECTRICAL SYSTEMS
FIT
1:1
100%

Артикул

Название

Примечание

Количество

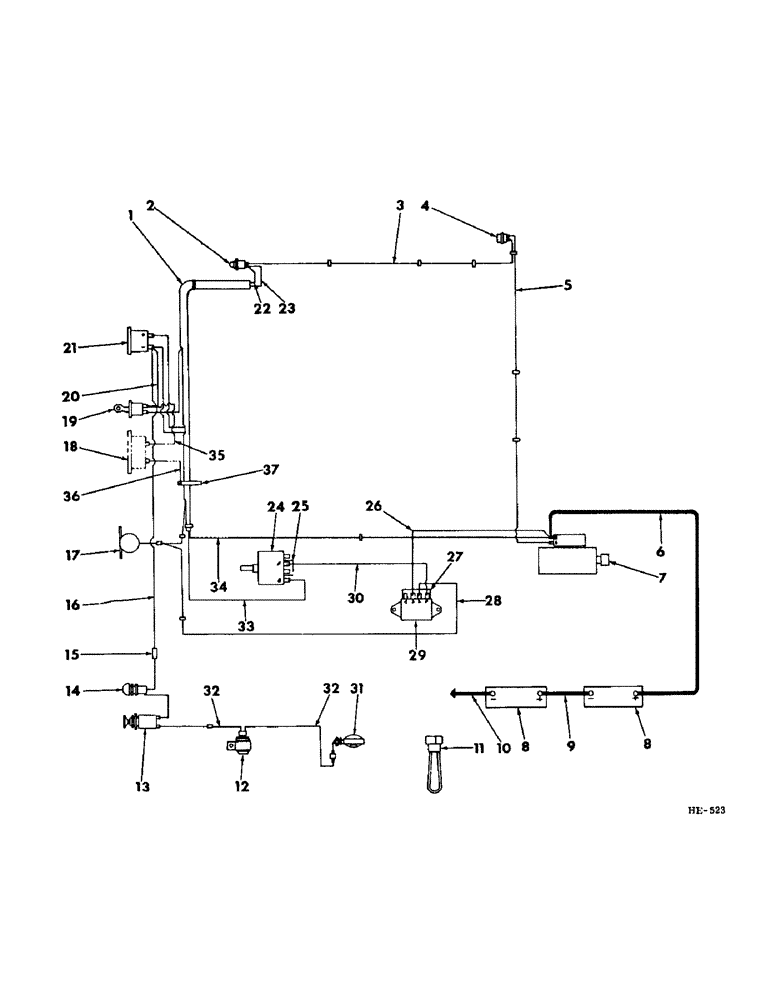
1

596494R1

HARNESS, electrical wiring

1шт.

140582

CLAMP

cable harness

1шт.

119702R1

CLIP

cable harness

2шт.

101981R1

CLIP

CLAMP, cable harness

1шт.

101980R1

CLIP

CLAMP, cable harness

2шт.

2

393209R91

SWITCH

BUTTON, engine starting (for component parts of this assembly refer to "ENGINE STARTER BUTTON" in section "G" of this parts catalog)

1шт.

373612R1

CAP

starter button

1шт.

3

597826R1

CABLE, engine starting button to safety starting switch (for use on 375 Windrower only)

1шт.

119702R1

CLIP

switch cable

3шт.

3

597823R1

CABLE

engine starting button to engine starting motor solenoid switch (for use on 275 Windrower only)

1шт.

4

382728R91

SWITCH

engine safety starting (for use on 375 Windrower only)

1шт.

464623R1

WASHER

21/32 x 1-1/2 x 11 ga

1шт.

5

597827R1

CABLE, safety starting switch to engine starting motor (for use on 375 Windrower only)

1шт.

119702R1

CLIP

safety switch

2шт.

140577

CLIP, safety switch

1шт.

6

896063R91

CABLE, battery to starting motor solenoid switch

1шт.

7

1107866

MOTOR

engine starting (for component parts of this assembly refer to "STARTING MOTOR" in section "G" of this parts catalog)

1шт.

120622

NUT,#8-32

1шт.

121841

LOCK WASHER,#8

WASHER, LOCK, #8

1шт.

8

BATTERY, 6 volt (for component parts of this assembly refer to "BATTERY AND TRAY" in section "G" of this parts catalog)

2шт.

9

684803R91

CABLE, Serial Range: battery-battery

1шт.

10

181342R92

CABLE, Serial Range: battery-ground

1шт.

180081

BOLT,Hex, 5/16"-18 x 1 1/4", G5

1шт.

120376

NUT,5/16"-18, G5

1шт.

80681

LOCK WASHER,5/16"

WASHER, LOCK, 5/16"

1шт.

11

394473R91

CABLE, flashing safety light jumper (for use when steady light is desired OR flashing lights are prohibited by law)

1шт.

12

394132R91

FLASHER UNIT

FLASHER, safety light (for component parts of this assembly refer to "FLASHING SAFETY LIGHT" in section "G" of this parts catalog)

1шт.

13

62801DC

SWITCH

light (for component parts of this assembly refer to "LIGHT SWITCH" in section "G" of this parts catalog)

1шт.

23639S

SPACER, light switch

1шт.

14

592700R92

HOLDER, flashing light fuse

1шт.

9426333

FUSE,15 Amp, Type 3AG

1-1/4" long 15 amp

1шт.

15

376749R1

BODY

CONNECTOR, ammeter to fuse holder cable

1шт.

16

598156R1

CABLE, ammeter negative terminal to fuse holder connector

1шт.

17

394327R92

PUMP

electric fuel (also refer to "FUEL LINES" in section "E" of this parts catalog)

1шт.

18

621657C91

HOURMETER, instrument panel (for component parts of this assembly refer to "HOURMETER" in section "H" of this parts catalog)

1шт.

19

403562R2

SWITCH

key ignition (for component parts of this assembly refer to "KEY IGNITION SWITCH" in section "G" of this parts catalog)

1шт.

20

597820R1

CABLE, ammeter to key ignition switch

1шт.

21

154818C91

GAUGE ASSY.

AMMETER, instrument panel

1шт.

22

CABLE, starter button to electric fuel pump (NSS) (for service order 1 - 596494R1, wiring HARNESS)

1шт.

23

CABLE, starter button to key ignition switch (NSS) (for service order 1 - 596494R1, wiring HARNESS)

1шт.

24

1100805

GENERATOR

ALTERNATOR, 12 volt (NOT applicable when machine equipped w/CAB ATTACHMENT)

1шт.

24

1100791

GENERATOR

ALTERNATOR, 55 amp (applicable ONLY when machine equipped w/CAB ATTACHMENT)

1шт.

25

969541R1

CONNECTOR, ELEC

CONNECTOR, alternator field terminal

1шт.

26

597825R1

CABLE, No. 3 voltage regulator terminal to engine starting motor

1шт.

27

969325R1

ELEC CONNECTOR,Female

CONNECTOR, voltage regulator

1шт.

28

CABLE, electric fuel pump to voltage regulator No. 2 terminal (NSS) (for service order 1 - 596494R1, wiring HARNESS)

1шт.

119702R1

CLIP

pump cable

2шт.

29

1119513

VOLTAGE REGULATOR

REGULATOR, voltage (for component parts of this assembly refer to "VOLTAGE REGULATOR" & "VOLTAGE REGULATOR MOUNTING" in section "G" of this parts catalog)

1шт.

413-412

BOLT,Hex, 1/4" - 20 x 3/4", Gr 5

2шт.

120375

NUT,Hex, 1/4" - 20, Gr 5

2шт.

492-11025

LOCK WASHER,1/4"

WASHER, LOCK, 1/4"

2шт.

30

597824R1

CABLE, "F" terminal on voltage regulator to "F" terminal on alternator

1шт.

31

394129R91

LIGHT

safety flashing (for component parts of this assembly refer to "FLASHING SAFETY LIGHT" in section "G" of this parts catalog) (opt to use 598864R91, LIGHT)

1шт.

394262R1

WASHER

GASKET, light rubber

1шт.

124934

HOSE

1/2" jam

1шт.

31

598864R91

LAMP

LIGHT, safety flashing (for component parts of this assembly refer to "FLASHING SAFETY LIGHT" in section "G" of this parts catalog)

1шт.

394262R1

WASHER

GASKET, light rubber

1шт.

25-158

JAM NUT,Jam, 1/2"-20, G5

1/2" jam

1шт.

32

595983R91

CABLE, safety flashing light to flasher to light switch

1шт.

33

CABLE, ammeter to "B" terminal on alternator (NSS) (for service order 1 - 596494R1, wiring HARNESS)

1шт.

34

CABLE, ammeter to starting motor solenoid switch (NSS) (for service order 1 - 596494R1, wiring HARNESS)

1шт.

35

598936R1

CABLE, starting, Serial Range: switch-hourmeter

1шт.

36

598389R1

CABLE, hourmeter ground

1шт.

37

101981R1

CLIP

CLAMP, electrical harness

1шт.

180016

SPRING

1/4 x 1/2"

1шт.

120375

NUT,Hex, 1/4" - 20, Gr 5

1шт.

492-11025

LOCK WASHER,1/4"

WASHER, LOCK, 1/4"

1шт.

Выбрано товаров: 67