Запчасти Case IH 275 (G-20) - ELECTRICAL SYSTEM, WIRING DIAGRAM (06) - ELECTRICAL SYSTEMS

Схема запчастей Case IH 275 - (G-20) - ELECTRICAL SYSTEM, WIRING DIAGRAM (06) - ELECTRICAL SYSTEMS
FIT
1:1
100%

Артикул

Название

Примечание

Количество

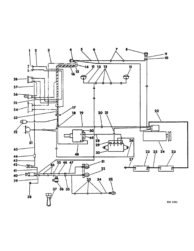
1

827194C1

GAUGE, oil pressure indicator (for component parts of this assembly refer to "ENGINE OIL PRESSURE GAUGE" in section "H" of this parts catalog)

1шт.

2

CABLE, oil pressure gauge negative terminal to harness to engine oil pressure sender

1шт.

3

598936R1

CABLE, engine starter button to instrument panel hourmeter (special)

1шт.

4

393209R91

SWITCH

engine starting button (refer to "ENGINE STARTER BUTTON" in section "G" of this parts catalog)

1шт.

373612R1

CAP

starter button

1шт.

5

597826R1

CABLE, engine starting button to safety starting switch (375 Windrower only)

1шт.

6

597823R1

CABLE

engine starting button to "S" terminal on engine starting motor (275 Windrower only)

1шт.

7

119702R1

CLIP

starting button to safety switch cable (375 Windrower)

4шт.

8

382728R91

SWITCH

engine safety starting (375 Windrower only)

1шт.

464623R1

WASHER

21/32 x 1-1/2 x 11 ga

1шт.

9

597827R1

CABLE, engine safety starting switch to "S" terminal on engine starting motor solenoid (375 Windrower only)

1шт.

10

140577

CLAMP, No. 3 closed at drive pump bracket (375 Windrower only)

1шт.

11

599286R91

LAMP

LIGHT, front head (opt to use 2 - 823029C91, LIGHT) (for component parts of this assembly refer to "HEADLIGHTS" in section "G" of this parts catalog)

2шт.

561916R1

CLAMP, head light

2шт.

120378

NUT,Hex, 1/2" - 13, Gr 5

NUT, 1/2"-13, G5

2шт.

120384

WASHER,1/2"

LOCK, 1/2"

2шт.

11

823029C91

LIGHT

front head (opt to use 2 - 599286R91, LIGHT) (for component parts of this assembly refer to "HEADLIGHTS" in section "G" of this parts catalog)

2шт.

561916R1

CLAMP, head light

2шт.

120378

NUT,Hex, 1/2" - 13, Gr 5

NUT, 1/2"-13, G5

2шт.

120384

WASHER,1/2"

LOCK, 1/2"

2шт.

12

119702R1

CLIP

head light cable

6шт.

13

598103R1

CABLE, front head lights to light switch

1шт.

119702R1

CLIP

head light cable

6шт.

14

CABLE, engine starting button to key ignition switch (NSS) (for service order 1 - 827088C1, wiring HARNESS)

1шт.

15

CABLE, engine starting button to electric fuel pump (NSS) (for service order 1 - 827088C1, wiring HARNESS)

1шт.

16

827088C1

HARNESS, electrical wiring

1шт.

17

101981R1

CLIP

CLAMP, electrical wiring harness to instrument panel

1шт.

413-48

BOLT,Hex, 1/4" - 20 x 1/2", Gr 5

1/4 x 1/2"

1шт.

120375

NUT,Hex, 1/4" - 20, Gr 5

1шт.

492-11025

LOCK WASHER,1/4"

WASHER, LOCK, 1/4"

1шт.

18

140582

CLAMP

harness radiator bracket

1шт.

19

CABLE, ammeter positive terminal to "B" terminal on starting motor solenoid switch (NSS) (for service order 1 - 827088C1, wiring HARNESS)

1шт.

20

101980R1

CLIP

CLAMP, ammeter to starting motor cable

1шт.

21

597825R1

CABLE, No. 3 terminal on voltage regulator to "B" terminal on starting motor solenoid switch

1шт.

22

896063R91

CABLE, battery positive terminal to "B" terminal on starting motor

1шт.

23

BATTERY, 6 volt (for component parts refer to "BATTERY AND TRAY" in section "G" of this parts catalog)

2шт.

24

1107866

MOTOR

engine starting (for component parts of this assembly refer to "STARTING MOTOR" in section "G" of this parts catalog)

1шт.

120622

NUT,#8-32

1шт.

121841

LOCK WASHER,#8

WASHER, LOCK, #8

1шт.

25

684803R91

CABLE, Serial Range: battery-battery

1шт.

26

CABLE, No. 2 terminal on voltage regulator to electric fuel pump (NSS) (for service order 1 - 827088C1, wiring HARNESS)

1шт.

27

181342R92

CABLE, battery ground

1шт.

28

597824R1

CABLE, "F" terminal on voltage regulator to "F" terminal on alternator

1шт.

29

969325R1

ELEC CONNECTOR,Female

CONNECTOR, voltage regulator terminal

1шт.

30

1119513

VOLTAGE REGULATOR

REGULATOR, voltage (for component parts of this assembly refer to "VOLTAGE REGULATOR & "VOLTAGE REGULATOR MOUNTING" in section "G" of this parts catalog)

1шт.

413-412

BOLT,Hex, 1/4" - 20 x 3/4", Gr 5

2шт.

120375

NUT,Hex, 1/4" - 20, Gr 5

2шт.

492-11025

LOCK WASHER,1/4"

WASHER, LOCK, 1/4"

2шт.

31

599287R91

LIGHT, combination work & tail (for component parts of this assembly refer to "WORK LIGHT" in section "G" of this parts catalog)

1шт.

120378

NUT,Hex, 1/2" - 13, Gr 5

NUT, 1/2"-13, G5

2шт.

120384

WASHER,1/2"

LOCK, 1/2"

1шт.

32

394129R91

LIGHT

safety flashing (opt to use 598864R91, LIGHT) (for component parts of this assembly refer to "FLASHING SAFETY LIGHT" in section "G" of this parts catalog)

2шт.

394262R1

WASHER

GASKET, light rubber

2шт.

124934

HOSE

1/2" jam

2шт.

32

598864R91

LAMP

LIGHT, safety flashing (opt to use 394129R91, LIGHT) (for component parts of this assembly refer to "FLASHING SAFETY LIGHT" in section "G" of this parts catalog)

2шт.

394262R1

WASHER

GASKET, light rubber

2шт.

25-158

JAM NUT,Jam, 1/2"-20, G5

1/2" jam

2шт.

33

121506R1

CLIP

CLAMP, flashing lights to flasher to light switch cable

3шт.

113-206

BOLT,Hex, 3/8" - 16 x 3/4", Gr 5, Full Thd

3/8 x 3/4"

2шт.

180122

BOLT,Hex, 3/8" - 16 x 1", Gr 5

3/8 x 1"

1шт.

120377

NUT,3/8" - 16, Gr 5

3шт.

120382

LOCK WASHER,Helical Spring, 3/8"

WASHER, LOCK, 3/8"

3шт.

34

827177C1

CABLE, flashing lights to flasher to light switch

1шт.

35

117960

GROMMET,5/16" ID x .719" x .188"

radiator screen air chamber

2шт.

36

394132R91

FLASHER UNIT

FLASHER, safety light (for component parts of this assembly refer to "FLASHING SAFETY LIGHT" in section "G" of this parts catalog)

1шт.

37

394473R91

CABLE, flashing safety light jumper (for use when steady light is desired OR flashing lights are prohibited by law)

1шт.

38

598248R91

LIGHT, instrument panel (opt to use 1 - 850613C91, LIGHT) (for component parts of this assembly refer to "DASH LIGHT" in section "G" of this parts catalog)

1шт.

38

850613C91

LIGHT, instrument panel (opt to use 1 - 598248R91, LIGHT) (for component parts of this assembly refer to "DASH LIGHT" in section "G" of this parts catalog)

1шт.

39

CABLE, instrument panel light to light switch (NSS) (for service order 1 - 598248R91, LIGHT OR 1 - 850613C91, LIGHT)

1шт.

40

62801DC

SWITCH

light (for component parts of this assembly refer to "LIGHT SWITCH" in section "G" of this parts catalog)

1шт.

23639S

SPACER, switch

1шт.

41

CABLE, fuse holder to light switch (NSS) (for service order 1 - 592700R92, HOLDER)

1шт.

42

592700R92

HOLDER, flashing light fuse

1шт.

9426333

FUSE,15 Amp, Type 3AG

1-1/4" long 15 amp

1шт.

43

CABLE, fuse holder to connector on ammeter cable (NSS) (for service order 1 - 592700R92, HOLDER)

1шт.

44

376749R1

BODY

CONNECTOR, fuse holder cable to ammeter cable

1шт.

45

598156R1

CABLE, ammeter negative terminal to fuse holder connector

1шт.

46

119702R1

CLIP

work light cable

3шт.

47

823003C1

CABLE, light switch to combination work & tail light

1шт.

48

CABLE, negative terminal on ammeter to harness to "B" terminal on alternator (NSS) (for service order 1 - 827088C1, wiring HARNESS)

1шт.

49

969541R1

CONNECTOR, ELEC

CONNECTOR, alternator field terminal

1шт.

50

1100805

GENERATOR

ALTERNATOR, 12 volt (NOT applicable when machine equipped w/CAB ATTACHMENT) (for component parts of this assembly refer to "ALTERNATOR" in section "G" of this parts catalog)

1шт.

50

1100791

GENERATOR

ALTERNATOR, 55 amp (applicable ONLY when machine equipped w/CAB ATTACHMENT) (for component parts of this assembly refer to "ALTERNATOR" in section "G" of this parts catalog)

1шт.

51

394327R92

PUMP

electric fuel (also refer to "FUEL LINES" in section "E" of this parts catalog)

1шт.

52

827193C1

GAUGE

oil pressure engine sender

1шт.

53

598389R1

CABLE, hourmeter ground

1шт.

54

621657C91

HOURMETER, instrument panel (for component parts of this assembly refer to "HOURMETER" in section "H" of this parts catalog)

1шт.

55

CABLE, ammeter positive terminal to key ignition switch (NSS) (for service order 1 - 827088C1, wiring HARNESS)

1шт.

56

403562R2

SWITCH

key ignition (for component parts of this assembly refer to "KEY IGNITION SWITCH" in section "G" of this parts catalog)

1шт.

57

597820R1

CABLE, ammeter negative terminal to key ignition switch

1шт.

58

154818C91

GAUGE ASSY.

AMMETER, instrument panel

1шт.

Выбрано товаров: 91