Запчасти Case IH 275 (G-34) - ELECTRICAL SYSTEM, LIGHTING WIRING DIAGRAM (06) - ELECTRICAL SYSTEMS

Схема запчастей Case IH 275 - (G-34) - ELECTRICAL SYSTEM, LIGHTING WIRING DIAGRAM (06) - ELECTRICAL SYSTEMS
FIT
1:1
100%

Артикул

Название

Примечание

Количество

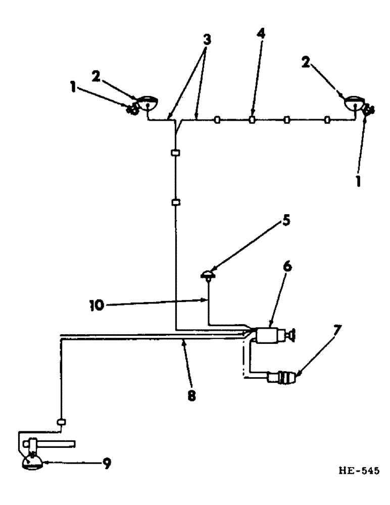
1

561916R1

CLAMP, head light

2шт.

2

599286R91

LAMP

LIGHT, front head (opt to use 1 - 823029C91, LIGHT) (for component parts of this assembly refer to "HEADLIGHT" in section "G" of this parts catalog)

2шт.

120378

NUT,Hex, 1/2" - 13, Gr 5

NUT, 1/2"-13, G5

2шт.

120384

WASHER,1/2"

LOCK, 1/2"

2шт.

2

823029C91

LIGHT

front head (opt to use 1 - 599286R91, LIGHT) (for component parts of this assembly refer to "HEADLIGHT" in section "G" of this parts catalog)

2шт.

120378

NUT,Hex, 1/2" - 13, Gr 5

NUT, 1/2"-13, G5

2шт.

120384

WASHER,1/2"

LOCK, 1/2"

2шт.

3

598103R1

CABLE, light switch to LH & RH headlight

1шт.

119702R1

CLIP

head light cable

6шт.

4

119702R1

CLIP

head light cable

6шт.

5

598248R91

LIGHT, instrument panel dash (opt to use 1 - 850613C91, LIGHT) (for component parts of this assembly refer to "DASH LIGHT" in section "G" of this parts catalog)

1шт.

5

850613C91

LIGHT, instrument panel dash (opt to use 1 - 598248R91, LIGHT) (for component parts of this assembly refer to "DASH LIGHT" in section "G" of this parts catalog)

1шт.

6

62801DC

SWITCH

light

1шт.

7

592700R91

HOLDER

safety light fuse (also refer to "FLASHING SAFETY LIGHT" in section "G" of this parts catalog)

1шт.

432644

FUSE,20 Amp, Type SFE

type AGC 20 amp

1шт.

8

823003C1

CABLE, light switch to tail light (for use on 275 Windrower & 375 Windrower when tail light is mounted to LH side of operator's platform)

1шт.

119702R1

CLIP

tail light cable

1шт.

9

599287R91

LIGHT, combination work & tail light (for component parts of this assembly, refer to "WORK AND TAIL LIGHT" in section "G" of this parts catalog)

1шт.

10

CABLE, dash light to light switch (NSS) (order 1 - 598248R91, OR 1 - 850613C91, LIGHT)

1шт.

Выбрано товаров: 19