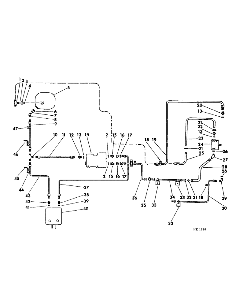
Запчасти Case IH 275 (F-16) - HYDRAULIC SYSTEM, RESERVOIR TO PUMP AND VALVE HYDRAULIC LINES (07) - HYDRAULIC SYSTEM

Схема запчастей Case IH 275 - (F-16) - HYDRAULIC SYSTEM, RESERVOIR TO PUMP AND VALVE HYDRAULIC LINES (07) - HYDRAULIC SYSTEM
FIT
1:1
100%

Артикул

Название

Примечание

Количество

1

9411120

TEE,1 1/16"-12, 37 Degree x 1 1/16"-12, O-Ring Br

reservoir suction tube

1шт.

368269R1

O-RING,0.116" Thk x 0.924" ID, -912, Cl 6, 90 Duro

reservoir tee

1шт.

2

368269R1

O-RING,0.116" Thk x 0.924" ID, -912, Cl 6, 90 Duro

suction tube tee & flow divider connector

3шт.

3

598060R1

CONNECTOR, oil resevoir tee reducer

1шт.

296247R1

O-RING,16-1, 90 Duro, 1.171" ID x .116" Thk

tee connector

1шт.

4

296247R1

O-RING,16-1, 90 Duro, 1.171" ID x .116" Thk

reservoir tee connector

1шт.

5

595382R91

RESERVOIR, hyd oil (for use on 375 Windrower, built prior to machine serial No. 701) (for component parts of this assembly refer to "HYDRAULIC OIL RESERVOIR" in section "F" of this parts catalog)

1шт.

5

160993C91

RESERVOIR, hyd oil (for use on 375 Windrower, built w/machine serial No. 701 & since) (for component parts of this assembly refer to "HYDRAULIC OIL RESERVOIR" in section "F" of this parts catalog)

1шт.

6

380632R1

HYD CONNECTOR,3/4"-16, 37 Degree x 1 1/16"-12, O-Ring

CONNECOTOR, reservoir return port (for use on 375 Windrower built w/machine serial No. 201 to machine serial No. 701)

1шт.

368269R1

O-RING,0.116" Thk x 0.924" ID, -912, Cl 6, 90 Duro

reservoir connector

1шт.

6

386976R91

BUSHING,MALE-FEMALE STRT THREAD - #12 (3/4) male oring boss (UNO) to #6 (3/8) O-Ring Boss (UNO) female

REDUCER, hyd oil reservoir return tube (for use on 375 Windrower built w/machine serial No. 701 & since)

1шт.

7

368269R1

O-RING,0.116" Thk x 0.924" ID, -912, Cl 6, 90 Duro

return port connector (for use on 375 Windrower built w/machine serial No. 201 to machine serial No. 701)

1шт.

7

570828R1

O-RING,0.087" Thk x 0.644" ID, -908, Cl 6, 90 Duro

connector swivel elbow (for use on 375 Windrower built w/machine serial No. 701 & since)

1шт.

8

9411105

ELBOW,45 Degree, 3/4"-16, 37 Degree x 3/4"-16, O-Ring

45 degree reservoir connector swivel (for use on 375 Windrower built w/machine serial No. 701 & since)

1шт.

570828R1

O-RING,0.087" Thk x 0.644" ID, -908, Cl 6, 90 Duro

swivel elbow

1шт.

9

597899R1

TUBE, oil reservoir return (for use on 375 Windrower built w/machine serial No. 201 to machine serial No. 701) 1" OD, 43.15, 12.84" Length

1шт.

9

823724C1

TUBE, oil reservoir return (for use on 375 Windrower built w/machine serial No. 701 & since)

1шт.

10

9402982

TEE,3/4"-16, 37 Degree

return tube 3 - way

1шт.

11

596437R1

TUBE, flow divider valve return

1шт.

12

9410203

HYD CONNECTOR,3/4"-16, 37 Degree x 3/4"-16, O-Ring

CONNECTOR, divider valve return

1шт.

570828R1

O-RING,0.087" Thk x 0.644" ID, -908, Cl 6, 90 Duro

return tube connector

1шт.

13

570828R1

O-RING,0.087" Thk x 0.644" ID, -908, Cl 6, 90 Duro

return tube connector

3шт.

14

396876R91

VALVE, flow divider (for use on 375 Windrower built w/machine serial No. 201 to machine serial No. 823) (for component parts of this assembly refer to "HYDRAULIC FLOW DIVIDER VALVE" in section "F" of this parts catalog)

1шт.

180137

BOLT,Hex, 3/8" - 16 x 2 3/4", Gr 5

3/8 x 2-3/4"

3шт.

120377

NUT,3/8" - 16, Gr 5

3шт.

120382

LOCK WASHER,Helical Spring, 3/8"

WASHER, LOCK, 3/8"

3шт.

14

543959R91

VALVE, flow divider (for use on 375 Windrower built w/machine serial No. 823 & since) (for component parts of this assembly refer to "HYDRAULIC FLOW DIVIDER VALVE" in section "F" of this parts catalog)

1шт.

180137

BOLT,Hex, 3/8" - 16 x 2 3/4", Gr 5

3/8 x 2-3/4"

3шт.

120377

NUT,3/8" - 16, Gr 5

3шт.

120382

LOCK WASHER,Helical Spring, 3/8"

WASHER, LOCK, 3/8"

3шт.

15

380632R1

HYD CONNECTOR,3/4"-16, 37 Degree x 1 1/16"-12, O-Ring

CONNECTOR, flow divider valve pressure tube

2шт.

368269R1

O-RING,0.116" Thk x 0.924" ID, -912, Cl 6, 90 Duro

pressure connector

2шт.

16

9403528

TUBE NUT,37 Degree, 3/4"-16, Type B

NUT, 3/4" - NF connector reducer

2шт.

17

9403400

REDUCER,37 Degree, 1/2" x 3/8" Tube

1/2 x 3/8" flow divider valve tube

2шт.

18

595432R1

CLAMP

hyd pump high pressure

3шт.

180118

BOLT,Hex, 3/8" - 16 x 5/8", Gr 5

3/8 x 5/8"

3шт.

120377

NUT,3/8" - 16, Gr 5

3шт.

120382

LOCK WASHER,Helical Spring, 3/8"

WASHER, LOCK, 3/8"

3шт.

19

598150R1

TUBE, oil reservoir to hyd pump (for use on 375 Windrower, built w/machine serial No. 201 to machine serial No. 701)

1шт.

19

823674C11

TUBE, oil reservoir to hyd pump (for use on 375 Windrower, built w/machine serial No. 701 to machine serial No. 2000)

1шт.

20

597895R1

CONNECTOR, reservoir tube to hyd pump suction tube (for use on 375 Windrower built prior to machine serial No. 2000)

1шт.

570828R1

O-RING,0.087" Thk x 0.644" ID, -908, Cl 6, 90 Duro

hyd pump connector

1шт.

21

628091R1

CLAMP, hyd suction hose (for use on 375 Windrower built w/machine serial No. 2000 & since)

2шт.

22

614328R1

CONNECTOR, ELEC

FITTING, hyd pump suction hose (for use on 375 Windrower built w/machine serial No. 2000 & since)

1шт.

570828R1

O-RING,0.087" Thk x 0.644" ID, -908, Cl 6, 90 Duro

suction hose fitting

1шт.

23

825780C1

HOSE, hyd pump suction (for use on 375 Windrower built w/machine serial No. 2000 & since)

1шт.

24

591980R91

PUMP

hyd (for use on 375 Windrower built prior to machine serial No. 2000) (for component parts of this assembly refer to "HYDRAULIC PUMP" in section "F" of this parts catalog)

1шт.

180122

BOLT,Hex, 3/8" - 16 x 1", Gr 5

3/8 x 1"

2шт.

120382

LOCK WASHER,Helical Spring, 3/8"

WASHER, LOCK, 3/8"

2шт.

24

607150R91

PUMP

hyd (for use on 375 Windrower built w/machine serial No. 2000 & since) (for component parts of this assembly refer to "HYDRAULIC PUMP" in section "F" of this parts catalog)

1шт.

180124

BOLT,Hex, 3/8" - 16 x 1 1/4", Gr 5

3/8 x 1-1/4"

2шт.

120377

NUT,3/8" - 16, Gr 5

2шт.

120382

LOCK WASHER,Helical Spring, 3/8"

WASHER, LOCK, 3/8"

2шт.

25

595389R21

TUBE, oil reservoir to hyd pump suction (for use on 375 Windrower built w/machine serial No. 2000 & since) 0.75" OD, 4.5, 3.5" Length

1шт.

26

364839R1

O-RING,0.078" Thk x 0.468" ID, -906, Cl 6, 90 Duro

6-1, 90 Duro, .468" ID x .078" Thk, hyd pump pressure outlet

1шт.

27

9410098

ELBOW, 45 degree hyd pump pressure outlet (for use on 375 Windrower, built w/machine serial No. 2000 & since)

1шт.

364839R1

O-RING,0.078" Thk x 0.468" ID, -906, Cl 6, 90 Duro

6-1, 90 Duro, .468" ID x .078" Thk, pump pressure elbow

1шт.

28

536445R1

HOSE

hyd pump pressure (for use on 375 Windrower built w/machine serial No. 2000 & since)

1шт.

29

9410976

ELBOW,90 Degree, 9/16"-18, 37 Degree x 9/16"-18, O-Ring

90 degree hyd pump pressure outlet (for use on 375 Windrower built prior to machine serial No. 2000)

1шт.

364839R1

O-RING,0.078" Thk x 0.468" ID, -906, Cl 6, 90 Duro

6-1, 90 Duro, .468" ID x .078" Thk, pump pressure elbow

1шт.

30

598151R1

TUBE, hyd pump to flow divider valve pressure (for use on 375 Windrower built prior to machine serial No. 2000)

1шт.

31

9403254

FITTING,Blkhd, 9/16"-18, 37 Degree x 9/16"-18, 37 Degree

UNION, pressure hose to rear pressure tube (for use on 375 Windrower built w/machine serial No. 2000 & since)

1шт.

32

9403293

LOCK NUT,Blkhd, 9/16"-18

NUT, 3/8" bulk head union (for use on 375 Windrower built w/machine serial No. 2000 & since)

1шт.

33

595436R1

ANGLE, hyd tube clamp, (for use on 375 Windrower built w/machine serial No. 2000 & since)

2шт.

24

827095C1

TUBE, pressure hose to union rear pressure (for use on 375 Windrower built w/machine serial No. 2000 & since)

1шт.

25

9402786

UNION,9/16"-18, 37 Degree x 9/16"-18, 37 Degree

hyd pump to divider valve tube

1шт.

36

598152R2

TUBE, high pressure front (for use on 375 Windrower built prior to machine serial No. 2000)

1шт.

36

827094C1

TUBE, high pressure front (for use on 375 Windrower built w/machine serial No. 2000 & since)

1шт.

37

597897R1

TUBE, flow divider valve to control valve pressure tube 0.375" OD, 18, 8.2" Length

1шт.

38

9410202

HYD CONNECTOR,9/16"-18, 37 Degree x 9/16"-18, O-Ring

UNION, hyd valve pressure

1шт.

364839R1

O-RING,0.078" Thk x 0.468" ID, -906, Cl 6, 90 Duro

6-1, 90 Duro, .468" ID x .078" Thk, pressure union

1шт.

39

364839R1

O-RING,0.078" Thk x 0.468" ID, -906, Cl 6, 90 Duro

6-1, 90 Duro, .468" ID x .078" Thk, control valve union

1шт.

40

823690C92

VALVE

1шт.

VALVE, hyd control (for service on 375 Windrower built w/machine serial No. 598 to machine serial No. 982 order 1 - 825326C92, VALVE & 1 - 824544C1, PLATE) (for component parts of this assembly refer to "HYDRAULIC CONTROL VALVE" in section "F" of this parts catalog)

1шт.

180042

BOLT,Hex, 1/4" - 20 x 1 3/4", Gr 5

BOLT, 1/4 x 1-3/4"

2шт.

120375

NUT,Hex, 1/4" - 20, Gr 5

2шт.

492-11025

LOCK WASHER,1/4"

WASHER, LOCK, 1/4"

2шт.

40

825326C92

VALVE

hyd control (for use on 375 Windrower built w/machine serial No. 982 & since) (for component parts of this assembly refer to "HYDRAULIC CONTROL VALVE" in section "F" of this parts catalog)

1шт.

180042

BOLT,Hex, 1/4" - 20 x 1 3/4", Gr 5

BOLT, 1/4 x 1-3/4"

2шт.

120375

NUT,Hex, 1/4" - 20, Gr 5

2шт.

492-11025

LOCK WASHER,1/4"

WASHER, LOCK, 1/4"

2шт.

41

364839R1

O-RING,0.078" Thk x 0.468" ID, -906, Cl 6, 90 Duro

6-1, 90 Duro, .468" ID x .078" Thk, hyd control valve return tube reducer (for use on 375 Windrower built w/machine s/n 201 to machine s/n 598)

1шт.

41

570828R1

O-RING,0.087" Thk x 0.644" ID, -908, Cl 6, 90 Duro

hyd control valve return tube reducer (for use on 375 Windrower built w/machine serial No. 598 & since)

1шт.

42

382449R1

CONNECTOR, ELEC

REDUCER, hyd control valve return tube (for use on 375 Windrower built w/machine serial No. 201 to machine serial No. 598)

1шт.

364839R1

O-RING,0.078" Thk x 0.468" ID, -906, Cl 6, 90 Duro

6-1, 90 Duro, .468" ID x .078" Thk, return tube reducer

1шт.

42

9410203

HYD CONNECTOR,3/4"-16, 37 Degree x 3/4"-16, O-Ring

CONNECTOR, hyd control valve return tube (for use on 375 Windrower built w/machine serial No. 598 & since)

1шт.

570828R1

O-RING,0.087" Thk x 0.644" ID, -908, Cl 6, 90 Duro

return tube connector

1шт.

43

597898R1

TUBE, hyd control valve return

1шт.

44

826157C1

CLAMP, reservoir return tube

2шт.

180118

BOLT,Hex, 3/8" - 16 x 5/8", Gr 5

3/8 x 5/8"

2шт.

120377

NUT,3/8" - 16, Gr 5

2шт.

120382

LOCK WASHER,Helical Spring, 3/8"

WASHER, LOCK, 3/8"

2шт.

45

597900R1

SUPPORT, reservoir return tube clamp

1шт.

113-206

BOLT,Hex, 3/8" - 16 x 3/4", Gr 5, Full Thd

3/8 x 3/4"

1шт.

619856R1

WASHER

13/32 x 1 x 16 ga

1шт.

120377

NUT,3/8" - 16, Gr 5

1шт.

120382

LOCK WASHER,Helical Spring, 3/8"

WASHER, LOCK, 3/8"

1шт.

46

825280C1

ANGLE, hyd tube clamp support (for use on 375 Windrower built w/machine serial No. 747 & since)

1шт.

47

595432R1

CLAMP

hyd tube

2шт.

113-206

BOLT,Hex, 3/8" - 16 x 3/4", Gr 5, Full Thd

3/8 x 3/4"

2шт.

120377

NUT,3/8" - 16, Gr 5

2шт.

120382

LOCK WASHER,Helical Spring, 3/8"

WASHER, LOCK, 3/8"

2шт.

Выбрано товаров: 102