Запчасти Case IH 275 (M-06) - SEAT, OPERATORS PLATFORM AND MISCELLANEOUS, OPERATORS SEAT SUSPENSION (10) - OPERATORS PLATFORM

Схема запчастей Case IH 275 - (M-06) - SEAT, OPERATORS PLATFORM AND MISCELLANEOUS, OPERATORS SEAT SUSPENSION (10) - OPERATORS PLATFORM
FIT
1:1
100%

Артикул

Название

Примечание

Количество

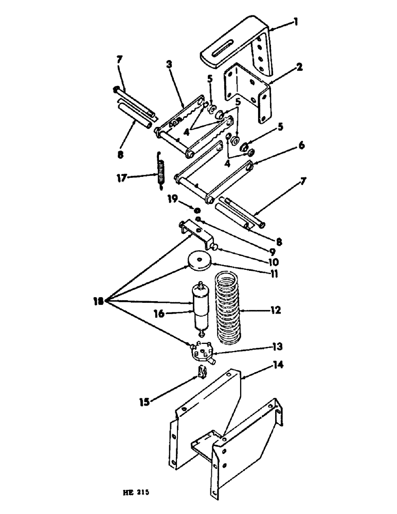
1

592678R2

BAR, operator's seat mounting

1шт.

180175

BOLT,Hex, 1/2" - 13 x 1 1/4", Gr 5

1/2 x 1-1/4"

2шт.

120378

NUT,Hex, 1/2" - 13, Gr 5

NUT, 1/2"-13, G5

2шт.

120384

WASHER,1/2"

LOCK, 1/2"

2шт.

2

592679R2

POST, seat mounting bar "U"

1шт.

181638

BOLT,Hex, 3/8" - 24 x 1 1/8"

3/8 - NF x 1-1/8"

2шт.

685546R1

NUT

LK-NUT, 3/8" - NF

2шт.

138489

LOCK WASHER,Ext Tooth, 3/8"

WASHER, LOCK, Ext Tooth, 3/8"

2шт.

3

ARM, notched (NSS) (for service order 1 - 592680R91, ARM)

1шт.

592743R91

FITTING, special lub

1шт.

3

592680R91

ARM, seat suspension upper notched, composed of, (NSS) (1) arm, (2) bearing 592681R91, (2) bolt 181638, (1) bolt 20768R1, (1) fitting 592743R91, (2) lockwasher 138489, (2) lockwasher 138542, (3) locknut 685546R1, (1) tube 592682R1

1шт.

181638

BOLT,Hex, 3/8" - 24 x 1 1/8"

3/8 - NF x 1-1/8"

2шт.

685546R1

NUT

LK-NUT, 3/8" - NF

2шт.

138489

LOCK WASHER,Ext Tooth, 3/8"

WASHER, LOCK, Ext Tooth, 3/8"

2шт.

4

138542

LOCK WASHER,Int Tooth, 3/8"

WASHER, LOCK, Int Tooth, 3/8"

4шт.

5

592681R91

BEARING, notched & plain arm

4шт.

6

ARM, plain (NSS) (for service order 1 - 592684R91, ARM)

1шт.

592743R91

FITTING, special lub

1шт.

6

592684R91

ARM, seat suspension lower plain, composed of, (NSS) (1) arm, (2) bearing 592681R91, (2) bolt 181638, (1) bolt 20768R1, (1) fitting 592743R91, (2) lockwasher, (3) locknut 685546R1, (1) tube 592682R1

1шт.

181638

BOLT,Hex, 3/8" - 24 x 1 1/8"

3/8 - NF x 1-1/8"

2шт.

685546R1

NUT

LK-NUT, 3/8" - NF

2шт.

138489

LOCK WASHER,Ext Tooth, 3/8"

WASHER, LOCK, Ext Tooth, 3/8"

2шт.

7

20768R1

BOLT, 3/8 - NF x 7-9/16"

2шт.

685546R1

NUT

3/8" - NF

2шт.

138542

LOCK WASHER,Int Tooth, 3/8"

WASHER, LOCK, Int Tooth, 3/8"

2шт.

8

592682R1

TUBE, arm brg 0.384" ID, 0.5" OD, 6.75" Length

2шт.

9

592693R1

WASHER, absorber rubber

2шт.

10

592688R11

CLEVIS, seat shock

1шт.

11

592689R1

CUP, seat shock

1шт.

12

592690R1

SPRING, seat shock

1шт.

13

592691R1

ROCKER, shock spg

1шт.

14

592685R93

FRAME, seat suspension

1шт.

103375

COTTER PIN,3/32" x 1 1/4"

Pin, Split (Cotter), 3/32" x 1 1/4"

2шт.

180075

BOLT,Hex, 5/16" - 18 x 5/8", Gr 5

5/16 x 5/8"

10шт.

120376

NUT,5/16"-18, G5

10шт.

80681

LOCK WASHER,5/16"

WASHER, LOCK, 5/16"

10шт.

15

592686R1

BUMPER, shock absorber rubber

1шт.

16

592692R91

SHOCK ABSORBER, seat

1шт.

685546R1

NUT

LK-NUT, 3/8-NF

2шт.

592693R1

WASHER, absorber rubber

2шт.

592694R1

WASHER, absorber special

2шт.

17

592683R1

SPRING, notched arm tension

1шт.

18

592687R91

SHOCK & SPRING, operstors seat composed of: (1) clevis 592688R11, (1) cup 592689R1, (2) locknut 685546R1, (1) rocker 592691R1, (1) shock 592692R1, (1) spring 592690R1, (2) washer 592693R1, (2) washer 592694R1

1шт.

103375

COTTER PIN,3/32" x 1 1/4"

Pin, Split (Cotter), 3/32" x 1 1/4"

2шт.

19

592694R1

WASHER, absorber carburized

2шт.

Выбрано товаров: 45