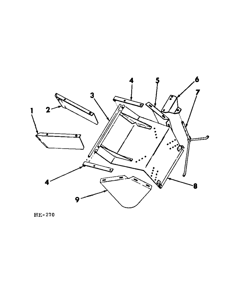
Запчасти Case IH 275 (P-03) - HAY CONDITIONER, HAY CONDITIONER GATHERING SHIELD Hay Conditioner

Схема запчастей Case IH 275 - (P-03) - HAY CONDITIONER, HAY CONDITIONER GATHERING SHIELD Hay Conditioner
FIT
1:1
100%

Артикул

Название

Примечание

Количество

1

596202R1

DEFLECTOR, front swath LH

1шт.

598802R1

CARRIAGE BOLT,Short NK, 5/16"-18 x 3/4", G5, Full Thd

BOLT, 5/16 x 3/4" crg

2шт.

120376

NUT,5/16"-18, G5

2шт.

80681

LOCK WASHER,5/16"

WASHER, LOCK, 5/16"

2шт.

2

596203R1

DEFLECTOR, front swath RH

1шт.

598802R1

CARRIAGE BOLT,Short NK, 5/16"-18 x 3/4", G5, Full Thd

BOLT, 5/16 x 3/4" crg

2шт.

120376

NUT,5/16"-18, G5

2шт.

80681

LOCK WASHER,5/16"

WASHER, LOCK, 5/16"

2шт.

3

596205R1

ROD, rear deflector hinge

1шт.

4

596204R1

BRACKET, rear deflector hinge rod

2шт.

180173

BOLT,Hex, 1/2" - 13 x 1", Gr 5

4шт.

120384

WASHER,1/2"

LOCK, 1/2"

4шт.

5

596215R1

DEFLECTOR, rear side RH

1шт.

88574

BOLT,Hex, 5/16" - 18 x 1/2", Gr 5, Full Thd

4шт.

134238R1

WASHER

11/32 x 1 x 16 ga

4шт.

120376

NUT,5/16"-18, G5

4шт.

80681

LOCK WASHER,5/16"

WASHER, LOCK, 5/16"

4шт.

6

596212R1

SUPPORT, adjuster (for use on 275 Windrower built prior to 1971 season)

1шт.

180177

BOLT,Hex, 1/2" - 13 x 1 1/2", Gr 5

1/2 x 1-1/2"

2шт.

120378

NUT,Hex, 1/2" - 13, Gr 5

NUT, 1/2"-13, G5

2шт.

120384

WASHER,1/2"

LOCK, 1/2"

2шт.

6

825516C1

SUPPORT, adjuster (for use on 275 Windrower built 1971 season & since)

1шт.

113-206

BOLT,Hex, 3/8" - 16 x 3/4", Gr 5, Full Thd

3/8 x 1"

2шт.

120377

NUT,3/8" - 16, Gr 5

2шт.

120382

LOCK WASHER,Helical Spring, 3/8"

WASHER, LOCK, 3/8"

2шт.

6

596213R1

SUPPORT, adjuster (for use on 375 Windrower when equipped w/single auger platform)

1шт.

180122

BOLT,Hex, 3/8" - 16 x 1", Gr 5

3/8 x 1"

2шт.

120377

NUT,3/8" - 16, Gr 5

2шт.

120382

LOCK WASHER,Helical Spring, 3/8"

WASHER, LOCK, 3/8"

2шт.

7

596209R91

ADJUSTER, rear deflector

1шт.

599744R1

AXLE PIN

C-PIN, quick-attachable

2шт.

178374R1

WASHER

17/32 x 1-1/4 x 16 ga

2шт.

432-1216

COTTER PIN,3/16" x 1"

Pin, Split (Cotter), 3/16" x 1"

2шт.

8

596206R11

DEFLECTOR, rear

1шт.

9

596214R1

DEFLECTOR, rear side LH

1шт.

88574

BOLT,Hex, 5/16" - 18 x 1/2", Gr 5, Full Thd

4шт.

134238R1

WASHER

11/32 x 1 x 16 ga

4шт.

120376

NUT,5/16"-18, G5

4шт.

80681

LOCK WASHER,5/16"

WASHER, LOCK, 5/16"

4шт.

Выбрано товаров: 39