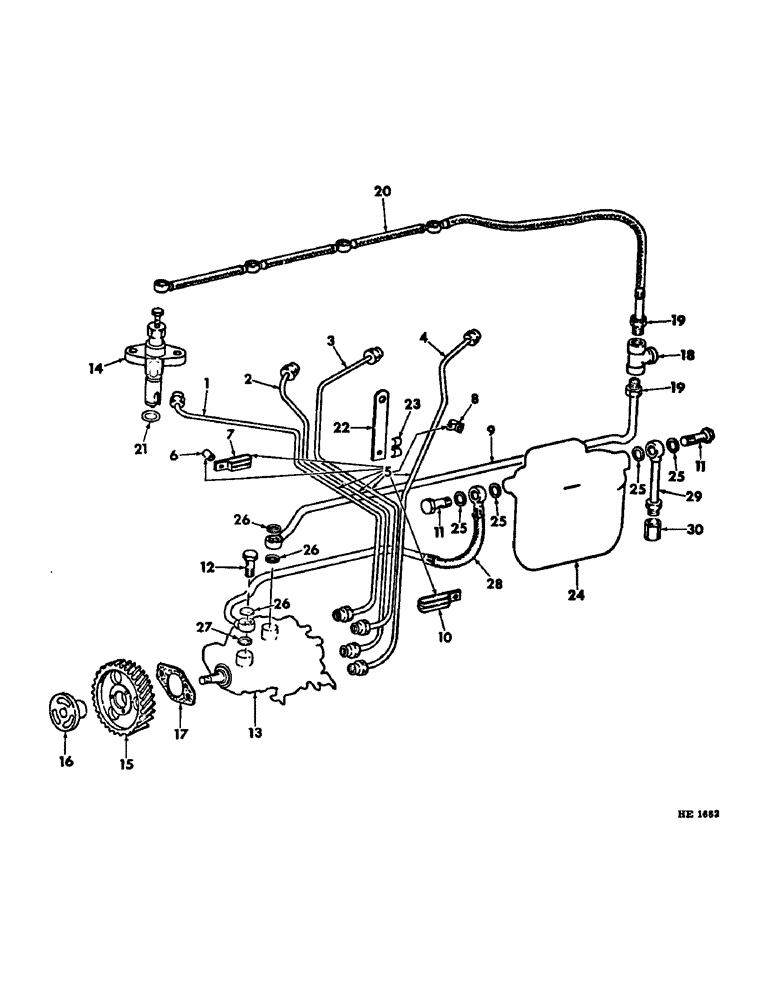
Запчасти Case IH 375 (D-22) - D206 DIESEL ENGINE, FUEL INJECTION SYSTEM, FOR DUAL FILTER SYSTEM, ENGINE S.N. DF2D020070 AND SINCE (01) - ENGINE

Схема запчастей Case IH 375 - (D-22) - D206 DIESEL ENGINE, FUEL INJECTION SYSTEM, FOR DUAL FILTER SYSTEM, ENGINE S.N. DF2D020070 AND SINCE (01) - ENGINE
FIT
1:1
100%

Артикул

Название

Примечание

Количество

1

3144224R91

PIPE

TUBE, injection cyl No. 1

1шт.

2

3144229R91

PIPE

TUBE, injection cyl No. 2

1шт.

3

3144231R91

LINE

TUBE, injection cyl No. 3

1шт.

4

3144233R91

PIPE

TUBE, injection cyl No. 4

1шт.

5

3144223R91

CABLE

1шт.

TUBE ASSY, injection, composed of, (1) tube 3134224R91, (1) tube 3144229R91, (1) tube 3144231R91, (1) tube 3144233R91, (1) clamp 3132768R1, (1) clamp 3132766R1, (1) clamp 3132767R1, (1) bolt 180083, (1) bolt 180018, (1) bolt 180016, (1) nut 120375, (3) washer 120380, (1) spacer 3055480R1

1шт.

6

3055480R1

SPACER

SPACER, distance

1шт.

7

3132766R1

CLAMP

CLAMP, pipe

1шт.

413-422

BOLT,Hex, 1/4" - 20 x 1-3/8", Gr 5

BOLT, 1/4 x 1-3/8"

1шт.

492-11025

LOCK WASHER,1/4"

WASHER, LOCK, 1/4"

1шт.

8

3132767R1

CLAMP

CLAMP, pipe

1шт.

413-410

BOLT,Hex, 1/4" - 20 x 5/8", Gr 5

1/4 x 5/8"

1шт.

492-11025

LOCK WASHER,1/4"

WASHER, LOCK, 1/4"

1шт.

9

3144214R91

LINE

SPARE PART LINE, overflow

1шт.

10

3132768R1

CLAMP

CLAMP, pipe

1шт.

413-48

BOLT,Hex, 1/4" - 20 x 1/2", Gr 5

1/4 x 1/2"

1шт.

120375

NUT,Hex, 1/4" - 20, Gr 5

NUT, 1/4"-20, G5

1шт.

492-11025

LOCK WASHER,1/4"

WASHER, LOCK, 1/4"

1шт.

11

710098R2

BANJO BOLT,M14 x 1.5 x 32mm

SCREW, hollow

2шт.

12

717200R1

BANJO BOLT,M12 x 1.5 x 28mm

SCREW, hollow

1шт.

13

3144383R91

PUMP, FUEL INJECTION

PUMP, INJECTION PUMP ASSY, fuel injection (for service parts refer to "FUEL INJECTION PUMP")

1шт.

120376

NUT,5/16"-18, G5

NUT, 5/16"-18, G5

2шт.

Not part of assembly.

1шт.

3055574R1

WASHER,8.5mm ID x 19mm OD x 2.5mm Thk

WASHER, 8.5 x 19 x 2.5 mm

2шт.

Not part of assembly.

1шт.

80681

LOCK WASHER,5/16"

WASHER, LOCK, 5/16"

2шт.

Not part of assembly.

1шт.

14

3055422R92

HOLDER

HOLDER w/NOZZLE ASSY, injection (for service parts refer to "FUEL INJECTION NOZZLE")

4шт.

14

735252C91

REMAN-FUEL INJECTOR

Nozzle

4шт.

14

1934193C1

CORE-FUEL INJECTOR

Return Number, Injection Nozzle

4шт.

15

3055066R3

GEAR

GEAR, 66T injection pump

1шт.

16

3055067R1

HUB

HUB, injection pump gear

1шт.

180077

BOLT,Hex, 5/16" - 18 x 3/4", Gr 5

BOLT, 5/16 x 3/4"

3шт.

3055574R1

WASHER,8.5mm ID x 19mm OD x 2.5mm Thk

WASHER, 8.5 x 19 x 2.5 mm

3шт.

17

3055384R1

GASKET

GASKET, fuel injection pump

1шт.

18

51542D

SPARE PART TEE, 5/16" tube 1/2"-20

1шт.

19

222-503

TUBE NUT,1/2"-20

NUT, 5/16" tube

3шт.

20

3055606R91

LINE

LINE, nozzle holder leak

1шт.

21

717203R1

O-RING,4mm Thk x 17mm ID, 72 Duro

O-RING, injection nozzle sealing

4шт.

22

3055458R1

LARGE PLATE

PLATE, LARGE LINK, fuel lines fixing

1шт.

180118

BOLT,Hex, 3/8" - 16 x 5/8", Gr 5

BOLT, 3/8 x 5/8"

1шт.

120382

LOCK WASHER,Helical Spring, 3/8"

WASHER, LOCK, 3/8"

1шт.

23

3055386R1

CLAMP

CLIP, fuel line

1шт.

180018

CONNECTING LINK

1/4 x 5/8"

1шт.

492-11025

LOCK WASHER,1/4"

WASHER, LOCK, 1/4"

1шт.

24

3144227R91

FILTER

FILTER ASSY, fuel (for service parts refer to "FUEL FILTER")

1шт.

180123

BOLT,Hex, 3/8" - 16 x 1 1/8", Gr 5, Full Thd

BOLT, 3/8 x 1-1/8"

2шт.

Not part of assembly.

1шт.

120382

LOCK WASHER,Helical Spring, 3/8"

WASHER, LOCK, 3/8"

2шт.

Not part of assembly.

1шт.

25

933610R1

SEALING RING,M14 x 18 x 1.8

SEALING WASHER, , Packing M14 x 18 x 1.8

4шт.

26

713845R1

SEALING WASHER,M12 x 15.5 x 1.5

SEALING WASHER, , Packing M12 x 15.5 x 1.5

3шт.

27

3055390R1

RING

RING, packing

1шт.

28

3144384R1

LINE

LINE, fuel filter to injection pump

1шт.

29

3132208R1

LINE

LINE, fuel, Serial Range: line-filter

1шт.

30

FITTING, (for service parts refer to "FUEL LINES" - diesel - section E)

1шт.

Выбрано товаров: 56