Запчасти Case IH 375 (E-07) - FUEL SYSTEM, FUEL LINES (02) - FUEL SYSTEM

Схема запчастей Case IH 375 - (E-07) - FUEL SYSTEM, FUEL LINES (02) - FUEL SYSTEM
FIT
1:1
100%

Артикул

Название

Примечание

Количество

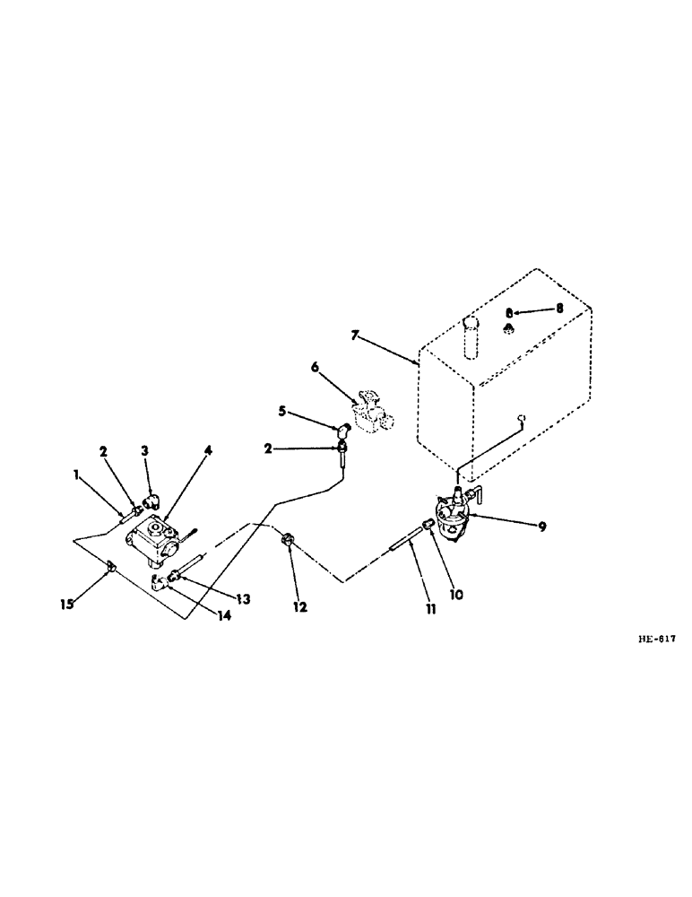
1

TUBE, 5/16" O.D. x 33-1/2" in length flexible nylon fuel pump to carburetor (dealer to cut & supply from bulk stock - 936761R1 is part number for 1 foot of tube)

1шт.

2

222-503

TUBE NUT,1/2"-20

NUT, pump to carburetor tube

2шт.

3

24847H

ELBOW,90 Degree x 1/8" NPT x 1/2"-20

5/16" pump to carburetor tube

1шт.

4

PUMP, 12 volt electric fuel (for service order 1 - 394327R92, PUMP)

1шт.

413-410

BOLT,Hex, 1/4" - 20 x 5/8", Gr 5

1/4 x 5/8"

2шт.

120375

NUT,Hex, 1/4" - 20, Gr 5

2шт.

492-11025

LOCK WASHER,1/4"

WASHER, LOCK, 1/4"

2шт.

5

ELBOW w/SCREEN, engine carburetor (refer to the applicable carburetor in section "E" of the ENG-1 parts catalog)

1шт.

6

CARBURETOR, engine (for component parts of this assembly, refer to the applicable "CARBURETOR" in section "E" of the ENG-1 parts catalog)

1шт.

7

596448R1

TANK, engine fuel (for component parts of this assembly refer to "FUEL TANK" in section "E" of this parts catalog)

1шт.

8

9617020

PLUG,1/4" - 18 x 0.48"

1/4" sq-hd fuel tank pipe

1шт.

9

614692R91

FILTER

STRAINER, fuel (for component parts of this assembly, refer to "FUEL STRAINER" in section "E" of this parts catalog) (for use on 275 Windrower built prior to machine serial No. 1579)

1шт.

9

369988R91

FILTER CARTRIDGE

STRAINER, fuel (for use on 275 Windrower built w/machine serial No. 1579 to machine serial No. 2100) (for component parts of this assembly refer to "FUEL STRAINER" in section "E" of this parts catalog)

1шт.

10

19885R1

PIN,1/4" x 1 3/8", Coiled

NUT, w/nylon insert, fuel strainer

1шт.

11

TUBE, 5/16" O.D. x 33-1/2" in length flexible nylon fuel strainer to fuel pump (dealer to cut & supply from bulk stock - 936761R1 is part number for 1 foot of tube)

1шт.

12

117960

GROMMET,5/16" ID x .719" x .188"

strainer to fuel pump tube rubber

1шт.

13

222-503

TUBE NUT,1/2"-20

NUT, 5/16" fuel pump to fuel strainer tube

1шт.

14

28847H

ELBOW, 5/16" pump to strainer tube

1шт.

15

105246

COLLAR CLAMP

CLAMP, pump to carburetor tube

1шт.

180018

CONNECTING LINK

1/4 x 5/8"

1шт.

120375

NUT,Hex, 1/4" - 20, Gr 5

1шт.

492-11025

LOCK WASHER,1/4"

WASHER, LOCK, 1/4"

1шт.

Выбрано товаров: 22