Запчасти Case IH 375 (B-18) - POWER TRAIN, HYDROSTATIC PROPULSION PUMP DRIVE (03) - POWER TRAIN

Схема запчастей Case IH 375 - (B-18) - POWER TRAIN, HYDROSTATIC PROPULSION PUMP DRIVE (03) - POWER TRAIN
FIT
1:1
100%

Артикул

Название

Примечание

Количество

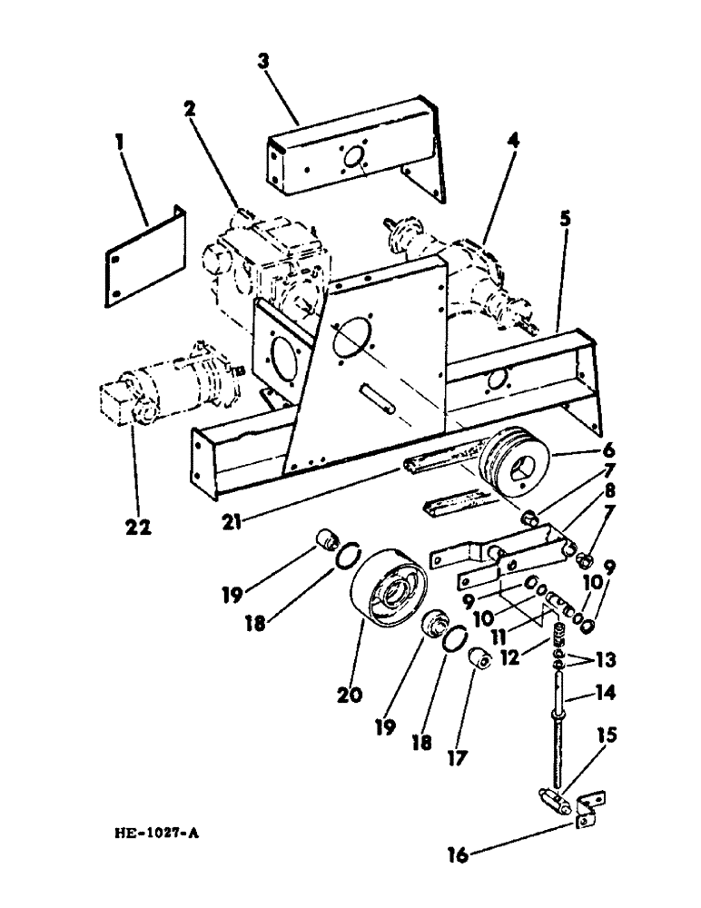
1

823681C1

SUPPORT, hydrostatic motor end

1шт.

180173

BOLT,Hex, 1/2" - 13 x 1", Gr 5

2шт.

180175

BOLT,Hex, 1/2" - 13 x 1 1/4", Gr 5

1/2 x 1-1/4"

2шт.

20601R1

WASHER

17/32 x 1-1/4 x 11 ga

4шт.

120378

NUT,Hex, 1/2" - 13, Gr 5

NUT, 1/2"-13, G5

4шт.

120384

WASHER,1/2"

LOCK, 1/2"

4шт.

2

67805C91

PUMP

hydrostatic drive (RENEWED) (for component parts of this assembly refer to "HYDROSTATIC DRIVE PUMP" in section "F" of this parts catalog)

1шт.

180179

BOLT,Hex, 1/2" - 13 x 1 3/4", Gr 5

1/2 x 1-3/4"

4шт.

20601R1

WASHER

17/32 x 1-1/4 x 11 ga

4шт.

103388

COTTER PIN,1/8" x 1 3/4"

Pin, Split (Cotter), 1/8" x 1 3/4"

1шт.

120378

NUT,Hex, 1/2" - 13, Gr 5

NUT, 1/2"-13, G5

4шт.

120384

WASHER,1/2"

LOCK, 1/2"

4шт.

3

596457R1

SUPPORT, power train mounting LH

1шт.

180173

BOLT,Hex, 1/2" - 13 x 1", Gr 5

2шт.

180175

BOLT,Hex, 1/2" - 13 x 1 1/4", Gr 5

1/2 x 1-1/4"

3шт.

120384

WASHER,1/2"

LOCK, 1/2"

5шт.

4

823732C91

1шт.

DIFFERENTIAL, hydrostatic drive (for service on 375 Windrower, built w/machine serial No. 701 to machine serial No. 1105, order 1 - 826917C91, DIFFERENTIAL; 1 - 826915C1, LEVER; 1 - 826916C1, ROD & 1 - 826913C1, HUB) (for component parts of this assembly refer to "HYDROSTATIC DIFFERENTIAL" in section "B" of this parts catalog)

1шт.

180122

BOLT,Hex, 3/8" - 16 x 1", Gr 5

3/8 x 1"

8шт.

120377

NUT,3/8" - 16, Gr 5

8шт.

120382

LOCK WASHER,Helical Spring, 3/8"

WASHER, LOCK, 3/8"

8шт.

4

826917C91

DIFFERENTIAL, hydrostatic drive (for use on 375 Windrower built w/machine serial No. 1105 & since) (for components parts of this assembly refer to "HYDROSTATIC DIFFERENTIAL" in section "B" of this parts catalog)

1шт.

180122

BOLT,Hex, 3/8" - 16 x 1", Gr 5

3/8 x 1"

8шт.

120377

NUT,3/8" - 16, Gr 5

8шт.

120382

LOCK WASHER,Helical Spring, 3/8"

WASHER, LOCK, 3/8"

8шт.

5

823675C1

SUPPORT, power train RH

1шт.

180175

BOLT,Hex, 1/2" - 13 x 1 1/4", Gr 5

1/2 x 1-1/4"

5шт.

120378

NUT,Hex, 1/2" - 13, Gr 5

NUT, 1/2"-13, G5

2шт.

120384

WASHER,1/2"

LOCK, 1/2"

5шт.

609836R1

WASHER

1-1/32 x 1-3/4 x 16 ga

1шт.

614451R1

WASHER

1-1/32 x 1-3/4 x 11 ga

1шт.

6

823655C1

PULLEY, hydrostatic pump drive

1шт.

7

277523R1

BUSHING

support arm pivot

2шт.

8

823656C2

ARM, tightener pulley support

1шт.

332040

LUBE NIPPLE,90 Degree, 1/8" NPT x .84" lg

FITTING, 1/8" - 90 degree elbow lub

1шт.

609836R1

WASHER

1-1/32 x 1-3/4 x 16 ga

1шт.

432-1620

COTTER PIN,1/4" x 1 1/4"

Pin, Split (Cotter), 1/4" x 1 1/4"

1шт.

9

20885R1

WASHER

1-5/32 x 2 x 16 ga (for use on machine built prior to the 1972 season)

2шт.

10

454319R1

RING

rod arm pin retaining (for use on 375 Windrower built prior to the 1972 season)

2шт.

11

823661C1

PIN, tightener rod arm (for use on 375 Windrower built prior to the 1972 season)

1шт.

12

23612SA

SPRING, tightener rod

1шт.

13

589068R1

WASHER

21/32 x 1-1/4 x 11 ga

3шт.

14

823662C2

ROD, tightener

1шт.

280374

NUT,Hex, 5/8" - 11, Gr 5

5/8"

3шт.

15

823665C1

TRUNNION, tightener rod

1шт.

16

823664C1

SUPPORT, tightener rod trunnion

1шт.

180122

BOLT,Hex, 3/8" - 16 x 1", Gr 5

3/8 x 1"

2шт.

120377

NUT,3/8" - 16, Gr 5

2шт.

120382

LOCK WASHER,Helical Spring, 3/8"

WASHER, LOCK, 3/8"

2шт.

17

823668C1

BUSHING, tightener pulley

2шт.

18

512889R1

RING

drive belt tightener pulley brg retaining

2шт.

19

608697R91

BALL BEARING,1.378" ID x 2.8346" OD x 0.9892"

tightener pulley (opt to use 1 - 584148R91, BEARING)

1шт.

19

584148R91

BEARING ASSY,35mm ID x 72mm OD x 25mm W

BEARING, tightener pulley (opt to use 1 - 608697R91, BEARING)

1шт.

20

595186R1

PULLEY, pump drive belt tightener

1шт.

271733

BODY,Hex, 5/8" - 11 x 4 1/2", Gr 5

5/8 x 4-1/2"

1шт.

280374

NUT,Hex, 5/8" - 11, Gr 5

5/8"

1шт.

21

823653C1

BELT,0.63" W x 78.00" L, 3 Ribs

Hydrostatic Pump Drive 0.63" W x 78.00" L, 3 Ribs

1шт.

22

67807C91

MOTOR, hydrostatic drive (for component parts of this assembly refer to "HYDROSTATIC DRIVE MOTOR" in section "F" of this parts catalog)

1шт.

180179

BOLT,Hex, 1/2" - 13 x 1 3/4", Gr 5

1/2 x 1-3/4"

4шт.

20601R1

WASHER

17/32 x 1-1/4 x 11 ga

4шт.

120378

NUT,Hex, 1/2" - 13, Gr 5

NUT, 1/2"-13, G5

4шт.

120384

WASHER,1/2"

LOCK, 1/2"

4шт.

Выбрано товаров: 0