Запчасти Case IH 375 (F-08) - HYDRAULIC SYSTEM, RESERVOIR TO PUMP AND VALVE HYDRAULIC LINES (07) - HYDRAULIC SYSTEM

Схема запчастей Case IH 375 - (F-08) - HYDRAULIC SYSTEM, RESERVOIR TO PUMP AND VALVE HYDRAULIC LINES (07) - HYDRAULIC SYSTEM
FIT
1:1
100%

Артикул

Название

Примечание

Количество

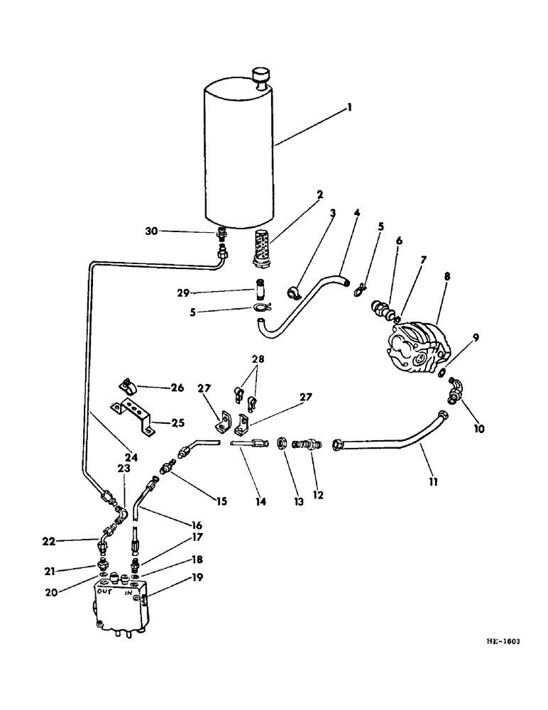
1

597436R91

RESERVOIR, hyd oil (for component parts of this assembly refer to "HYDRAULIC OIL RESERVOIR AND MOUNTING" in section "F" of this parts catalog)

1шт.

2

619037R91

STRAINER ASSY.

FILTER, hyd oil reservoir

1шт.

3

829033C1

CLAMP, hyd hose

1шт.

4

827117C1

HOSE, hyd pump suction

1шт.

5

628091R1

CLAMP, hyd pump suction hose

2шт.

6

614328R1

CONNECTOR, ELEC

FITTING, hyd pump suction hose

1шт.

570828R1

O-RING,0.087" Thk x 0.644" ID, -908, Cl 6, 90 Duro

suction hose fitting

1шт.

7

570828R1

O-RING,0.087" Thk x 0.644" ID, -908, Cl 6, 90 Duro

suction hose fitting

1шт.

8

607150R91

PUMP

hyd (for component parts of this assembly refer to "HYDRAULIC PUMP" in section "F" of this parts catalog)

1шт.

180124

BOLT,Hex, 3/8" - 16 x 1 1/4", Gr 5

3/8 x 1-1/4"

2шт.

120377

NUT,3/8" - 16, Gr 5

2шт.

120382

LOCK WASHER,Helical Spring, 3/8"

WASHER, LOCK, 3/8"

2шт.

9

364839R1

O-RING,0.078" Thk x 0.468" ID, -906, Cl 6, 90 Duro

6-1, 90 Duro, .468" ID x .078" Thk, pressure hose elbow

1шт.

10

9410098

ELBOW, 3/8" - 45 degree hyd pump pressure

1шт.

364839R1

O-RING,0.078" Thk x 0.468" ID, -906, Cl 6, 90 Duro

6-1, 90 Duro, .468" ID x .078" Thk, pressure hose elbow

1шт.

11

536445R1

HOSE

hyd pump pressure

1шт.

12

9403254

FITTING,Blkhd, 9/16"-18, 37 Degree x 9/16"-18, 37 Degree

UNION, 3/8" bulkhead hose to tube

1шт.

13

9403293

LOCK NUT,Blkhd, 9/16"-18

NUT, bulkhead union

1шт.

14

827095C1

TUBE, high pressure hose to valve pressure rear

1шт.

15

9402786

UNION,9/16"-18, 37 Degree x 9/16"-18, 37 Degree

9/16" hyd tube to hyd tube

1шт.

16

827118C1

TUBE, high pressure front

1шт.

17

9410202

HYD CONNECTOR,9/16"-18, 37 Degree x 9/16"-18, O-Ring

UNION, 9/16" short swivel hyd valve

1шт.

364839R1

O-RING,0.078" Thk x 0.468" ID, -906, Cl 6, 90 Duro

6-1, 90 Duro, .468" ID x .078" Thk, valve union

1шт.

18

364839R1

O-RING,0.078" Thk x 0.468" ID, -906, Cl 6, 90 Duro

6-1, 90 Duro, .468" ID x .078" Thk, hyd valve union

1шт.

19

825326R92

VALVE, hyd control (for component parts of this assembly refer to "HYDRAULIC CONTROL VALVE" in section "F" of this parts catalog)

1шт.

180042

BOLT,Hex, 1/4" - 20 x 1 3/4", Gr 5

BOLT, 1/4 x 1-3/4"

2шт.

120375

NUT,Hex, 1/4" - 20, Gr 5

2шт.

492-11025

LOCK WASHER,1/4"

WASHER, LOCK, 1/4"

2шт.

20

570828R1

O-RING,0.087" Thk x 0.644" ID, -908, Cl 6, 90 Duro

valve reducer connector

1шт.

21

9410203

HYD CONNECTOR,3/4"-16, 37 Degree x 3/4"-16, O-Ring

CONNECTOR, 3/4 x 1/2" hyd valve reducer

1шт.

570828R1

O-RING,0.087" Thk x 0.644" ID, -908, Cl 6, 90 Duro

reducer connector

1шт.

22

597891R1

TUBE, hyd valve to elbow hyd return 1" OD, 2.78, 2.78" Length

1шт.

23

9402943

ELBOW,90 Degree, 3/4"-16, 37 Degree x 3/4"-16, 37 Degree

3/4" - 90 degree tube to tube

1шт.

24

811130C1

TUBE, hyd reservoir return

1шт.

25

597893R1

SUPPORT, hyd tube clamp

1шт.

180075

BOLT,Hex, 5/16" - 18 x 5/8", Gr 5

5/16 x 5/8"

2шт.

120376

NUT,5/16"-18, G5

2шт.

80681

LOCK WASHER,5/16"

WASHER, LOCK, 5/16"

2шт.

26

826157C1

CLAMP, hyd tube

1шт.

180118

BOLT,Hex, 3/8" - 16 x 5/8", Gr 5

3/8 x 5/8"

1шт.

120377

NUT,3/8" - 16, Gr 5

1шт.

120382

LOCK WASHER,Helical Spring, 3/8"

WASHER, LOCK, 3/8"

1шт.

27

595436R1

ANGLE, tube clamp

2шт.

113-206

BOLT,Hex, 3/8" - 16 x 3/4", Gr 5, Full Thd

3/8 x 3/4"

2шт.

619856R1

WASHER

13/32 x 1 x 16 ga

2шт.

120382

LOCK WASHER,Helical Spring, 3/8"

WASHER, LOCK, 3/8"

2шт.

28

595432R1

CLAMP

hyd tube

2шт.

113-206

BOLT,Hex, 3/8" - 16 x 3/4", Gr 5, Full Thd

3/8 x 3/4"

2шт.

120377

NUT,3/8" - 16, Gr 5

2шт.

120382

LOCK WASHER,Helical Spring, 3/8"

WASHER, LOCK, 3/8"

2шт.

29

591977R1

FITTING, reservoir filter suction line

1шт.

30

9402709

HYD CONNECTOR,3/4"-16, 37 Degree x 3/8"-18, NPTF

CONNECTOR, reservoir return tube

1шт.

Выбрано товаров: 52