Запчасти Case IH 375 (F-14) - HYDRAULIC SYSTEM, RESERVOIR TO PUMP AND VALVE HYDRAULIC LINES (07) - HYDRAULIC SYSTEM

Схема запчастей Case IH 375 - (F-14) - HYDRAULIC SYSTEM, RESERVOIR TO PUMP AND VALVE HYDRAULIC LINES (07) - HYDRAULIC SYSTEM
FIT
1:1
100%

Артикул

Название

Примечание

Количество

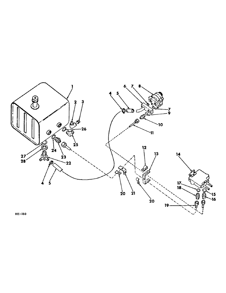
1

595382R91

RESERVOIR, hyd oil (for component parts of this assembly refer to "HYDRAULIC OIL RESERVOIR AND MOUNTING" in section "F" of this parts catalog)

1шт.

2

120702

ELBOW,45 Degree, 3/8" NPT Street

3/8" - 45 degree reservoir drain

1шт.

3

445686

PLUG

3/8" drain elbow pipe

1шт.

4

333710R91

HOSE CLAMP,#16, 0.81/1.50 Type F Worm

SWITCH MOUNTING, hyd pump suction hose

2шт.

5

595394R1

HOSE, hyd pump suction

1шт.

6

595392R91

MANIFOLD, hyd pump

1шт.

180132

BOLT,Hex, 3/8" - 16 x 2 1/4", Gr 5

3/8 x 2-1/4"

2шт.

120377

NUT,3/8" - 16, Gr 5

2шт.

120382

LOCK WASHER,Helical Spring, 3/8"

WASHER, LOCK, 3/8"

2шт.

7

283401R1

O-RING

hyd pump outer (for use when machine equipped w/377033R94, PUMP)

2шт.

7

355965R1

O-RING,0.139" Thk x 0.921" ID, -213, Cl 5, 75 Duro

hyd pump outer (for use when machine equipped w/397130R91, PUMP)

2шт.

8

377033R94

PUMP, HYDRAULIC

PUMP, 4-1/2 gpm hyd (opt to use 1 - 397130R91, PUMP) (for component parts of this assembly refer to "HYDRAULIC PUMP" in section "F" of this parts catalog)

1шт.

8

1949254C1

REMAN-HYD PUMP

Remanufactured HYDRAULIC PUMP - for N.A. Only

1шт.

8

1949255C1

CORE-HYDRAULIC PUMP

Return No, HYDRAULIC PUMP - for N.A. Only

1шт.

180132

BOLT,Hex, 3/8" - 16 x 2 1/4", Gr 5

3/8 x 2-1/4"

2шт.

120382

LOCK WASHER,Helical Spring, 3/8"

WASHER, LOCK, 3/8"

2шт.

8

397130R91

PUMP

4-1/2 gpm hyd (opt to use 1 - 377033R94, PUMP) (for component parts of this assembly refer to "HYDRAULIC PUMP" in section "F" of this parts catalog)

1шт.

180132

BOLT,Hex, 3/8" - 16 x 2 1/4", Gr 5

3/8 x 2-1/4"

2шт.

120382

LOCK WASHER,Helical Spring, 3/8"

WASHER, LOCK, 3/8"

2шт.

9

570828R1

O-RING,0.087" Thk x 0.644" ID, -908, Cl 6, 90 Duro

manifold reducer

1шт.

10

9419203

REDUCER, high pressure tube

1шт.

570828R1

O-RING,0.087" Thk x 0.644" ID, -908, Cl 6, 90 Duro

manifold reducer

1шт.

11

595395R1

TUBE, high pressure hyd

1шт.

12

372407R1

CLAMP, high pressure hyd tube

1шт.

13

595397R1

SUPPORT, hyd tube clamp

1шт.

413-412

BOLT,Hex, 1/4" - 20 x 3/4", Gr 5

1шт.

120375

NUT,Hex, 1/4" - 20, Gr 5

1шт.

492-11025

LOCK WASHER,1/4"

WASHER, LOCK, 1/4"

1шт.

14

VALVE, hyd control (for component parts of this assembly refer to "HYDRAULIC CONTROL VALVE" in section "F" of this parts catalog)

1шт.

180089

SPRING

5/16 x 2-1/4"

2шт.

120376

NUT,5/16"-18, G5

2шт.

80681

LOCK WASHER,5/16"

WASHER, LOCK, 5/16"

2шт.

15

364839R1

O-RING,0.078" Thk x 0.468" ID, -906, Cl 6, 90 Duro

6-1, 90 Duro, .468" ID x .078" Thk, pressure tube reducer

1шт.

16

382449R1

CONNECTOR, ELEC

REDUCER, high pressure tube

1шт.

364839R1

O-RING,0.078" Thk x 0.468" ID, -906, Cl 6, 90 Duro

6-1, 90 Duro, .468" ID x .078" Thk, pressure tube reducer

1шт.

17

364885R1

O-RING,0.097" Thk x 0.755" ID, -910, Cl 6, 90 Duro

return tube connector

1шт.

18

9410204

HYD CONNECTOR,7/8"-14, 37 Degree x 7/8"-14, O-Ring

CONNECTOR, oil reservoir return tube

1шт.

364885R1

O-RING,0.097" Thk x 0.755" ID, -910, Cl 6, 90 Duro

return tube connector

1шт.

19

595396R11

TUBE, oil reservoir return

1шт.

20

470453R1

CLIP

CLAMP, return & pressure tube

2шт.

413-410

BOLT,Hex, 1/4" - 20 x 5/8", Gr 5

1/4 x 5/8"

2шт.

21801R1

WASHER

9/32 x 3/4 x 16 ga

2шт.

120375

NUT,Hex, 1/4" - 20, Gr 5

2шт.

80681

LOCK WASHER,5/16"

1/4"

2шт.

21

595398R1

ANGLE, return tube clamp

1шт.

180077

BOLT,Hex, 5/16" - 18 x 3/4", Gr 5

5/16 x 3/4"

1шт.

120376

NUT,5/16"-18, G5

1шт.

80681

LOCK WASHER,5/16"

WASHER, LOCK, 5/16"

1шт.

22

595385R11

TEE, suction & filter hose two-way

1шт.

296247R1

O-RING,16-1, 90 Duro, 1.171" ID x .116" Thk

two-way tee

1шт.

23

573206R1

HYD CONNECTOR,7/8"-14, 37 Degree x 1 1/16"-12, O-Ring

CONNECTOR, return tube reducer

1шт.

368269R1

O-RING,0.116" Thk x 0.924" ID, -912, Cl 6, 90 Duro

reducer connector

1шт.

24

368269R1

O-RING,0.116" Thk x 0.924" ID, -912, Cl 6, 90 Duro

return tube connector

1шт.

25

9410979

ELBOW,90 Degree, 1 1/16"-12, 37 Degree x 1 1/16"-12, O-Ring

3/4' - 90 degree cooler tube

1шт.

368269R1

O-RING,0.116" Thk x 0.924" ID, -912, Cl 6, 90 Duro

cooler tube elbow

1шт.

26

368269R1

O-RING,0.116" Thk x 0.924" ID, -912, Cl 6, 90 Duro

reducer connector

2шт.

27

296247R1

O-RING,16-1, 90 Duro, 1.171" ID x .116" Thk

reservoir two-way tee

1шт.

28

218-1281

LOCK NUT,Blkhd, 1 5/16"-12

1" tee lk

1шт.

Выбрано товаров: 58