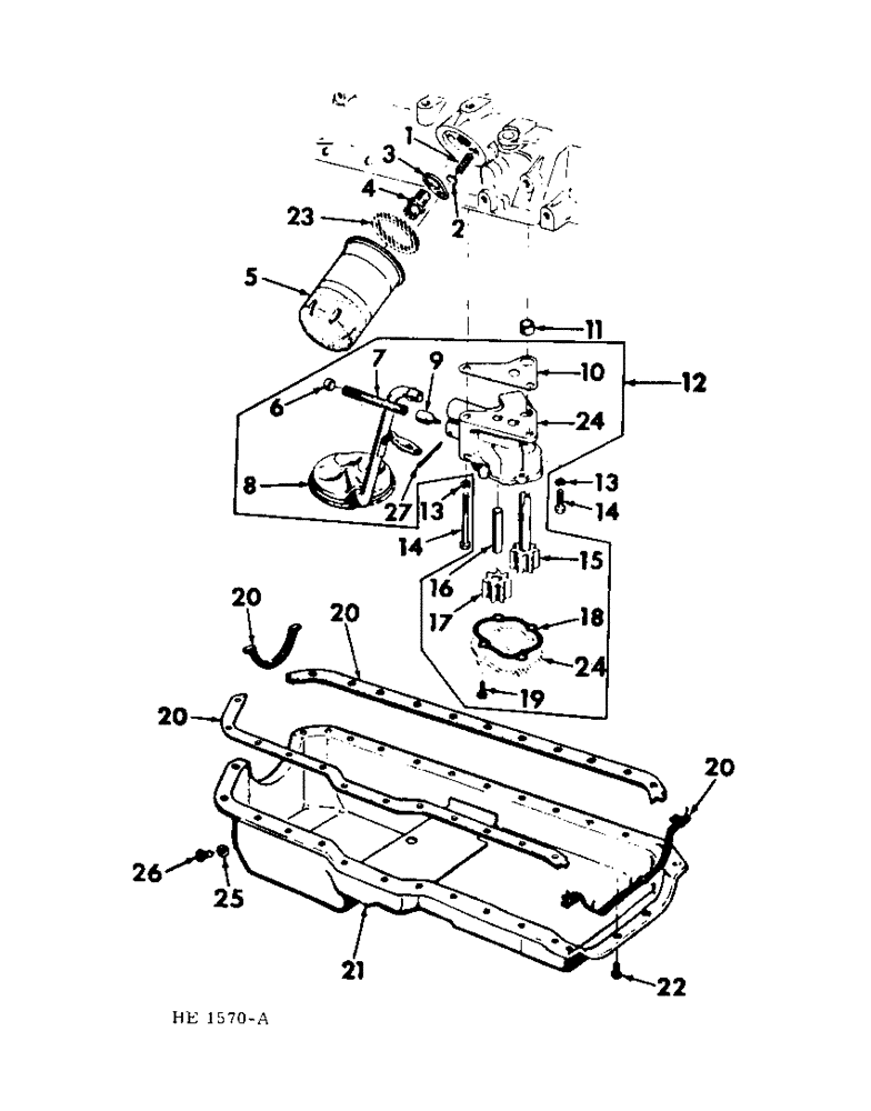
Запчасти Case IH 4000 (12-06) - POWER, C-232 GAS ENGINE OIL FILTER, PAN AND PUMP Power

Схема запчастей Case IH 4000 - (12-06) - POWER, C-232 GAS ENGINE OIL FILTER, PAN AND PUMP Power
FIT
1:1
100%

Артикул

Название

Примечание

Количество

1

387062C1

SPRING

oil by-pass valve

1шт.

2

387061C1

VALVE

oil filter by-pass

1шт.

3

387063C1

RETAINER

oil filter by-pass spring

1шт.

4

387060C1

STUD

CONNECTOR, oil filter

1шт.

5

384843C2

FILTER, ELEMENT

FILTER W/GASKET, oil

1шт.

6

387071C1

CAP, release valve spring

1шт.

7

387070C1

SPRING

oil pump release valve

1шт.

8

387076C2

FLOAT

ASSY, oil pump

1шт.

9

387069C1

PLUNGER

oil pump release valve

1шт.

10

387080C1

GASKET

oil, Serial Range: pump-block

1шт.

11

827381C1

PIN

oil pump to block dowel

1шт.

12

387065C93

PUMP

ASSY, oil, Consists of

1шт.

387067C1

SHAFT

1шт.

NSS

NOT SOLD SEPARAT

HOUSING W/COVER

1шт.

387069C1

PLUNGER

1шт.

387070C1

SPRING

1шт.

387071C1

CAP

1шт.

108635

PIN,1/8" x 1 1/8"

Split (Cotter), 1/8" x 1 1/8"

1шт.

387072C1

GASKET

1шт.

387073C1

BOLT

4шт.

387074C1

GEAR

1шт.

387075C91

SHAFT W/GEAR

1шт.

387076C2

FLOAT

1шт.

13

80681

LOCK WASHER,5/16"

WASHER, LOCK, 5/16"

2шт.

14

180078

BOLT,Hex, 5/16" - 18 x 7/8", Gr 5

5/16-18 x 7/8 hex hd pump conn

1шт.

14

413-540

BOLT,Hex, 5/16" - 18 x 2-1/2", Gr 5

5/16-18 x 2-1/2 hex hd pump conn

1шт.

15

387075C91

SHAFT W/GEAR ASSY, oil pump dr

1шт.

16

387067C1

SHAFT, oil pump idler

1шт.

17

387074C1

GEAR, oil pump idler

1шт.

18

387072C1

GASKET, oil pump cover

1шт.

19

387073C1

BOLT, oil, Serial Range: pump-cover

4шт.

20

GASKET, oil pan, For service order 1-421230C91 set

1шт.

21

437859C91

PAN

ASSY, engine oil, Includes 1-387087C91 plug assy

1шт.

22

387090C1

SCREW W/WASHER, 9/16 inch long

24шт.

22

387091C1

BOLT,Hex, 5/16" - 18 x 3/4", w/ BV Wshr

SCREW W/WASHER, 3/4 inch long

4шт.

23

GASKET, filter, For service order 1-384843C2 filter w/gasket

1шт.

24

HOUSING W/COVER, oil pump, For service order 1-387065C93 pump assy

1шт.

25

387088C1

GASKET

oil pan drain plug

1шт.

26

387087C91

PLUG

W/GASKET, oil pan drain, Includes 1-387088C1 gasket

1шт.

27

108635

PIN,1/8" x 1 1/8"

Split (Cotter), 1/8" x 1 1/8"

1шт.

421230C91

OIL PAN GASKET SET

SET, oil pan gasket

1шт.

Выбрано товаров: 41