Запчасти Case IH 4000 (12-36) - POWER, CARBURETOR, BENDIX Power

Схема запчастей Case IH 4000 - (12-36) - POWER, CARBURETOR, BENDIX Power
FIT
1:1
100%

Артикул

Название

Примечание

Количество

827052C92

CARBURETOR

engine

1шт.

831914C91

CARBURETOR

engine w/reversed choke cable linkage, Consists of all parts listed

1шт.

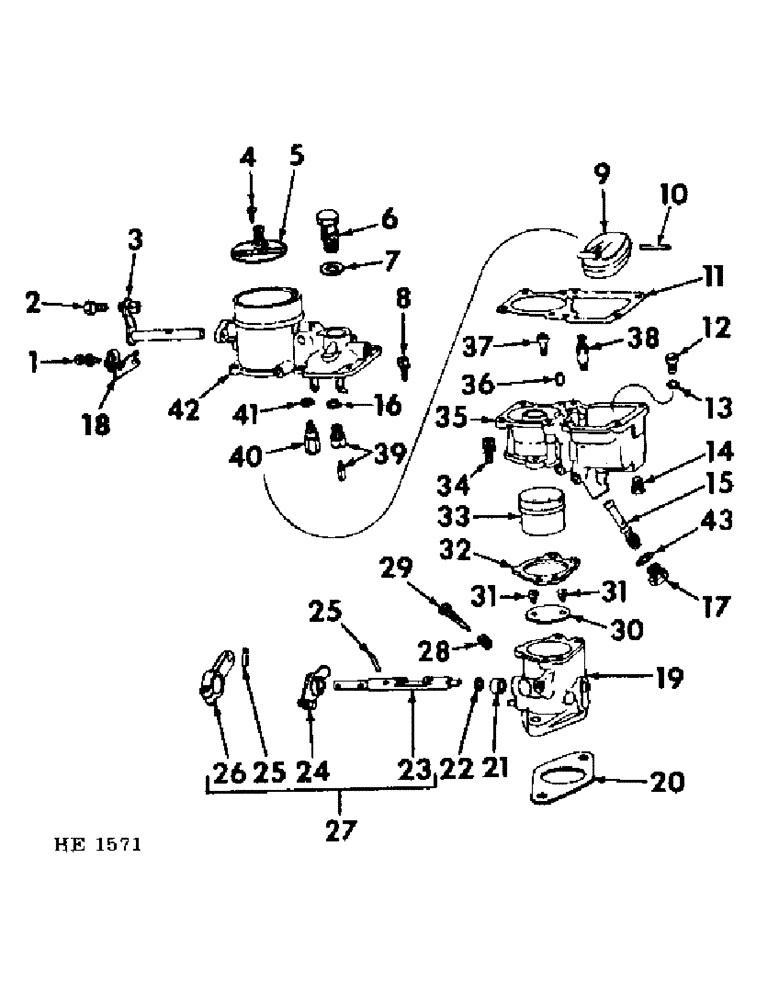
1

454689

SCREW W/WASHER, #8-36 x 3-8 fil-hd sltd air shutter bracket

1шт.

2

19402R1

SCREW, #8-36 x 7/16 hex-hd sltd shaft swivel

1шт.

3

827281C1

SHAFT

air shutter lever, Includes 1-19402R1 screw

1шт.

4

SCREW, #6-32 x 5/16 fil-hd sltd air shutter, For service order 1-827292C1 kit

1шт.

5

827283C1

SHUTTER

ASSY, air

1шт.

6

392421R91

FILTER

ASSY

1шт.

7

WASHER, filter, For service order kit

1шт.

8

19270R91

SCREW W/WASHER, #10-32 x 5/8 fil-hd sltd

6шт.

9

827285C1

FLOAT

ASSY

1шт.

10

PIN, float axle, For service order 1-827292C1 kit

1шт.

11

GASKET, bowl to intake, For service order kit

1шт.

12

827575C1

JET

main

1шт.

13

WASHER, main jet, For service order kit

1шт.

14

FOR444613

PLUG

1/8-27 pipe

1шт.

15

827289C1

JET

main discharge

1шт.

16

WASHER, fuel valve, For service order 1-827291C1 kit

1шт.

17

31860D

PLUG

fuel bowl

1шт.

18

827282C1

BRACKET

ASSY, air shutter

1шт.

19

BODY, carburetor, Not serviced separately order 1-831914C91 carburetor

1шт.

20

GASKET, flange, For service order 1-827292C1 kit

1шт.

21

SEAL, throttle shaft, For service order 1-827292C1 kit

1шт.

22

WASHER, seal retainer, For service order 1-827292C1 kit

1шт.

23

SHAFT, throttle, For service order 1-827286C1 lever assy

1шт.

24

LEVER W/SPRING, throttle stop, For service order 1-827286C1 lever assy

1шт.

25

PIN, clamp, For service order 1-827286C1 lever assy

2шт.

26

CLAMP, lever, For service order 1-827286C1 lever assy

1шт.

27

827286C1

LEVER

ASSY, throttle shaft

1шт.

28

30594D

SPRING, idle adj screw

1шт.

29

NEEDLE, idle adjusting, For service order 1-827292C1 kit

1шт.

30

827287C1

PLATE

throttle

1шт.

31

SCREW, #5-40 x 1/4 rd-hd sltd throttle plate retaining, For service order 1-827292C1 kit

1шт.

32

GASKET, throttle body to bowl, For service order kit

1шт.

33

827574C1

VENTURI

1шт.

34

271468

BRACKET

SCREW W/WASHER, 1/4-20 x 3/4 fil-hd sltd

2шт.

35

BOWL, fuel, Not serviced separately order 1-831914C91 carburetor

1шт.

36

827290C1

VENT

well

1шт.

37

827576C1

JET

idle

1шт.

38

20053D

PLUG, channel

1шт.

39

VALVE, fuel, For service order 1-827292C1 kit

1шт.

40

827284C1

PLUG

vacuum piston

1шт.

41

WASHER, vacuum piston plug, For service order kit

1шт.

42

INTAKE, air, Not serviced separately order 1-831914C91 carburetor

1шт.

43

WASHER, fuel bowl, For service order kit

1шт.

827291C1

SET

KIT, gasket set, Includes items 7, 11, 13, 16, 32, 41 & 43

1шт.

827292C1

KIT

carburetor repair, Includes items 4, 7, 10, 11, 13, 20, 21, 22, 29, 31, 32, 39, 41 & 43

1шт.

Выбрано товаров: 47