Запчасти Case IH 4000 (13-06) - SUPERSTRUCTURE, OPERATORS SEAT SUPPORTS AND SLIDES (05) - SUPERSTRUCTURE

Схема запчастей Case IH 4000 - (13-06) - SUPERSTRUCTURE, OPERATORS SEAT SUPPORTS AND SLIDES (05) - SUPERSTRUCTURE
FIT
1:1
100%

Артикул

Название

Примечание

Количество

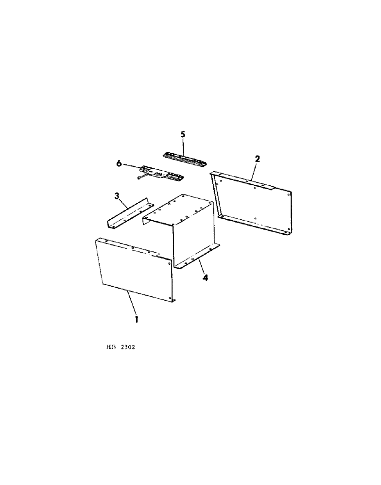
1

828894C1

SUPPORT, seat side LH

1шт.

2

828895C1

SUPPORT, seat side RH

1шт.

9635884

BOLT,Hex, 5/16" - 18 1", Full Thd, Gr 5

5/16-18 x 1 hex hd

4шт.

938017R1

FLANGE NUT,Flg, USR, 5/16"-18

5/16-18 hex flange lock

4шт.

3

828896C1

ANGLE, seat support front cross

1шт.

4

828897C1

SUPPORT

seat top

1шт.

9635884

BOLT,Hex, 5/16" - 18 1", Full Thd, Gr 5

5/16-18 x 1 hex hd

2шт.

180075

BOLT,Hex, 5/16" - 18 x 5/8", Gr 5

5/16-18 x 5/8 hex hd

4шт.

120376

NUT,5/16"-18, G5

4шт.

80681

LOCK WASHER,5/16"

WASHER, LOCK, 5/16"

4шт.

938017R1

FLANGE NUT,Flg, USR, 5/16"-18

5/16-18 hex flange lock

2шт.

5

825198C1

RAIL

SLIDE, seat adjusting RH

1шт.

6

825199C91

SLIDE

ASSY, seat adjusting LH

1шт.

180077

BOLT,Hex, 5/16" - 18 x 3/4", Gr 5

5/16-18 x 3/4 hex hd

6шт.

9635884

BOLT,Hex, 5/16" - 18 1", Full Thd, Gr 5

5/16-18 x 1 hex hd

2шт.

120376

NUT,5/16"-18, G5

10шт.

80681

LOCK WASHER,5/16"

WASHER, LOCK, 5/16"

8шт.

134238R1

WASHER

.344 x 1.000 x .054

4шт.

Выбрано товаров: 18