Запчасти Case IH 5000 (08-06) - ELECTRICAL, ELECTRICAL SYSTEM, FOR USE ON 5000 WINDROWERS PRIOR TO SERIAL NUMBER 1001 (06) - ELECTRICAL

Схема запчастей Case IH 5000 - (08-06) - ELECTRICAL, ELECTRICAL SYSTEM, FOR USE ON 5000 WINDROWERS PRIOR TO SERIAL NUMBER 1001 (06) - ELECTRICAL
FIT
1:1
100%

Артикул

Название

Примечание

Количество

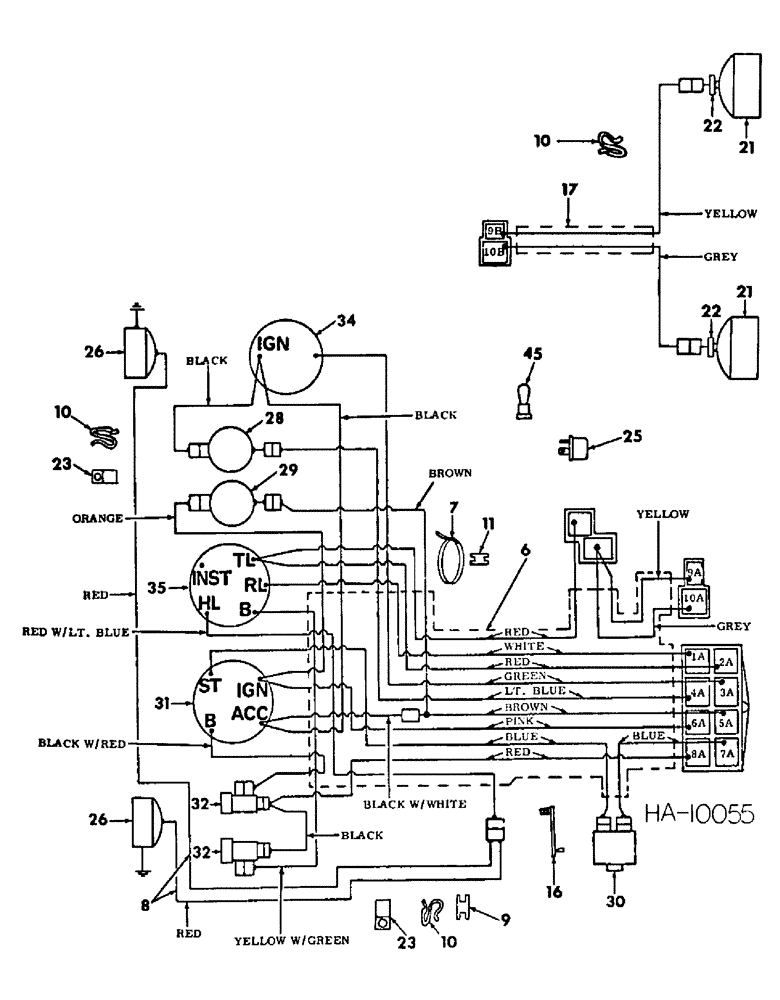
1

BATTERY, 12 volt dry - gas

1шт.

2

BATTERY, 6 volt dry - diesel, For service parts refer to battery and mounting

2шт.

3

878022R91

CABLE

, Serial Range: battery-solenoid

1шт.

4

662552R91

CABLE

battery ground

1шт.

5

187954

GROMMET,1" ID x 1 3/4" x .062"

1шт.

6

828043C3

HARNESS

cable front

1шт.

7

816502C1

STRAP

cable harness tie, 4-used gas, 6-used diesel

1шт.

8

829152C1

HARNESS

headlight cable

1шт.

9

117957

GROMMET,1/4" ID x 5/8" x .062"

headlight harness

1шт.

10

119702R1

CLIP

headlight harness

4шт.

11

142350

GROMMET,7/8" ID x 1 5/8" x .125", Diag Cut

harness

1шт.

12

829149C1

HARNESS

cable rear - gas

1шт.

13

829150C1

HARNESS

cable rear - diesel

1шт.

14

128359H1

BREAKER

circuit

1шт.

436699

SCREW,Slotted Pan Hd, #8-32 x 1"

#8-32 x 1 pan hd sltd mach

2шт.

120622

NUT,#8-32

2шт.

121841

LOCK WASHER,#8

WASHER, LOCK, #8

2шт.

131015

WASHER

.188 x .438 x .036

2шт.

15

544359R1

CLIP

cable harness rear 1.875 length

5шт.

16

829582C1

CLIP

cable harness front 3.975 length

3шт.

17

829154C1

HARNESS

flasher light cable

1шт.

18

ALTERNATOR ASSY, AC 12 volt, For service part refer to alternator and mounting

1шт.

225-14112

NUT,#12-24

#12-24 hex

1шт.

121744

ANGLE

Washer, Lock, #12

1шт.

19

830467C91

MOTOR

ASSY, 12 volt starting mha 7014 Prestolite - gas, For service parts refer to starting motor

1шт.

180149

LOCK SCREW,Hex, 7/16" - 14 x 1 1/2", Gr 5

BOLT, 7/16-14 x 1-1/2 hex hd

2шт.

271501

SOCKET

NUT, 7/16-14 hex

2шт.

120383

LOCK WASHER,Helical Spring, 7/16"

WASHER, LOCK, 7/16"

2шт.

20

1107866

MOTOR

ASSY, 12 volt starting 596493R92 Delco Remy - diesel, For service parts refer to starting motor

1шт.

180124

BOLT,Hex, 3/8" - 16 x 1 1/4", Gr 5

3/8-16 x 1-1/4 hex hd

2шт.

180126

BOLT,Hex, 3/8" - 16 x 1 1/2", Gr 5

3/8-16 x 1-1/2 hex hd

1шт.

120622

NUT,#8-32

1шт.

120377

NUT,3/8" - 16, Gr 5

4шт.

121841

LOCK WASHER,#8

WASHER, LOCK, #8

1шт.

120382

LOCK WASHER,Helical Spring, 3/8"

WASHER, LOCK, 3/8"

4шт.

21

LIGHT ASSY, flashing safety warning, For service parts refer to safety flashing light

2шт.

25-158

JAM NUT,Jam, 1/2"-20, G5

1/2-20 hex jam

2шт.

22

394262R1

WASHER

GASKET, light

2шт.

23

117762H

CLIP,3/16", Insul, 3/8" Bolt

CLAMP, headlight cable

2шт.

180077

BOLT,Hex, 5/16" - 18 x 3/4", Gr 5

5/16-18 x 3/4 hex-hd

2шт.

80681

LOCK WASHER,5/16"

WASHER, LOCK, 5/16"

2шт.

24

684803R91

CABLE, battery to battery diesel

1шт.

25

394132R91

FLASHER UNIT

FLASHER, light

1шт.

26

LIGHT ASSY, front head, For service parts refer to headlight and rear light

2шт.

120378

NUT,Hex, 1/2" - 13, Gr 5

NUT, 1/2"-13, G5

2шт.

120384

WASHER,1/2"

LOCK, 1/2"

2шт.

27

883140C91

LAMP

LIGHT ASSY, comb work and rear, For service parts refer to headlight and rear light

1шт.

120378

NUT,Hex, 1/2" - 13, Gr 5

NUT, 1/2"-13, G5

2шт.

120384

WASHER,1/2"

LOCK, 1/2"

1шт.

28

829109C91

LIGHT

LAMP, oil pressure indicator, Includes 1-27763R1 lamp

1шт.

27763R1

LAMP,C2F, #1895R, 14V

oil pressure indicator

1шт.

29

829110C91

LIGHT

ASSY, alternator indicator, Includes 1-27763R1 lamp

1шт.

27763R1

LAMP,C2F, #1895R, 14V

alternator indicator

1шт.

30

121629C1

IGNITION SWITCH

SWITCH ASSY, safety starting

1шт.

464623R1

WASHER

.656 x 1.500 x .105

1шт.

31

677221R91

SWITCH

ASSY, key ignition with keys, Includes 619743C1 key assy

1шт.

619743C1

KEY

ASSY, consisting of 2 keys

1шт.

32

376852R91

HOUSING

HOLDER, main and lights fuse

2шт.

223-31

FUSE,10 Amp, Type 3AG

30 amp

2шт.

33

191455R91

SPOOL

COIL ASSY, ignition w/bracket - gas, For service parts refer to ignition coil

1шт.

120376

NUT,5/16"-18, G5

1шт.

120369

NUT,3/8"-24, G5

2шт.

80681

LOCK WASHER,5/16"

WASHER, LOCK, 5/16"

2шт.

120382

LOCK WASHER,Helical Spring, 3/8"

WASHER, LOCK, 3/8"

2шт.

120393

BEARING WASHER,5/16", SAE

WASHER, .344 x .688 x .051

1шт.

469668R1

WASHER

.406 x .750 x .054

2шт.

34

677162R91

GAUGE

ASSY, temperature indicator

1шт.

35

829113C1

SWITCH

light

1шт.

36

827153C1

TEMPERATURE SENDER

GAUGE, water temperature sending - gas

1шт.

37

677163R91

TEMPERATURE SENDER

GAUGE, water temperature sending - diesel

1шт.

38

830602C1

SWITCH

GAUGE, oil pressure sending - gas

1шт.

39

829026C1

SWITCH

GAUGE, oil pressure sending - diesel

1шт.

444331

BUSHING

1/4-18 x 1/8-27 reducer diesel

1шт.

40

299406C1

CLAMP,7/16", Insul, 3/8" Bolt

harness and cable - gas, 3-used diesel

1шт.

413-410

BOLT,Hex, 1/4" - 20 x 5/8", Gr 5

3/8-16 x 5/8 hex-hd

1шт.

120382

LOCK WASHER,Helical Spring, 3/8"

WASHER, LOCK, 3/8"

1шт.

41

299614C1

CLAMP

rear harness - gas

1шт.

42

299404C1

CLAMP

rear harness gov support - gas

1шт.

43

102869

CLAMP, rear harness, For oil pressure wire - diesel

1шт.

44

117960

GROMMET,5/16" ID x .719" x .188"

work and rear light wire

1шт.

45

394473R91

CABLE, flashing light jumper, to provide steady on

1шт.

46

CONNECTOR, cab power supply, For connecting part refer to operators cab wiring

1шт.

Выбрано товаров: 82