Запчасти Case IH 5000 (07-09) - DRIVE TRAIN, FINAL DRIVE AND BRAKE DRUM (04) - Drive Train

Схема запчастей Case IH 5000 - (07-09) - DRIVE TRAIN, FINAL DRIVE AND BRAKE DRUM (04) - Drive Train
FIT
1:1
100%

Артикул

Название

Примечание

Количество

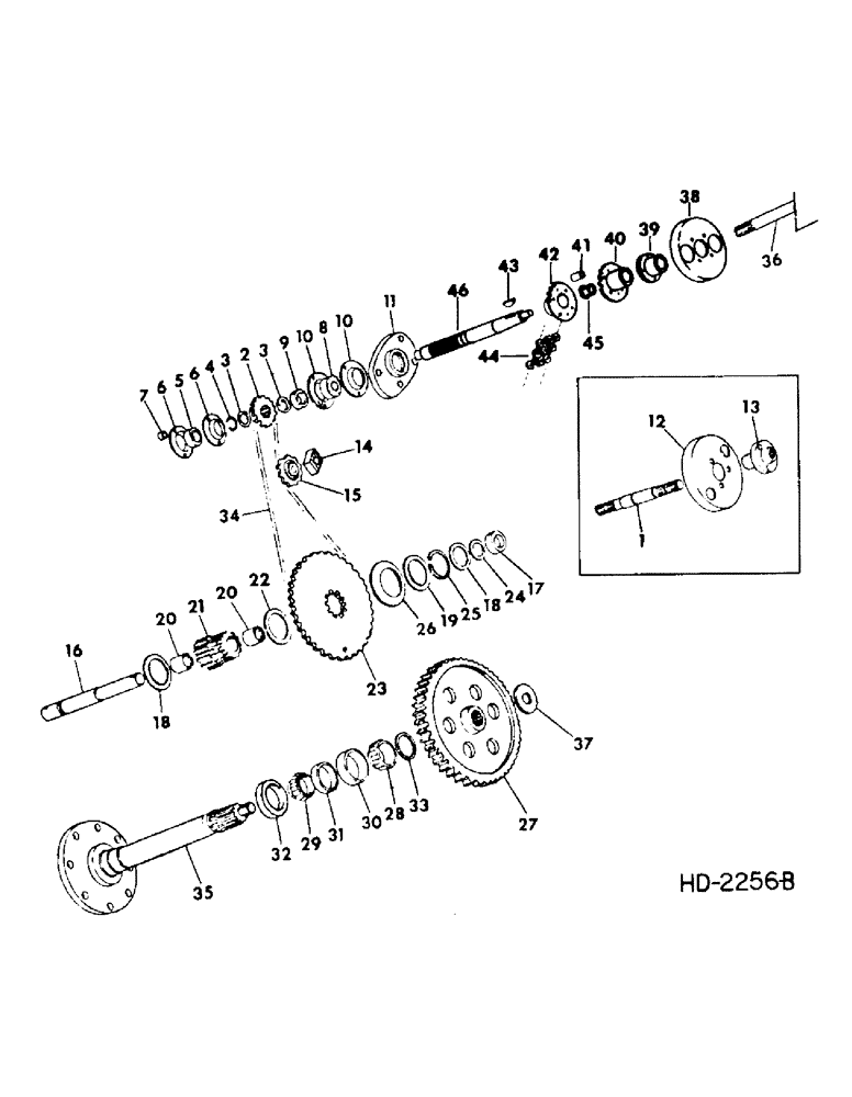
1

SHAFT, final drive input, Order pkg 823145C91

2шт.

2

829546C2

SPROCKET ASSY.

SPROCKET ASSY, 15T final drive, For use on 4000 Windrowers, For use on 5000 Windrowers with fixed single speed hydrostatic motors

2шт.

2

829545C2

SPROCKET, 12T final drive, For use on 5500 Windrowers prior to serial no. 601

2шт.

2

831638C2

SPROCKET ASSY.

SPROCKET ASSY, 11T final drive, For use on 5000 Windrowers with variable two speed hydrostatic motors, For use on 4000-5000 Windrowers w/fixed single speed hydrostatic motors, For use with hillside operation

2шт.

3

591715R1

WASHER

1.031 x 1.500 x .054 (Use as required)

8шт.

4

454417R1

SNAP RING,#100, Ext

Ring, Snap, , outer bearing #100, Ext

2шт.

5

824933C91

BALL BEARING,20mm ID x 47mm OD x 14mm W

BEARING, input shaft outer

2шт.

6

455961R1

BEARING HOUSING,3.5625" OD x 0.3125"

FLANGETTE, bearing

4шт.

7

830081C1

SPACER

bearing

6шт.

434-524

CARRIAGE BOLT,Short NK, 5/16"-18 x 1 1/2", G5

BOLT, 5/16-18 x 1-1/2 crg

6шт.

120376

NUT,5/16"-18, G5

6шт.

491739R1

NUT

5/16-18 hex flange

6шт.

598058R1

SEALING WASHER

sealing

6шт.

619855R1

WASHER

.344 x .750 x .054

6шт.

8

204807C91

BEARING ASSY,25.4mm ID x 52mm OD x 15mm W

BEARING, input shaft

2шт.

9

455102R21

COLLAR

ASSY, bearing

2шт.

10

462360R1

FLANGED BEARING

RETAINER, input shaft bearing

4шт.

11

827679C1

OIL SEAL

input shaft

2шт.

180016

SPRING

1/4-20 x 1/2 hex hd

8шт.

492-11025

LOCK WASHER,1/4"

WASHER, LOCK, 1/4"

8шт.

97865H

WASHER

.281 x .875 x .054

8шт.

12

DRUM, brake, Order pkg 823145C91

2шт.

13

HUB, motor to input shaft coupling, Order pkg 823145C91

2шт.

219-23

LUBE NIPPLE,1/4" - 18 NPTF

FITTING, 1/4-18 ptf str lube

2шт.

102951

SCREW, 3/8-16 x 1 sq hd cone pt set

2шт.

124829

JAM NUT,Hex, 3/8" - 16, Gr 5

2шт.

9635884

BOLT,Hex, 5/16" - 18 1", Full Thd, Gr 5

5/16-18 x 1 hex hd

6шт.

120376

NUT,5/16"-18, G5

6шт.

80681

LOCK WASHER,5/16"

WASHER, LOCK, 5/16"

6шт.

14

827632C1

ADJUSTER

tightener sprocket

2шт.

15

610538R92

SPROCKET ASSY.

SPROCKET ASSY, 15T tightener

2шт.

598820R1

CARRIAGE BOLT,Sq Nk, 5/8" - 11 x 2 1/2", Gr 5

BOLT, 5/8-11 x 2-1/2 carriage

2шт.

280374

NUT,Hex, 5/8" - 11, Gr 5

5/8-11 hex

2шт.

124574

WASHER, 5/8 lock

2шт.

21782R1

WASHER

.656 x 1.500 x .054 (Or as required)

8шт.

130999

WASHER,5/8"

.688 x 1.750 x .108

1шт.

16

827638C1

SHAFT

pinion

2шт.

617942R1

PIN,7.92mm OD x 57.15mm L, Coiled

2шт.

17

828905C1

SPACER

pinion shaft collar

2шт.

617942R1

PIN,7.92mm OD x 57.15mm L, Coiled

2шт.

18

827648C1

WASHER

pinion gear

4шт.

19

829572C1

WASHER

pinion gear

2шт.

20

828966C91

NEEDLE BEARING,31.75 mm ID x 41.288 mm OD x 31.75 mm

pinion gear

4шт.

21

827650C2

GEAR

pinion

2шт.

22

658034C2

RACE

WASHER, pinion gear thrust

2шт.

23

827649C1

SPROCKET ASSY.

SPROCKET, 60T final drive

2шт.

24

608700R1

WASHER

1.281 x 2.000 x .054

4шт.

25

324738R1

SNAP RING,#287, Ext

Ring, Snap, , final drive sprocket #287, Ext

2шт.

26

592956R1

BELLEVILLE WASHER

belleville spring

2шт.

27

366335R1

GEAR

final drive axle

2шт.

28

364463C91

BEARING ASSY,2.0005" ID x 3.2283" OD x 0.875"

CONE, axle inner bearing

2шт.

29

327195R91

BEARING ASSY,2.25" ID x 3.8125" OD x 0.8268"

CONE, axle outer bearing

2шт.

30

364462C1

BEARING CUP,82.55mm OD x 16.51mm W

CUP, axle inner bearing

2шт.

31

105497H

BEARING CUP,96.85mm OD x 15.77mm W

CUP, axle outer bearing

2шт.

32

824878C91

OIL SEAL

axle outer oil

2шт.

33

828887C1

WASHER

bull gear

2шт.

34

CHAIN ASSY, final drive, For use on 4000 & 5000 Windrowers with 15T sprocket w/fixed single speed hydrostatic motors, Use 113 links of 5/8 pitch roller chain from 10 ft roll 1791D and add one connecting link 1310D

2шт.

1310D

LINK

connecting

2шт.

CHAIN ASSY, final drive, For use on 5000 Windrowers with 11T sprocket, For use on 5500 Windrowers with 12T sprocket w/variable two speed hydrostatic motors, For use on 4000-5000 Windrowers with 11T sprocket with fixed single speed hydrostatic motors for use with hillside operation, Use 111 links of 5/8 pitch roller chain from 10 ft roll 1791D and add one connecting link 1310D and 1 offset link 1315D

1шт.

1310D

LINK

connecting

2шт.

1315D

LINK

offset

2шт.

35

827654C91

AXLE

ASSY, final drive, For use on 4000 Windrowers prior to serial no. 3250

2шт.

35

827654C91

AXLE

ASSY, final drive, For use on 5000 Windrowers prior to serial no. 1001, For use on 5500 Windrowers prior to serial no. 601

2шт.

35

831483C91

AXLE

ASSY, final drive, For use on 4000 Windrowers serial no. 3250 and since, For use on 5000 Windrowers serial no. 1001 and since

2шт.

596722R1

NUT

1-1/4 hex sltd

2шт.

NLS

NO LONGER SERVICED

SPLIT (COTTER), 3/16" x 2"

2шт.

566206R2

BOLT,5/8" - 18 x 2.38", Class 8

wheel

16шт.

554480R1

WHEEL NUT

wheel

16шт.

36

MOTOR ASSY, hydrostatic fixed, For use on 4000 & 5000 Windrowers

2шт.

36

MOTOR ASSY, hydrostatic variable, For use on 5000 & 5500 Windrowers, For service parts refer to hydrostatic motors

2шт.

180179

BOLT,Hex, 1/2" - 13 x 1 3/4", Gr 5

1/2-13 x 1-3/4 hex-hd

4шт.

120378

NUT,Hex, 1/2" - 13, Gr 5

NUT, 1/2"-13, G5

4шт.

120384

WASHER,1/2"

LOCK, 1/2"

4шт.

427640

SLOTTED NUT,3/4"-16, G5

NUT, 3/4-16 hex sltted

4шт.

103398

COTTER PIN,5/32" x 1 1/2"

Pin, Split (Cotter), 5/32" x 1 1/2"

4шт.

37

586043R1

WASHER

1.031 x 3.000 x .224

2шт.

38

826084C1

DRUM

brake

2шт.

39

826086C1

HUB

brake drum

2шт.

40

826087C1

SPROCKET ASSY.

SPROCKET ASSY, coupling inner

2шт.

Ref #40 - (22 tooth outer, 13 tooth inner spline) 08/07/96

1шт.

41

826081C1

SPACER

brake drum bolt

8шт.

25234R1

BOLT,Hex, 5/16" - 18 x 2 1/4", Gr 8

5/16 x 2-1/4 phc type 8 brake drum hub and spacer to inner sprocket

8шт.

80681

LOCK WASHER,5/16"

WASHER, LOCK, 5/16"

8шт.

9413994

LOCK NUT,5/16"-18, GC

NUT, 5/16 cad p/t lock type 8

8шт.

42

826090C1

SPROCKET ASSY.

SPROCKET ASSY, coupling outer

2шт.

43

88907

WOODRUFF KEY,#B, 5/16" x 1", HT

5/16 x 1 sae B Woodruff

2шт.

44

CHAIN, final drive coupling, Use 21 links of 5/8 pitch double strand roller chain from a 10 ft roll 1792D & one connecting link 1378D

2шт.

1378D

CHAIN LINK

LINK, #50-2 single pitch connecting

1шт.

45

414089C1

FLANGE NUT,5/8" - 18

NUT, 5/8-18 hex flange

2шт.

46

826085C1

SHAFT

final drive input

2шт.

823145C91

PLUNGER

PACKAGE, final drive coupling field conversion, Composed of ref nos 38 thru 46 & sprocket 829546C2

1шт.

Выбрано товаров: 91