Запчасти Case IH 5000 (07-12) - DRIVE TRAIN, FINAL DRIVE COVERS (04) - Drive Train

Схема запчастей Case IH 5000 - (07-12) - DRIVE TRAIN, FINAL DRIVE COVERS (04) - Drive Train
FIT
1:1
100%

Артикул

Название

Примечание

Количество

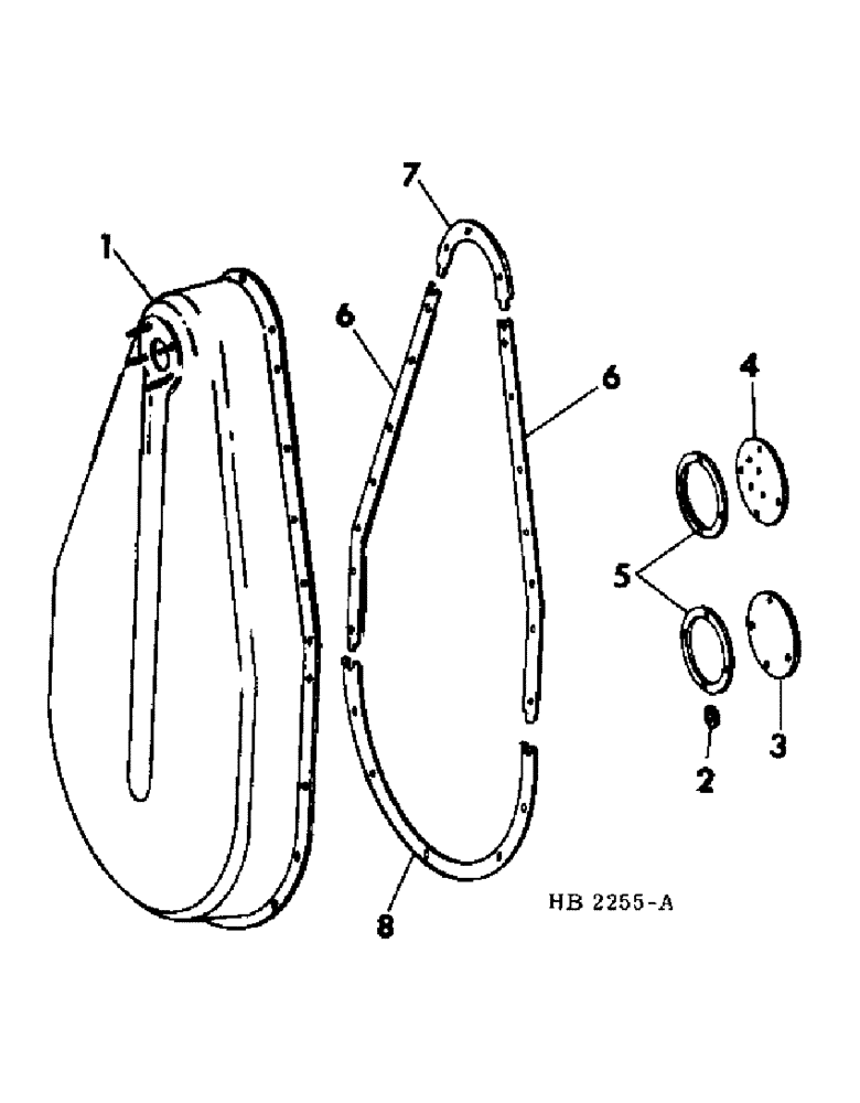
1

827643C2

COVER

ASSY, final drive, Includes 1-827655C1 set

1шт.

120375

NUT,Hex, 1/4" - 20, Gr 5

8шт.

492-11025

LOCK WASHER,1/4"

WASHER, LOCK, 1/4"

8шт.

120386

WASHER

.312 x .734 x .051

8шт.

850677C1

SCREW,Hex Wash Hd, 5/16"-18 x 1/2"

5/16-18 x 1/2 self-tap

46шт.

2

598058R1

SEALING WASHER

sealing

18шт.

3

827673C2

COVER

hand hole

2шт.

535183R2

SELF-TAP SCREW

BOLT, 5/16-18 x 3/4 hex hd flange

8шт.

4

828638C2

COVER

hand hole

2шт.

18437R91

LUBE NIPPLE,1/8"-27 NPT x .50" lg, Press Relief

FITTING, pressure relief

2шт.

535183R2

SELF-TAP SCREW

BOLT, 5/16-18 x 3/4 hex hd flange

8шт.

5

827631C2

GASKET

hand hole cover

4шт.

6

GASKET, cover side, For service order 2-827655C1 set

4шт.

7

GASKET, cover top, For service order 2-827655C1 set

2шт.

8

GASKET, cover bottom, For service order 2-827655C1 set

2шт.

827655C1

GASKET

SET, cover gasket, Consists of

2шт.

NSS

NOT SOLD SEPARAT

GASKET, top

1шт.

NSS

NOT SOLD SEPARAT

GASKET, bottom

1шт.

NSS

NOT SOLD SEPARAT

GASKET, side

2шт.

Выбрано товаров: 19