Запчасти Case IH 5000 (07-22) - DRIVE TRAIN, PROPULSION AND STEERING NEUTRAL INTERLOCK (04) - Drive Train

Схема запчастей Case IH 5000 - (07-22) - DRIVE TRAIN, PROPULSION AND STEERING NEUTRAL INTERLOCK (04) - Drive Train
FIT
1:1
100%

Артикул

Название

Примечание

Количество

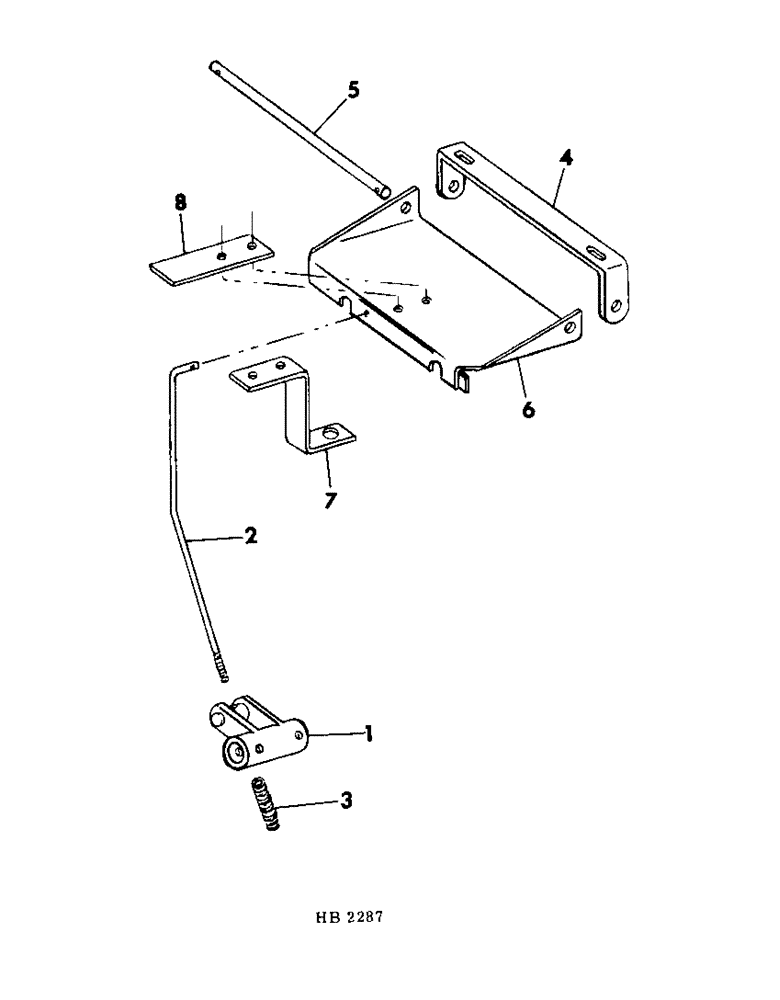
1

829904C1

ARM

ASSY, neutral start

1шт.

19424R1

PIN,3/8" x 1 1/2", Coiled

2шт.

2

829908C1

ROD

neutral start

1шт.

120377

NUT,3/8" - 16, Gr 5

2шт.

610784R1

SPLIT PIN/SAFETY PIN,2.4mm OD x 60.345mm OAL

PIN, Q.A. cotter

1шт.

103384

COTTER PIN,1/8" x 3/4"

Pin, Split (Cotter), 1/8" x 3/4"

2шт.

21872R1

WASHER

.406 x .625 x .054

3шт.

3

M92

SPRING

neutral start rod

1шт.

4

829909C1

CHANNEL

neutral linkage

1шт.

598803R1

CARRIAGE BOLT,Short NK, 5/16"-18 x 1", G5, Full Thd

BOLT, 5/16-18 x 1 crg

1шт.

598804R1

CARRIAGE BOLT,Sht Sq Nk, 5/16" - 18 x 1 1/4", Gr 5

BOLT, 5/16-18 x 1-1/4 crg

1шт.

120376

NUT,5/16"-18, G5

2шт.

80681

LOCK WASHER,5/16"

WASHER, LOCK, 5/16"

2шт.

134238R1

WASHER

.344 x 1.000 x .054

2шт.

5

829902C1

ROD

pivot

1шт.

103384

COTTER PIN,1/8" x 3/4"

Pin, Split (Cotter), 1/8" x 3/4"

2шт.

619856R1

WASHER

.406 x 1.000 x .056

2шт.

6

830868C1

MEMBER

ASSY, interlock

1шт.

7

829124C1

SUPPORT

neutral switch

1шт.

202107C1

BOLT,Hex Serr Flg, 5/16" - 18 x 3/4"

5/16-18 x 3/4 hex hd flange lock

2шт.

938017R1

FLANGE NUT,Flg, USR, 5/16"-18

5/16-18 hex flange lock

2шт.

8

829907C1

BAR

neutral switch

1шт.

180077

BOLT,Hex, 5/16" - 18 x 3/4", Gr 5

5/16-18 x 3/4 hex hd

2шт.

120376

NUT,5/16"-18, G5

2шт.

80681

LOCK WASHER,5/16"

WASHER, LOCK, 5/16"

2шт.

Выбрано товаров: 25